
Item no. 017581

OPERATING INSTRUCTIONS
Important! Read the user instructions carefully before use. Save them for future reference. (Translation of the original instructions)
Jula reserves the right to make changes.
For latest version of operating instructions, see www.jula.com

TECHNICAL DATA
| Size | 150 x 60 x 49 mm |
| Hole diameter | Ø 4 mm |
DESCRIPTION
Window stays for inward opening windows that can be put in different ventilation positions. Supplied with fittings.
FITTING
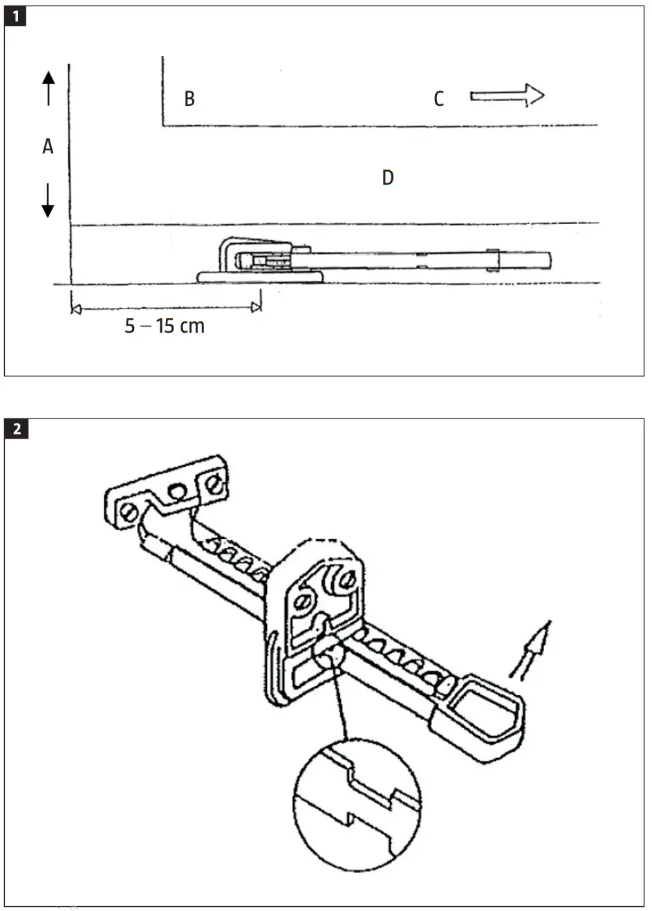
- Fit the stay at a distance of 5-15 cm from the window frame as shown in the adjacent diagram (A. Frame, B. Pane, C. Hinge side, D. Casement).
FIG. 1 - The opening arm should be placed so that it can be folded against the hinge side on the window, which also means that the gap on the fastener should be aligned with the hinge side Make sure that the pins in the fastener comes in the middle behind the arm wedge.
NOTE:
If fitted according to these instructions there will be a maximum opening of 10 cm.
USE
RELEASING THE OPENING ARM
- Push out the window until the pins in the fastener comes opposite the recesses on the arm.
- Push out the bar in the direction of the arrow. FIG. 2
NOTE:
Closing the window automatically resets the window stay.
JULA AB, BOX 363, SE-532 24 SKARA
2021-09-15
© Jula AB



















