
PORTABLE AM/FM RADIO with Bluetooth
OWNER’S MANUAL
PRR1005BT Portable AM/FM Radio with Bluetooth
PLEASE READ BEFORE OPERATING THIS EQUIPMENT.
MODEL: PRR1005BT
WARNINGS
TO PREVENT FIRE OR SHOCK HAZARD, DO NOT USE THIS PLUG WITH AN EXTENSION CORD, RECEPTACLE OR OTHER OUTLET UNLESS THE BLADES CAN BE FULLY INSERTED TO PREVENT BLADE EXPOSURE. TO PREVENT FIRE OR SHOCK HAZARD, DO NOT EXPOSE THIS APPLIANCE TO RAIN OR MOISTURE.
The lightning flash and arrow head within the triangle is a warning signs alerting you of “dangerous voltage” inside the product.
CAUTION
RISK OF ELECTRIC SHOCK DO NOT OPEN
CAUTION: TO REDUCE THE RISK OF ELECTRIC SHOCK DO NOT REMOVE THE COVER (ON BACK), NO USER-SERVICEABLE PARTS INSIDE. REFER SERVICING TO QUALIFIED SERVICE PERSONNEL.
The exclamation point within the triangle is a warning sign alerting you of important instructions accompanying the product.
IMPORTANT SAFETY INSTRUCTIONS
- Read these instructions.
- Keep these instructions.
- Heed all warnings.
- Follow all instructions.
- Do not use this apparatus near water.
- Cleaning-Unplug this product from the wall outlet before cleaning. Do not use liquid cleaners or aerosol cleaners. Clean only with dry cloth.
- Do not block any ventilation openings. Install in accordance with the manufacturer’s instructions.
- Do not install near any heat sources such as radiators, heat registers, stoves, or other apparatus (including amplifiers) that produce heat.
- Do not defeat the safety purpose of the polarized or grounding-type plug. A polarized plug has two blades one wider than the other. A grounding-type plug has two blades and a third grounding prong. The wide blade or the third prong is provided for your safety. If the provided plug does not fit into your outlet, consult an electrician for the replacement of the obsolete outlet.
- Protect the power cord from being walked on or pinched particularly at plugs, convenience receptacles, and the point where they exit from the apparatus.
- Only use attachments/accessories specified by the manufacturer.
- Unplug this apparatus during lightning storms or when unused for long periods of time.
- Refer all servicing to qualified service personnel. Servicing is required when the apparatus has been damaged in any way, such as the power-supply cord or plug is damaged, liquid has been spilled or objects have fallen into the apparatus, the apparatus has been exposed to rain or moisture, does not operate normally, or has been dropped.
- Power Sources – This product should be operated only from the type of power source indicated on the marking label. If you are not sure of the type of power supply to your home, consult your product dealer or local power company. For products intended to operate from battery power, or other sources, refer to the operating instruction.
- Object and Liquid Entry – Never push objects of any kind into this product through openings as they may touch dangerous voltage points or short-out parts that could result in a fire or electric shock. Never spill liquid of any kind on the product.
- Damage Requiring Service – Unplug this product from the wall outlet and refer servicing to qualified service personnel under the following conditions:
a) When the power-supply cord or plug is damaged,
b) If liquid has been spilled, or objects have fallen into the product,
c) If the product has been exposed to rain or water,
d) If the product does not operate normally by following the operating instructions. Adjust only those controls that are covered by the operating instructions as an improper adjustment of other controls may result in damage and will often require extensive work by a qualified technician to restore the product to its normal operation.
e) If the product has been dropped or damaged in any way, and
f) When the product exhibits a distinct change in performance – this indicates a need for service. - To be completely disconnected the power input, the mains plug of the apparatus shall be disconnected from the mains.
- The mains plug is used as a disconnect device. The mains plug of the apparatus should not be obstructed OR should be easily accessed during intended use.
COMPLIANCE WITH FCC REGULATIONS
This equipment has been tested and found to comply with the limits for a radio receiver, pursuant to Part 15 of the FCC Rules. These limits are designed to provide reasonable protection against harmful interference in a residential installation. This equipment generates, uses, and can radiate radio frequency energy and, if not installed and used in accordance with the instructions, may cause harmful interference to radio communications. However, there is no guarantee that interference will not occur in a particular installation. If this equipment does cause harmful interference to radio or television reception, which can be determined by turning the equipment off and on, the user is encouraged to try to correct the interference by one or more of the following measures:
- Reorient or relocate the receiving antenna.
- Increase the separation between the equipment and receiver.
- Connect the equipment into an outlet on a circuit different from that to which the receiver is connected.
- Consult the dealer or an experienced radio technician for help.
Any Changes or modifications not expressly approved by the party responsible for compliance could void the user’s authority to operate the equipment.
LOCATION AND DESCRIPTION OF CONTROLS


- Speaker
- Power ON/OFF Switch
- Dial Mark
- Swivel FM Telescopic Antenna
- Bluetooth/FM/AM/BT Mode Switch
- Battery Compartment
- Carrying Handle
- Tuning Knob
- AC/DC Adapter Power in Jack
- Volume Control Knob
- AUX IN Jack
POWER SUPPLY
Plug the included AC/DC power adapter (120V 60Hz 5V/400mA) into the AC Jack on the side of the unit and the other end is plugged into the wall outlet.

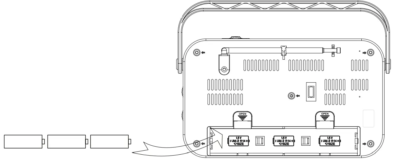
BATTERY OPERATION
- Remove the Batteries Compartment Door.
- Install 3 x DC1.5 V “C” Size (UM-2) batteries (not included) according to the polarity diagram inside the battery compartment.
- Replace the Batteries Compartment Door.

LISTENING TO THE RADIO
- Use the Mode Selector to choose the AM or FM band.
- Toggle the Power ON/OFF Switch to ON
- Use the tuning knob to tune to your desired radio station.
- Adjust the volume level.
HINTS FOR BEST RECEPTION:
AM – The AM antenna is located inside the cabinet of the unit. If AM reception is weak, change the position of unit until the internal antenna picks up the strongest signal.
FM – To insure maximum FM tuner reception, fully extend the FM telescopic antenna and rotate it for the best FM radio reception.
LISTENING TO AN AUXILIARY AUDIO SOURCE
This unit provides an auxiliary audio signal input jack for connecting external audio devices like MP3 players, CD players, and iPods (except iPod shuffle 3rd generation) and listening to your external source through the speakers of this system.
- You need an audio cable (not included) with one 3.5 mm stereo plug on each end of the cable.
- Plug one end of the cable into the AUX-IN jack located on the right-hand side of the unit and the other end of the cable into the Line-out Jack or Headphone Jack of your external audio device.
- Turn on the external audio device.
- Turn on your unit by toggling the Power ON/OFF Switch to ON.
- The volume level can now be controlled through the volume control of your radio. Operate all other functions on the auxiliary device as usual.
Note:
- If you connected the Line-out Jack of your external device then you only need to adjust the volume control of this system. If you connected the Headphone Jack of your external device then you may need to adjust both the volume control of your external device and the volume control of this system to find the most desirable volume setting.
- Remove the audio cable from AUX IN jack when you finish listening. Don’t forget to switch off the power on your external device as well.
BLUETOOTH OPERATION
If the unit has never been paired with a Bluetooth device before, you need to follow the pairing instructions below to link the PRR1005BT with your Bluetooth device.
- Use the Mode Selector to choose BT into Bluetooth Mode.
- Toggle the Power ON/OFF Switch to ON.
- The unit will goes into Pairing/Discoverable mode.
- Turn on the Bluetooth function of your Bluetooth device and enable the search or scan function to find the unit.
- Select “PRR1005BT” from the device list when it appears on your device screen. If required, enter the passcode “0000” or “1234” to pair (link) the unit with your device.
- After successfully pairing (linking) the Bluetooth-enabled device a short beep will be heard.
- Adjust the volume level to your desired volume level.
Note: If you can’t pair the unit with your Bluetooth enabled device, you can try to turn Off & On the power of your unit to solve the problem.
SPECIFICATIONS
| POWER SUPPLY | AC – 120V~ 60Hz, 5W DC – 3 x1.5V |
| FREQUENCY RANGE | FM 87.5 -108 MHz AM 520 -1710 kHz |
| BLUETOOTH VERSION | Version 5.0 |
| ACCESSORIES | 1 X Owner’s Manual 1 X AC/AC Power Adapter |
TROUBLESHOOTING GUIDE
| Symptom | Possible Cause | Solution |
| Noise or sound distorted on AM or FM broadcast. | Station not tuned properly for AM or FM. FM: Telescopic antenna is not extended. AM: The bar antenna is not positioned correctly. | Retune the AM or FM broadcast station. Fully extend the FM telescopic antenna. Reposition the unit until the best reception is obtained. |
| AM or FM no sound. | Unit not set to AM or FM band. Volume at minimum. | Slide the band selector to AM or FM position. Increase Volume. |
PHC Americas, LLC (“PHC Americas”) warrants this product against defects in material or workmanship for the time periods and as set forth below when purchased directly from PHC Americas or a PHC Americas Retailer. Pursuant to this Limited Warranty, PHC Americas will, at its option, (i) repair the product using new or refurbished parts, (ii) replace the product with a new or refurbished product, or (iii) recommend you return it to the retailer for exchange or refund. For purposes of this Limited Warranty, “refurbished” means a product or part that has been returned to its original specifications. In the event of a defect, these are your exclusive remedies.
Parts & Labor: For a period of six (6) months from the original date of purchase of the product, PHC Americas will, at its option, repair or replace with a new or refurbished product, a product determined to be defective.
Instructions: To obtain warranty service, you must deliver the product, freight prepaid, in either its original packaging or packaging affording an equal degree of protection to the PHC Americas service facility. A dated purchase receipt from PHC Americas or a PHC Americas Retailer is required. For specific instructions on how to obtain warranty service for your product,
| Visit Web Site: | www.Philco.US |
| Email us: | [email protected] |
| Call us: | 1-888-718-4525 |
This Limited Warranty shall apply to any repair, replacement part or replacement product for the remainder of the original Limited Warranty period or for six (6) months, whichever is longer. Any parts or products replaced under this Limited Warranty will become the property of PHC Americas. This Limited Warranty only covers product issues caused by defects in material or workmanship during ordinary consumer use; it does not cover product issues caused by any other reason, including but not limited to product issues due to commercial use, acts of God, misuse, limitations of technology, or modification of or to any part of the PHC Americas product or product purchased from other than PHC Americas or a PHC Americas Retailer.
This Limited Warranty does not cover PHC Americas products sold AS IS or WITH ALL FAULTS or consumables (such as fuses or batteries).
This Limited Warranty is invalid if the factory-applied seal has been altered or removed from the product.
This Limited Warranty is valid only in the United States and Canada. LIMITATION ON DAMAGES: PHC
AMERICAS SHALL NOT BE LIABLE FOR ANY INCIDENTAL OR CONSEQUENTIAL DAMAGES FOR BREACH OF ANY EXPRESS OR IMPLIED WARRANTY ON THIS PRODUCT. DURATION OF IMPLIED WARRANTIES: EXCEPT TO THE EXTENT PROHIBITED BY APPLICABLE LAW, ANY IMPLIED
WARRANTY OF MERCHANTABILITY OR FITNESS FOR A PARTICULAR PURPOSE ON THIS PRODUCT IS LIMITED IN DURATION TO THE DURATION OF THIS WARRANTY.
Some states do not allow the exclusion or limitation of incidental or consequential damages or allow limitations on how long an implied warranty lasts, so the above limitations or exclusions may not apply to you. This Limited Warranty gives you specific legal rights and you may have other rights which vary from state to state.



















