PHILCO PBC2010BT Bluetooth CD Boombox with Cassette and FM or FM Radio

SAFETY INSTRUCTIONS
CAUTION: TO REDUCE THE RISK OF ELECTRIC SHOCK, DO NOT REMOVE THE COVER (OR BACK). N USER-SERVICEABLE PARTS INSIDE. REFER SERVICING TO QUALIFIED SERVICE PERSONNEL.
DANGEROUS VOLTAGE
The lightning flash with the arrowhead symbol, within an equilateral triangle, is intended to alert the user to the presence of uninsulated dangerous voltage within the product’s enclosure that may be of sufficient magnitude to constitute a risk of electric shock to persons.
ATTENTION
The exclamation point within an equilateral triangle is intended to alert the user to the presence of important operating and maintenance (servicing) instructions in the literature accompanying the appliance.
DANGER
Invisible and hazardous laser radiation when open and interlock failed or defeated. Avoid direct exposure to the beam.
FCC WARNING
This equipment may generate or use radio frequency energy. Changes or modifications to this equipment may cause harmful interference unless the modifications are expressly approved in the instruction manual. The user could lose the authority to operate this equipment if an unauthorized change or modification is made.
SURGE PROTECTORS
It is recommended to use a surge protector for the AC connection. Lightning and power surges ARE NOT covered under warranty for this product.
LASER SAFETY: This unit employs a laser. Only qualified service personnel should attempt to service this device due to possible eye injury.
CAUTION: USE OF CONTROLS, ADJUSTMENTS, OR PERFORMANCE PROCEDURES HEREIN MAY RESULT IN HAZARDOUS RADIATION EXPOSURE.
INFORMATION
This equipment has been tested and found to comply with the limits for a Class B digital device, pursuant to Part 15 of the FCC Rules. These limits are designed to provide reasonable protection against harmful interference in a residential installation. This equipment generates, uses, and can radiate radio frequency energy and, if not installed and used in accordance with the instructions, may cause harmful interference to radio communications. However, there is no guarantee that interference will not occur in a particular installation. If this equipment does cause harmful interference to radio or television reception, which can be determined by turning the equipment off and on, the user is encouraged to try to correct the interference by one or more of the following measures:
- Reorient or relocate the receiving antenna.
- Increase the separation between the equipment and the receiver.
- Connect the equipment to an outlet on a circuit different from that to which the receiver is connected.
- Consult the dealer or an experienced radio/TV technician for help.
Before using the unit, be sure to read all operating instructions carefully. Please note that these are general precautions and may not pertain to your unit. For example, this unit may not have the capability to be connected to an outdoor antenna.
- READ INSTRUCTIONS
All the safety and operating instructions should be read before the product is operated. - RETAIN INSTRUCTIONS
The safety and operating instructions should be retained for future reference. - HEED WARNINGS
All warnings on the product and in the operating instructions should be adhered to. - FOLLOW INSTRUCTIONS All operating and use instructions should be followed.
- CLEANING
Unplug this product from the wall outlet before cleaning. Do not use liquid cleaners or aerosol cleaners. Use a dry cloth for cleaning. - ATTACHMENTS
Do not use attachments not recommended by the product’s manufacturer as they may cause hazards. - WATER AND MOISTURE
Do not use this product near water-for example: near a bathtub, washbowl, kitchen sink, or laundry tub; in a wet basement; or near a swimming pool. - ACCESSORIES
Do not place this product on an unstable cart, stand, tripod, bracket, or table. The product may fall, causing serious injury and serious damage to the product. Use only with a cart, stand, tripod, bracket or table recommended by the manufacturer or sold with the product. Any mounting of the product should follow the manufacturer’s instructions and should use a mounting accessory recommended by the manufacturer. An appliance and cart combination should be moved with care. Quick stops, excessive force, and uneven surfaces may cause the appliance and cart combination to overturn.
- VENTILATION
Slots and openings in the cabinet and in the back or bottom are provided for ventilation, to ensure reliable operation of the product and to protect it from overheating. These openings must not be blocked or covered. The openings should never be blocked by placing the product on a bed, sofa, rug or other similar surface. This product should never be placed near or over a radiator or heat source. This product should not be placed in a built-in installation such as a bookcase or rack unless proper ventilation is provided or the manufacturer’s instructions have been adhered to. - POWER SOURCES
This product should be operated only from the type of power source indicated on the marking label. If you are not sure of the type of power supply to your home, consult your appliance dealer or local power company. For products intended to operate from battery power, or other sources, refer to the operating instructions. - GROUNDING OR POLARIZATION
This product is equipped with a polarized alter- nating-current line plug (a plug having one blade wider than the other). This plug will fit into the power outlet only one way. This is a safety feature. If you are unable to insert the plug fully into the outlet, try reversing the plug. If the plug should still fails to fit, contact your electrician to replace your obsolete outlet. Do not defeat the safety purpose of the polarized plug - POWER-CORD PROTECTION
Power-supply cords should be routed so that they are not likely to be walked on or pinched by items placed upon or against them, paying particular attention to cords at plugs, convenience receptacles, and the point where they exit from the appliance. - LIGHTNING
To protect your product from a lightning storm, or when it is left unattended and unused for long periods of time, unplug it from the wall outlet and disconnect the antenna or cable system. This will prevent damage to the product due to lightning and power-line surges. - POWER LINES
An outside antenna system should not be located in the vicinity of overhead power lines or other electric light or power circuits, or where it can fall into such power lines or circuits. When installing an outside antenna system, extreme care should be taken to keep from touching such power lines or circuits as contact with them might be fatal. - OVERLOADING
Do not overload wall outlets and extension cords as this can result in a risk of fire or electric shock. - OBJECT AND LIQUID ENTRY
Never push objects of any kind into this product through openings as they may touch dangerous voltage points or short out parts that could result in fire or electric shock. Never spill or spray any type of liquid on the product. - OUTDOOR ANTENNA GROUNDING
If an outside antenna is connected to the prod- uct, be sure the antenna system is grounded so as to provide some protection against voltage surges and built-up static charges. Section 810 of the National Electric Code, ANSI/NFPA 70, provides information with respect to proper grounding of the mast and supporting structure, grounding of the lead-in wire to an antenna dis- charge product, size of grounding conductors, location of antenna discharge product, connec- tion to grounding electrodes and requirements for around electrodes.
- SERVICING
Do not attempt to service this product yourself as opening or removing covers may expose you to dangerous voltage or other hazards. Refer all servicing to qualified service personnel. - REPLACEMENT PARTS
When replacement parts are required, be sure the service technician uses replacement parts specified by the manufacturer or those that have the same characteristics as the original part. Unauthorized substitutions may result in fire, electric shock or other hazards. - SAFETY CHECK
Upon completion of any service or repairs to this product, ask the service technician to perform safety checks to determine that the product is in proper operating condition. - WALL OR CEILING MOUNTING
The product should be mounted to a wall or ceil- ing only as recommended by the manufacturer. - DAMAGE REQUIRING SERVICE
Unplug the product from the wall outlet and refer servicing to qualified service personnel under the following conditions:- When the power-supply cord or plug is damaged.
- If liquid has been spilled or objects have fallen into the product.
- If the product has been exposed to rain or water.
- If the product does not operate normally by following the operating instructions. Adjust only those controls that are covered by the operating instructions, as an adjustment of other controls may result in damage and will often require extensive work by a qualified technician to restore the product to its normal operation.
- If the product has been dropped or the cabinet has been damaged.
- When the product exhibits a distinct change in performance this indicates a need for a cervice.
- HEAT
The product should be situated away from heat sources such as radiators, heat registers, stoves, or other products (including amplifiers) that pro- duce heat. - NOTE TO CATV SYSTEM INSTALLER
This reminder is provided to call the CATV sys- tem installer’s attention to Article 820-40 of the NEC that provides guidelines for proper ground- ing and, in particular, specifies that the cable ground shall be connected to the grounding system of the building, as close to the point of cable entry as practical. - Any Changes or modifications not expressly approved by the party responsible for compliance could void the user’s authority to operate the equipment.
FCC STATEMENT
This device complies with Part 15 of the FCC Rules.
Operation is subject to the following two conditions:
- this device may not cause harmful interference, and
- this device must accept any interference received, including interference that may cause undesired operation.
Note: This equipment has been tested and found to comply with the limits for a Class B digital device, pursuant to part 15 of the FCC Rules. These limits are designed to provide reasonable protection against harmful interference in a residential installation. This equipment generates uses and can radiate radio frequency energy and, if not installed and used in accordance with the instructions, may cause harmful interference to radio communications. However, there is no guarantee that interference will not occur in a particular installation. If this equipment does cause harmful interference to radio or television reception, which can be determined by turning the equipment off and on, the user is encouraged to try to correct the interference by one or more of the following measures:
- Reorient or relocate the receiving antenna.
- Increase the separation between the equipment and the receiver.
- Connect the equipment to an outlet on a circuit different from that to which the receiver is connected.
- Consult the dealer or an experienced radio/TV technician for help.
This equipment complies with FCC radiation exposure limits set forth for an uncontrolled environment. This equipment should be installed and operated with a minimum distance of 20cm between the radiator & your body.
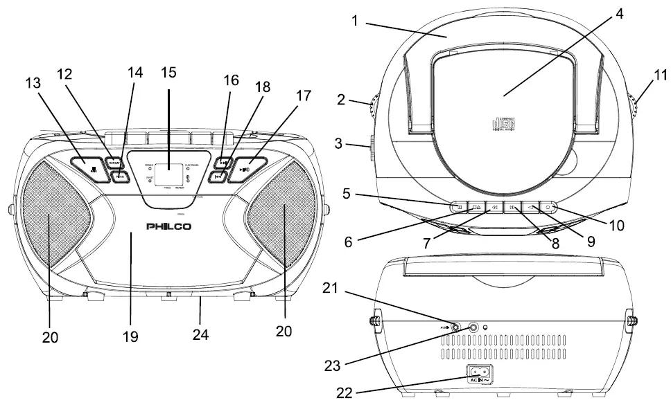
FEATURES AND CONTROLS

- Carry Handle.
- Volume Control
- Function Switch (OFF/TAPE, CD/AUX, FM, AM)
- CD Door
- Cassette Pause Button
- Cassette Stop / Eject Button
- Cassette Fast Forward Button
- Cassette Rewind Button
- Cassette Play Button
- Cassette Record Button
- Radio Tuning Control
- CD Repeat Button
- CD Stop / Bluetooth Pair Button
- CD Program Button
- CD LED Display
- CD Skip/Search Forward Button
- CD Play/Pause / Bluetooth Mode Button
- CD Skip/Search Backward Button
- Cassette Door
- Speaker
- AUX IN Jack (Audio Line In)
- AC Power Cord Jack
- Earphone / Headphone Jack
- Battery Compartment Door
IMPORTANT NOTES
Avoid installing the unit in the locations described below:
- Places exposed to direct sunlight or close to heat-radiating appliances such as electric heaters.
- Dusty places.
- Places subject to constant vibration.
- Humid or moist places.
POWER SOURCES
This unit operates on 120V~ 60Hz or 6 x DC1 .5V ·c· Size (UM-2) batteries. Do not attempt to operate the product on any other power source. You could cause damage to the unit and void your warranty. Please be sure the power outlet you plug this unit into is working and receives constant (un-switched) power.
AC OPERATION
- When the AC power cord (included) is connected to the AC Power Socket on the back of the unit and the other end is plugged into an AC 120V – 60Hz wall outlet, the unit will disconnect from the batteries and automatically, and operate on AC Power only.
- Slide the Function Switch to your desired play mode or to the OFF/TAPE selection to tum off.

BATTERY OPERATION
- Remove the Batteries Compartment Door.
- Install 6 x DC1 .5V •c• Size (UM-2) batteries (not included} according to the polarity diagram inside the battery compartment.
- Replace the Batteries Compartment Door.

IMPORTANT
- Be sure that the batteries are installed correctly.
- The wrong polarity may damage the unit and void the warranty.
- For best performance and longer operating time, we recommend the use of good quality alkaline-type batteries.
LED DISPLAY INDICATOR

| 1. Power Indicator | 4. CD Play Indicator |
| 2. FM Stereo Indicator | 5. CD Repeat Indicator |
| 3. CD Program Indicator | 6. Bluetooth Indicator |
OPERATIONS
BLUETOOTH OPERATION
If the unit has never been paired with a Bluetooth device before, you need to follow the pairing instructions below to link the PBC201 0BT with your Bluetooth device.
- Slide the Function Switch to the CD/BT/AUX/OFF/TAPE position.
- Press CD Play/Pause/Bluetooth Button twice to turn on Bluetooth Mode. BLUETOOTH indicator lit.
- Press and hold the STOP/PAIR Button for 4~5 seconds. Then the BLUETOOTH Indicator is flashing, the unit will go into Pairing/Discoverable mode.
- Turn on the Bluetooth function of your Bluetooth device and enable the search or scan function to find the unit.
- Select “PBC201 0BT” from the device list when it appears on your device screen. If required, enter the passcode “0000” or “1234” to pair (link) the unit with your device.
- After successfully pairing (linking) the Bluetooth-enabled device the BLUETOOTH indicator steadily and a short beep will be heard.
Note: If you can’t pair the unit with your Bluetooth-enabled device, you can try to turn Off & On the power of your unit to solve the problem.
RADIO OPERATION
- Slide the Function Switch to the AM or FM position for your desired radio band.
- Rotate the Tuning Control to your desired radio station according to the dial scale on the Tuning Control knob.
- Rotate the Volume Control to adjust to the desired volume level.
- To turn off the radio, slide the Function Switch to the OFF/TAPE position.
TIPS FOR BEST RECEPTION
The AM/FM antenna is located inside the cabinet of the unit. If the AM/FM reception is weak, change the position or location of the unit or try placing the unit near a window until you get the best reception.
CD OPERATION
NOTE: This unit not only plays commercial compact discs but also self-compiled CD-R and CD-RW discs. This unit is not compatible with MP3 format.
- Because of the non-standardized format definition/production of CD-R/RW, playback quality & performance are not guaranteed.
- The manufacturer is not responsible for the playability of CD-R/RW due to recording conditions such as PC performance, writing software, media properties, etc.
- Do not attach a label or seal to either side of the CD-R/RW disc. It may cause a malfunction.
PLAY MODE
- Slide the Function Switch to the CD/AUX position.
- Open the CD DOOR, load a CD with the label side facing upward, and then close the CD door.
- Disc information (total number of tracks) will appear on the LED Display.
- Press the CD Play/Pause Button to start playing the CD, the CD Play Indicator light will stay solid.
- While playing, press the CD Play/Pause Button to pause and the CD Play Indicator light will start to blink. Press the CD Play/Pause Button again to resume playing.
- Adjust the Volume Control to the desired volume level.
- Press the CD Stop Button to stop playing.
- To turn off the CD player, slide the Function Switch to the OFF/TAPE position.
NOTE: If skipping occurs during CD playback, try turning the volume down. Check the CD to ensure it is not scratched or damaged. Do not open the CD Door while a CD is playing.
REPEAT MODE
Repeat 1
When the CD Repeat Button is pressed once, the CD Repeat Indicator light will illuminate and blink continuously. The current track will be repeated.
Repeat All
When the CD Repeat Button is pressed twice, the CD Repeat Indicator light will stay solid. The whole disc will be played continuously.
Canceling the Repeat Function
Press the CD Repeat Button until the repeat indicator light is off.
SKIP AND SEARCH MODE
- During Play or Pause mode, tap the CD Skip/Search Forward or CD Skip/Search Backward Button to go to the next track or go back to the beginning of the current/previous track.
- During play mode or pause mode, press and hold the CD Skip/Search Forward or CD Skip/Search Backward Button to search within the current track with audible high-speed playback.
PROGRAM PLAY MODE
This function allows music tracks to be played in a programmed sequence.
NOTE: The program can only be set in STOP mode.
- Press the CD Program Button once. Both “01” in the CD LED Display and the CD Program Indicator light will blink.
- Press the CD Skip/Search Forward or CD Skip/Search Backward Button to select the track to be programmed first.
- Press the CD Program Button again to store the selection. The CD LED Display will advance to “02” and blink to prompt for the next track to be entered.
- You may repeat steps #2 to #3 to program up to 20 tracks. As soon as you have entered the 2oth track, the CDLED Display will automatically show the programmed tracks one by one in their correct sequence starting from the first selection. At the end of the program review, “01” in the CD LED Display and CD Program Indicator light will both flash.
- Press the CD Play Button to complete and start the programmed sequence. Press the CD Stop Button to stop.
- Normally, all the programmed tracks will be played through once and then stop, however, you may use the CDrepeat functions noted above. You may also tap the CD Skip/Search Forward Button to go directly to the other track(s) ahead during the programmed sequence or the CD Skip/Search Backward Button to go back to
the previous track(s). - To cancel the programmed sequence, press the CD Stop Button twice while the program playback is running.
CASSETTE PLAYER/ RECORDER OPERATION
Play Mode
- Slide the Function Switch to the OFF/TAPE position.
- Press the Cassette Stop/Eject Button to open the Cassette Door, insert a pre-recorded cassette tape with the exposed tape facing upwards and close the Cassette Door.
- Press the Cassette Play Button to play the cassette tape and adjust the Volume Control to the desired volume level. To pause playback, press the Cassette Pause Button.
- While the tape is stopped, press the Cassette Fast Forward Button or the Cassette Rewind Button to fast forward or rewind the tape. Press the Cassette Stop Button when finished.
- When the tape reaches the end while playing, the unit will automatically stop.
Recording Mode
This unit can record from the AM/FM Radio, CD, or Aux-in (audio line-in) mode. With a blank cassette tape inserted, slide the Function Switch to the CD/AUX, FM or AM position. While listening to the Radio, CD, or Aux-in (audio line in) mode, press the Record Button and the tape will start to record.
NOTE: Always press the Cassette Stop Button with every cassette operation. While playing a cassette tape and you wish to rewind or fast forward, press the Cassette Stop Button first then the Cassette Fast Forward Button or the Cassette Rewind Button. The same goes for the cassette recording mode.
AUX IN OPERATION
This player features an Aux-in (audio line-in) jack for connecting your smartphone, MP3 player, or other digital music player.
- Connect an Aux-in / audio line-in cable (not included) from your external device to the AUX IN Jack.
- Slide the Function Switch to the CD/AUX position. It will enter the Aux-in function mode once an external device is plugged into the Aux-in jack.
- Start to play your music from the external audio device.
- Slowly adjust both volume controls on the unit and the external device.
- Disconnect the external device when finished listening and turn off the unit.
NOTE: Once the AUX IN jack is plugged in, the CD player will automatically enter the AUX function mode. Remember to disconnect the cable from the product after use in order to be able to listen to the CD player again.
EARPHONE/ HEADPHONE OPERATION
Insert the plug of your earphones or headphones into the Earphone / Headphone Jack and this will enable you to listen to the CD, Cassette, or Radio in private. While using earphones/headphones, the built-in speakers will be disconnected.
CAUTION: Avoid excessive volume levels for long periods of time when using earphones/headphones. Prolonged use at high levels may impair your hearing. Keep the volume at a reasonable level even if your headset is an open-air type designed to allow you to hear outside sounds.
CARE AND MAINTENANCE
- Children should be supervised when using this product.
- Never wrap the earphone cable, power cord, or AUX IN cable around any animal or person. Special care should be taken with long wires.
- Clean your unit with a dry (never wet) cloth. Solvent or detergent should never be used.
- Avoid leaving your unit in direct sunlight or in hot, humid, or dusty places.
- Keep your unit away from heating appliances and sources of electrical noise such as fluorescent lamps or motor.1.
- If drop-outs or interruptions occur in the music during CD play, or if the CD fails to play at all, its bottom surface may require cleaning. Before playing, wipe the disc from the center outwards with a good soft cleaning cloth.

About Cassette Tapes
Whenever you record on a cassette tape, any previously recorded material is erased as the new material is recorded. To prevent you from accidentally erasing material that you wish to save, blank cassette tapes are equipped with erase prevention tabs for each side of the tape. If the erase prevention tab for side A Is removed, you cannot accidentally record on side A. The Cassette Record Button cannot be pressed If the erase prevention tab on the cassette tape has been removed. To prevent accidental erasing on side A of a cassette tape, use a small screwdriver or similar tool to break off the erase prevention tab for side A as shown in below illustration number 1. This prevents the record key from locking. If you later wish to record on side A of the cassette tape, cover the tab opening with a piece of thin clear tape. This will allow us to record again.

Cassetta Tape Care
The two most common issues experienced when using cassette tapes are:
- Tape Jamming – Leading to uneven speed in playback.
- Tape Tangling – Where the tape wraps itself around vital parts of the mechanism.
To prevent these issues from occurring, the following precautions should be observed:
- Check that there are no loose layers or extra slack of tape visible through the cassette center window (see Fig. 1 ). Take up any loose layers or extra slack by using a pencil or hexagonal barreled ballpoint pen before Inserting the cassette into the machine (see Fig.2).

- If the cassette feels tight while performing the operation shown (see Fig.2), the tape may be jamming due to ridges formed in the winding of the tape (visible through the center window). These may be removed, in most cases, by fast-forwarding or rewinding the cassette tape from one end to the other and back again.
- It is recommended to only use well-known brands of cassette tapes. Avoid using C-120 cassette tapes.
- Furthermore, do not expose cassette tapes to direct sunlight, dust, or oil, and do not touch the tape surfaces.
HEAD CLEANING
The tape heads, pinch roller, and capstan require periodic cleaning. This removes particles of the metal oxide coating that wears off the cassette tapes and accumulates on these parts and impairs performance. To clean these cassette player parts, tum the power off and open the Cassette Door. Using a cotton swab or cotton pad dampened with isopropyl alcohol or cassette tape head cleaner solution, gently clean these cassette player parts.

TROUBLESHOOTING GUIDE
| Noise or sound distorted on AM or FM broadcast | – Station not tuned properly for AM or FM. | – Retune the AM or FM broadcast station. – Reposition the unit until the best reception is obtained. |
| AM or FM no sound | – Unit not in Radio function mode. – Volume set at a minimum | – Slide function switch to AM or FM position. – Increase Volume. |
| The CD player will not play | – Unit not in CD function mode. – The CD is not loaded properly. – If the CD is self-compiled, the media used may not be compatible with the player. | – Select CD function mode. – Load CD with label side up. – Use better quality blank media and retest. |
| Intermittent sound from CD player | – Dirty or defective disc – Dirty CD lens – The player is subject to excessive shock or vibration | – Clean or replace the defective disc. – Use a CD lens cleaning disc to clean the lens. – Relocate the player away from shock or vibration. |
| Cassette Player no sound | – Unit not in Tape function mode – Volume at minimum | – Slide function selector to Tape – Increase volume |
| Cassette sound distorted | – Dirty tape head | – Clean the head |
| Cassette speed varies | – Tape old or worn – Dirty roller and capstan | – Replace the tape – Clean roller and capstan |
| Cassette recorder will not record | – The prevention tab removed | – Cover the hole with tape |
| Distorted sound on cassette playback | – Defective tape or dirty tape head | – Replace tape or clean tape head |
| Sound appears distorted at a high-volume setting | – Volume control is set to maximum. | – Adjust the Volume control to a lower comfortable level. |
SPECIFICATIONS
- Power Source: AC 120 V~; 60 Hz; 14 W, Or DC 9 V; 6 x “C” size batteries (Not included)
- Radio Frequency: AM: 520 – 1710 kHz & FM: 87 – 108 MHz
- Disc Compatible: CD; CD-R; CD-RW
- Impedance of Speakers: 2 x 3 W; 8

- Audio power: 1 W per Channel (Total 2W, RMS)
- Accessories: 1 x AC Cord, 1 x Owner’s Manual
- Bluetooth Version: 5.0
ACCESSORIES
- 1 x Owner’s Manual
- 1x AC Power Cord
SPECIFICATIONS AND ACCESSORIES ARE SUBJECT TO CHANGE WITHOUT NOTICE
PHC Americas, LLC (“PHC Americas”) warrants this product against defects in material or workmanship for the time periods and as set forth below when purchased directly from PHC Americas or a PHC Americas Retailer. Pursuant to this Limited Warranty, PHC Americas will, at its option, (i) repair the product using new or refurbished parts, (i) replace the product with a new or refurbished product, or (in) recommend you return it to the retailer for an exchange or refund. For purposes of this Limited Warranty, “refurbished” means a product or part that has been returned to its original specifications. In the event of a defect, these are your exclusive remedies. Parts & Labor: For a period of six (6) months from the original date of purchase of the product, PHC Americas will, at its option, repair or replace with a new or refurbished product, a product determined to be defective. Instructions: To obtain warranty service, you must deliver the product, freight prepaid, in either its original packaging or packaging affording an equal degree of protection to the PHC Americas service facility. A dated purchase receipt from PHC Americas or a PHC Americas Retailer is required. For specific instructions on how to obtain warranty service for your product,
- Visit Web Site: www.Philco.US
- Email us:
- Call us: [email protected]. 1-888-718-4525
WARRANTY
This Limited Warranty shall apply to any repair, replacement part, or replacement product for the remainder of the original Limited Warranty period or for six (6) months, whichever is longer. Any parts or products replaced under this Limited Warranty will become the property of PHC Americas. This Limited Warranty only covers product issues caused by defects in material or workmanship during ordinary consumer use; it does not cover product issues caused by any other reason, including but not limited to product issues due to commercial use, acts of God, misuse, limitations of technology, or modification of or to any part of the PHC Americas product or product purchased from other than PHC Americas or a PHC Americas Retailer. This Limited Warranty does not cover PHC Americas products sold AS IS or WITH ALL FAULTS or consumables (such as fuses or batteries). This Limited Warranty is invalid if the factory-applied seal has been altered or removed from the product.
This Limited Warranty is valid only in the United States and Canada. LIMITATION ON DAMAGES: PHC AMERICAS SHALL NOT BE LIABLE FOR ANY INCIDENTAL OR CONSEQUENTIAL DAMAGES FOR BREACH OF ANY EXPRESS OR IMPLIED WARRANTY ON THIS PRODUCT. DURATION OF IMPLIED WARRANTIES: EXCEPT TO THE EXTENT PROHIBITED BY APPLICABLE LAW, ANY IMPLIED WARRANTY OF MERCHANTABILITY OR FITNESS FOR A PARTICULAR PURPOSE ON THIS PRODUCT IS LIMITED IN DURATION TO THE DURATION OF THIS WARRANTY.
Some states do not allow the exclusion or limitation of incidental or consequential damages or allow limitations on how long an implied warranty lasts, so the above limitations or exclusions may not apply to you. This Limited Warranty gives you specific legal rights and you may have other rights which vary from state to state.





















