Hard Head 016729 Drum Roller Instruction Manual

DRUM ROLLER
OPERATING INSTRUCTIONS
Important! Read the user instructions carefully before use. Save them for future reference. (Translation of the original instructions).
Jula reserves the right to make changes.
For latest version of operating instructions, see www.jula.com
JULA AB, BOX 363, SE-532 24 SKARA
2022-02-11
© Jula AB
TECHNICAL DATA
Dimensions – L1200 x B580 x Ø 320 mm
Weight – 11kg
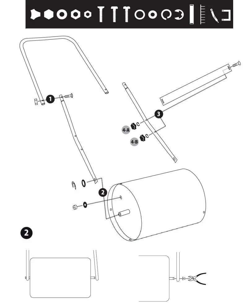
ASSEMBLY




















