Hard Head 017295 Storage Shelf

SAFETY INSTRUCTIONS
- Must be assembled by an adult- contains small and sharp parts.
- The product is only intended for indoor use.
- Use a suitable lubricant to simplify joining the angle brackets and bars.
- When using a hammer, protect surfaces with a cloth or block of wood.
- The pins should rest in the bottom of the key-shaped holes. Tap on the flat part of the shelf supports.
- Assemble the product on a level and stable surface. Do not assemble on a carpet or similar.
- Place heavy and/or bulky objects on the bottom shelves.
SYMBOLS
- Approved in accordance with the relevant EU directives.
TECHNICAL DATA
- Size W 914 x D 457 x H 1829 mm
- Max weight 120 kg/ shelf
DESCRIPTION
- A. Angle bracket (8)
- B. Long shelf support (10)
- C. Short shelf support (10)
- D. Shelf (5)
- E. Post cap (8)
- F. Post insert (4) (Used for assembly as a shelf).
- G. Post clamp (2) (Used for assembly as a workbench). FIG. 1

ASSEMBLY
- Two persons are required to assemble the storage unit.
- Do not assemble the product if any parts are missing or damaged.
- Contact your dealer if any parts are damaged or missing, or if you have any questions.
- Can also be assembled as a workbench.
TOOLS
The following tools are needed to assemble this storage unit.
- Rubber mallet
- Hammer
ALTERNATIVE 1: SHELF
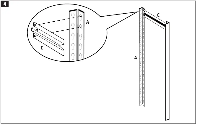
- Fasten one of the short shelf supports (C) in the two key-shaped holes on one of the angle brackets (A). Tap in the pins at the bottom in the key-shaped holes by tapping close to the joint with a rubber mallet.
- Repeat for the next angle bracket (A), to form a side piece. FIG. 2

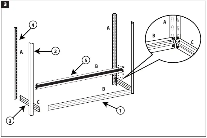
- Fit long shelf support (B) on the side piece. Tap in the pins at the bottom of the key-shaped holes by tapping close to the joint with a rubber mallet.
NOTE: Avoid tapping too hard so as not to damage the supports. - Repeat step 4 with another long shelf support (B), one short shelf support (C), and angle brackets (A). The bottom part is now ready. FIG. 3
NOTE: Tap on the supports close to the joints to lock the parts in place. - Fasten one of the short shelf supports (C) in the upper holes in two of the angle brackets (A). Tap in the pins at the bottom in the key-shaped holes by tapping
close to the joint with a rubber mallet. Make sure that the support is correctly positioned. - Repeat for the other two angle posts. The top parts are now ready FIG. 4

- Place the post inserts (F) in the angle posts (A) on the bottom part.
- Put the top part on the post inserts (F). FIG. 5

- Fit short shelf support (C) over the joint by tapping the upper pin in the lower key-shaped hole in the top part and the lower pin in the upper key-shaped hole in the bottom part. Tap in the pins at the bottom of the key-shaped holes by tapping close to the joint with a rubber mallet.
- Repeat the last step to assemble one other short shelf support (C) and two long shelf supports (B). FIG. 6

- Fit two long shelf supports (B) at the top of the angle posts (A). Check that the pins rest against the holes before tapping on the supports to drive in the pins. FIG. 7

- Fit the remaining shelf supports (B and C) at the required heights for the other two shelves. Tap on the supports close to the joints to lock the parts in place. FIG. 8
NOTE: The crossbars and shelves can be fitted in steps of 3.8 cm to the required height. - Place the shelves (D) on the shelf supports.
- Fit the post caps (E) on the ends of the angle posts (A).
- Shelf
- Shelf support FIG. 9

IMPORTANT:
Check that the shelf supports are correctly assembled.
ALTERNATIVE 2: WORKBENCH
- Assemble the bottom part as per steps 1 to 4 above.
- Fit two short and two long shelf supports (C and B) in the upper holes in the angle posts. Tap in the pins at the bottom in the key-shaped holes by tapping close to the joint with a rubber mallet.
- Fit another two short and two long shelf supports (C and B) at the required height. FIG. 10

- Fit one short shelf support (C) in the upper holes in two of the angle brackets (A). Fit another short shelf support in the 7th and 8th holes from below in the angle posts. Tap in the pins at the bottom in the key-shaped holes by tapping close to the joint with a rubber mallet.
- Repeat on the opposite side. FIG. 11

- Fit two long shelf supports (B) at the top of the angle posts (A) and two long shelves support in the 7th and 8th holes in the angle posts. Tap in the pins at the bottom of the key-shaped holes by tapping close to the joint with a rubber mallet. FIG. 12

- Place the shelves (D) on the shelf supports. FIG. 13

- Fit the post caps (E) on the ends of the angle posts (A). FIG. 14

- Join the parts of the workbench together by aligning the angle posts (A) to each other. Align the holes in the post clamp (G) to the two holes on the back of the back, middle angle posts. Clamp the post clamp to lock the angle posts together. Fit the other post clamp on the two front, middle-angle posts. FIG. 15

NOTE:
- Remove the post clamps with a screwdriver, if necessary.
- Check that the shelf supports are correctly assembled.



NOTE: Tap on the supports close to the joints to lock the parts in place. 



NOTE: The crossbars and shelves can be fitted in steps of 3.8 cm to the required height.

























