Hard Head 013987 Safety Deposit Box

SAFETY INSTRUCTIONS
NOTE:
Never store emergency keys in the safe.
TECHNICAL DATA
- Battery 4 x 1.5 V AA
- Size H 35 x W 50 x D 31 cm
- Weight 74.5 kg
- Volume 43 I
- Material Sheet steel
- Wall thickness 7,5 mm
- Door thickness 4 mm
- Emergency keys 2
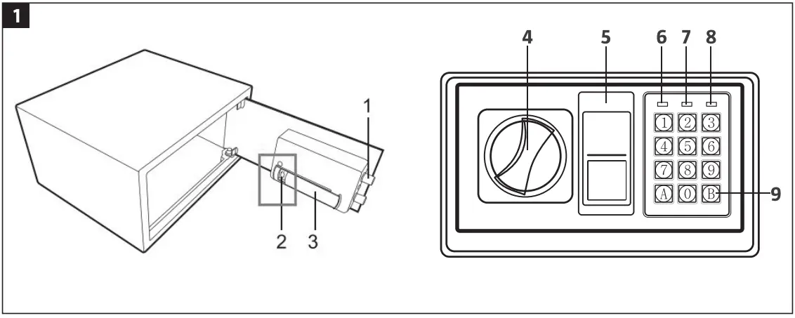
DESCRIPTION

- Lock bolts
- Reset button
- Battery compartment
- Knob (main key)
- Emergency Jock cover
- Greenlight
- Red light
- Yellow light
- Confirm button
INSTALLATION
INSERTING THE BATTERIES
- Open the door.
- Insert four AA batteries in the battery compartment.
- In normal circumstances, the batteries should be replaced if both the red and green lights go on at the same time.
INSTALLING THE SAFE
- Drill a screw holes at the required place.
- Screw expander screws anticlockwise to separate.
- Mount the safe on the wall with expander screws, or the like.
- Check that the safe is correctly positioned and tighten the screw unions.
IMPORTANT:
- Use screws suitable for the underlying surface.
- Insert four new batteries with the correct polarity as shown by the markings in the battery compartment.
- If the power supply has been interrupted for more than 30 minutes, you must enter a new user code.
USE
OPENING THE SAFE FOR THE FIRST TIME
Use the emergency key to open the safe the first time. Follow the instructions in the section on opening the safe with the emergency key.
- Remove the emergency lock cover, insert the emergency key and turn it anticlockwise.
- Turn the knob (main key) clockwise to open the door.
- Complete this operation, pull out the emergency key and store it in a safe place.
OPENING THE DOOR

- Enter the user code (3-8 digits). An audio prompt is given every time a button is pressed and the yellow light flashes.
- Press the button A ( C /#)or B ( E / *). The green light goes on.
- Turn the knob (main key) clockwise to pull the door within 5 seconds to open.
CLOSING THE DOOR
Turn the knob (main key) anticlockwise to lock the door.
AUTOMATIC LOCKING
If an incorrect code is entered three times in succession there will be an audio prompt for 20 seconds.
SETTlNG THE USER CODE
- When the door is open, press the reset button. The new user code can be set when the yellow light goes on.
- Enter the new code (3-8 dig its) and press the button A (C / #) or B ( E /*)to confirm. Two audio prompts are given to confirm that the new code has been stored.
- If the yellow light flashes and three audio prompts are given this means the code has not been changed. Repeat the above steps.
SETTlNG THE MASTER CODE
- When the door is open, press the O button twice and then the reset button. The new master code can be set when the yellow light goes on.
- Enter the new master code (3-8 digits) and press the button A (C / #) or B ( E /*)to confirm. Two audio prompts are given and the yellow light flashes twice to confirm that the new master code has been stored.
- If the yellow light flashes three times this means the code has not been changed. Repeat the above steps.
EMERGENCY OPENING
The first time the safe is opened, during an electrical fault, or if you have forgotten the code, the safe can be opened with the emergency key.
- Remove the cover over the emergency lock.
- Insert the emergency key in the keyhole and turn it anticlockwise. Turn the knob (main key) clockwise to open the door.

IMPORTANT:
- The default user code is 159. Enter the user code again if the yellow light flashes and three audio prompts are given.
- The button pad is deactivated while the audio prompts are given. The audio prompts can only be stopped by using the emergency key and cutting the power supply be removing the battery.




















