Ceiling and wall luminaire

IP 65
24 730
Instructions for use
Application
Ceiling and wall luminaire with impact-resistant cover made of synthetic material.
Large-area luminaire with a very high light output and uniform light distribution.
The used LED technique offers durability and optimal light output with low power consumption at the same time.
Product description
Luminaire made of aluminium and stainless steel BEGA Unidure® coating technology Colour white
White synthetic diffuser Silicone gasket Mounting plate with 4 fixing holes ø 9.5 mm Pitch circle ø 800 mm 2 cable entries for through- wiring of mains supply cable ø 7-10.5 mm, max. 5 G 1.5@ Connecting terminal 2.5@ with plug connection Earth conductor connection LED power supply unit 220-240 V x 0/50-60 Hz DC 176-280 V DALI-controllable Number of DALI addresses: 1
Basic insulation is provided between the mains and control cables BEGA Thermal Control®
Temporary thermal regulation to protect temperature-sensitive components without switching off the luminaire Safety class I Protection class IP 65
Dust-tight and protection against water jets Impact strength IK10
Protection against mechanical impacts < 20 joule
– Safety mark
– Conformity mark
Weight: 19.8 kg
Safety
The installation and operation of this luminaire are subject to national safety regulations.
Installation and commissioning may only be carried out by a qualified electrician.
The manufacturer accepts no liability for damage caused by improper use or installation. If subsequent modifications are made to the luminaire, the person responsible for these modifications shall be considered the manufacturer.
Lamp
| Module connected wattage Luminaire connected wattage Rated temperature Ambient temperature | 92.4 W 102 W ta = 25 °C ta max = 40 °C |
24 730 K3
| Module designation Colour temperature Colour rendering index Module luminous flux Luminaire luminous flux Luminaire luminous efficiency | 4x LED-0704/930 3000 K CRI > 90 14960 lm 12365 lm 121,2 lm / W |
24 730 K4
| Module designation Colour temperature Colour rendering index Module luminous flux Luminaire luminous flux Luminaire luminous efficiency | 4x LED-0704/940 4000 K CRI > 90 15420 lm 12745 lm 125 lm / W |
Notice prior to installation:
Please note that 2 persons are imperatively required for the installation of the luminaire!
In order to avoid deformation under its own weight, do not deposit luminaire on its domed synthetic cover outside the package!
When mounting the luminaires, it must be ensured that the ceiling surface has sufficient load-bearing capacity.
The fixing material included in delivery must be checked for suitability with the specific mounting plate used. If necessary, replace with suitable fixing material.
Please check the secure mounting of the luminaires after installation.
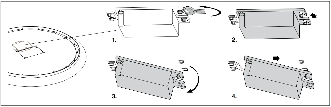
Undo lateral grub screw 1 (wrench size 3) turn the mounting plate 2 counter-clockwise and remove it from the luminaire housing.
Installation
Fix the mounting plate with enclosed or any other suitable fixing material onto the mounting surface.
Undo the Allen screws (wrench size 4) and remove the connection cover from the luminaire housing to make the electrical connection.
Lead mains supply cable through the cable entry of the connecting compartment cover.
Make the earth conductor connection and the electrical connection.
The two loose plug-in terminals marked DALI are provided for digital control purposes.
If these terminals are not assigned, the floodlight will work with full light output.
The steel retention wires must be used to install the luminaire on the ceiling.
Hook the ends of the 4 steel wires from the luminaire housing into the recesses of the mounting brackets on the mounting plate.
To secure the steel wires, screw the hexagon socket screws (Pos. A) into the holes (Pos. B).
Push plug into coupler as far as it will go.
Assemble connecting compartment cover.
Make sure that the gasket is positioned correctly.
Insert the luminaire housing into the mounting plate and turn it clockwise into the four guides as far as the stop.
As you do so, make sure that all four retention bolts of the luminaire housing are firmly seated in the guides of the mounting plate and that it is no longer possible to remove the luminaire.
Screw in the grub screw on the side as far as the stop in order to lock the luminaire in place.
You must not feel any resistance when you do this. If you do, check that the luminaire housing
is correctly seated in the mounting plate.
Cleaning · Maintenance`
Clean dirt and debris from the luminaire regularly with a clean, soft, lint-free cloth that is kept damp throughout the cleaning.
If possible, please use water for this, adding a little commercial dishwashing detergent.
For lacquered surfaces we recommend the use of BEGA Lacquer Care Set 71 179.
Cleaning agents containing solvents and high-pressure cleaners are unsuitable for cleaning and maintenance.
Replacing the LED power supply unit
Disconnect the electrical installation.
Undo the hexagon socket screws (wrench size 4) and remove the connection cover from the luminaire housing to replace the power supply unit.
Undo the hex nut, slide the carrier plate with the power supply unit and remove it from the luminaire housing.
Install in reverse order.
Replacing the LED module
The designation of the LED module is noted on a label in the luminaire.
The light colour and light output of BEGA replacement modules correspond to those of the modules originally fitted.
The module can be replaced by qualified persons using standard tools.
Disconnect the system and open the luminaire.
Please follow the installation instructions for the
LED module.
Inspect and, if necessary, replace the luminaire gaskets.
Defective glass must be replaced.
Close the luminaire.
Spares
Synthetic cover
LED power supply unit
LED module 3000 K
LED module 4000 K
Gasket cover
Technical amendments reserved
BEGA Gantenbrink-Leuchten KG
· Postfach 31 60
· 58689 Menden
· [email protected]
· www.bega.com










