Carrier 25SCA5-1SI Single Stage Heat Pumps Instruction Manual
SAFETY CONSIDERATIONS
Improper installation, adjustment, alteration, service, maintenance, or use can cause explosion, fire, electrical shock, or other conditions which may cause death, personal injury, or property damage. Consult a qualified installer, service agency, or your distributor or branch for information or assistance. The qualified installer or agency must use factory–authorized kits or accessories when modifying this product. Refer to the individual instructions packaged with the kits or accessories when installing.
Follow all safety codes. Wear safety glasses, protective clothing, and work gloves. Use quenching cloth for brazing operations. Have fire extinguisher available. Read these instructions thoroughly and follow all warnings or cautions included in literature and attached to the unit. Consult local building codes and current editions of the National Electrical Code (NEC) NFPA 70. In Canada, refer to current editions of the Canadian electrical code CSA 22.1.
Recognize safety information. This is the safety–alert symbol . When you see this symbol on the unit and in instructions or manuals, be alert to the potential for personal injury.
Understand these signal words; DANGER, WARNING, and CAUTION. These words are used with the safety–alert symbol. DANGER identifies the most serious hazards which will result in severe personal injury or death. WARNING signifies hazards which could result in personal injury or death. CAUTION is used to identify unsafe practices which may result in minor personal injury or product and property damage.
NOTE is used to highlight suggestions which will result in enhanced installation, reliability, or operation
WARNING
ELECTRICAL SHOCK HAZARD
Failure to follow this warning could result in personal injury or death. Before installing, modifying, or servicing system, main electrical disconnect switch must be in the OFF position. There may be more than 1 disconnect switch. Lock out and tag switch with a suitable warning label.
WARNING
EXPLOSION HAZARD
Failure to follow this warning could result in death, serious personal injury, and/or property damage.
Never use air or gases containing oxygen for leak testing or operating refrigerant compressors. Pressurized mixtures of air or gases containing oxygen can lead to an explosion.
INSTALLATION RECOMMENDATIONS
In some cases noise in the living area has been traced to gas pulsations from improper installation of equipment.
- Locate unit away from windows, patios, decks, etc. where unit operation sound may disturb customer.
- Ensure that vapor and liquid tube diameters are appropriate for unit capacity.
- Run refrigerant tubes as directly as possible by avoiding unnecessary turns and bends.
- Leave some slack between structure and unit to absorb vibration.
- When passing refrigerant tubes through the wall, seal opening with RTV or other pliable silicon–based caulk (see Fig. 1).
- Avoid direct tubing contact with water pipes, duct work, floor joists, wall studs, floors, and walls.
- Do not suspend refrigerant tubing from joists and studs with a rigid wire or strap which comes in direct contact with tubing (see Fig. 1).
- Ensure that tubing insulation is pliable and completely surrounds vapor tube.
- When necessary, use hanger straps which are 1 in. wide and conform to shape of tubing insulation (see Fig. 1).
- Isolate hanger straps from insulation by using metal sleeves bent to conform to shape of insulation.
Fig. 1 – Connecting Tubing Installation
When outdoor unit is connected to factory–approved indoor unit, outdoor unit contains system refrigerant charge for operation with AHRI rated indoor unit when connected by 15 ft. (4.57 m) of field–supplied or factory accessory tubing. For proper unit operation, check refrigerant charge using charging information located on control box cover and/or in the Check Charge section of this instruction.
IMPORTANT: Maximum liquid–line size is 3/8–in. OD for all residential applications including long line.
IMPORTANT: Always install the factory–supplied liquid–line filter drier. Obtain replacement filter driers from your distributor or branch.
INSTALLATION
IMPORTANT: All split system and packaged air conditioners must be installed pursuant to applicable regional efficiency standards issued by the Department of Energy
CAUTION
CUT HAZARD
Failure to follow this caution may result in personal injury. Sheet metal parts may have sharp edges or burrs. Use care and wear appropriate protective clothing and gloves when handling parts.
Check Equipment and Job Site Unpack Unit
Move to final location. Remove carton taking care not to damage unit.
Inspect Equipment
File claim with shipping company prior to installation if shipment is damaged or incomplete. Locate unit rating plate on unit corner panel. It contains information needed to properly install unit. Check rating plate to be sure unit matches job specifications.
Install on a Solid, Level Mounting Pad
If conditions or local codes require the unit be attached to pad, tie down bolts should be used and fastened through knockouts provided in unit base pan. Refer to unit mounting pattern in Fig. 2 to determine base pan size and knockout hole location.
For hurricane tie downs, contact distributor for details and PE
Certification (Professional Engineer), if required.
On rooftop applications, mount on level platform or frame. Place unit above a load–bearing wall and isolate unit and tubing set from structure. Arrange supporting members to adequately support unit and minimize transmission of vibration to building. Consult local codes governing rooftop applications.
Roof mounted units exposed to winds above 5 mph may require wind baffles. Consult the Service Manual – Residential Split System Air
Conditioners and Heat Pumps for wind baffle construction. Unit must be level to within ±2° (±3/8 in/ft,±9.5 mm/m) per compressor manufacturer specifications
Clearance Requirements
When installing, allow sufficient space for airflow clearance, wiring, refrigerant piping, and service. Allow 24 in. (609.6 mm) clearance to service end of unit and 48 in. (1219.2 mm) above unit. For proper airflow, a 6–in. (152.4 mm) clearance on 1 side of unit and 12–in. (304.8 mm) on all remaining sides must be maintained. Maintain a distance of 24 in. (609.6 mm) between units or 18 in. (457.2 mm) if no overhang within 12 ft. (3.66 m). Position so water, snow, or ice from roof or eaves cannot fall directly on unit. 18” (457.2 mm) clearance option described above is approved for outdoor units with wire grille coil guard only. Units with louver panels require 24” (609.6 mm) between units.
On rooftop applications, locate unit at least 6 in. above roof surface.
Fig. 2 – Tiedown Knockout Locations
| UNIT BASE PAN Dimension in. (mm) | TIEDOWN KNOCKOUT LOCATIONS in. (mm) | ||
| A | B | C | |
| 31–1/2 X 31–1/2 (800 X 80 | 9–1/8 (231.8) | 6–9/16 (166.7) | 24–11/16 (627.1) |
| 35 X 35 (889 X 889) | 9–1/8 (231.8) | 6–9/16 (166.7) | 28–7/16 (722.3) |
Check Defrost Thermostat
Check defrost thermostat to ensure it is properly located and securely attached. There is a liquid header with a distributor and feeder tube going into outdoor coil. At the end of the one of the feeder tubes, there is a 3/8 in. O.D. stub tube approximately 2 in. (50.8 mm) long (see Fig. 3). The defrost thermostat should be located on stub tube. Note that there is only one stub tube used with liquid header, and on most units it is the bottom circuit.
Fig. 3 – Defrost Thermostat Location
Elevate Unit
CAUTION
UNIT OPERATION HAZARD
Failure to follow this caution may result in equipment damage or improper operation.
Do not allow water and/or ice to build up in base pan.
Elevate unit per local climate and code requirements to provide clearance above estimated snowfall level and ensure adequate drainage of unit.
Table 1 – Accessory Usage
| Accessory | REQUIRED FOR LOW–AMBIENT COOLING APPLICATIONS (Below 55°F / 12.8°C) | REQUIRED FOR LONG LINE APPLICATIONS* | REQUIRED FOR SEA COASTAPPLICATIONS (Within 2miles / 3.22 km) |
| Accumulator | Standard | Standard | Standard |
| Ball Bearing Fan Motor | Yes† | No | No |
| Compressor Start Assist Capacitor and Relay | Yes | Yes | No |
| Crankcase Heater | Yes | Yes | No |
| Evaporator Freeze Thermostat | Yes | No | No |
| Hard Shutoff TXV | Yes | Yes | No |
| Isolation Relay | Yes | No | No |
| Liquid Line Solenoid Valve | No | See Long–Line Application Guideline | No |
| Motor Master® Control or Low Ambient Switch | Yes‡ | No | No |
| Support Feet | Recommended | No | Recommended |
*. For tubing line sets between 80 and 200 ft. (24.38 and 60.96 m) and/or 20 ft. (6.09 m) vertical differential, refer to Residential Piping and Long Line Guideline.
†. Additional requirement for Low–Ambient Controller (full modulation feature) MotorMaster® Control.
‡. In units equipped with ECM OD motor, motor needs to be replaced per unit accessory guide to work properly. This motor kit comes with a new defrost board that also needs to be installed. Unit will not meet AHRI rated efficiency once motor and control board are replaced to use this accessory.
Make Piping Connections
WARNING
PERSONAL INJURY AND ENVIRONMENTAL
HAZARD
Failure to follow this warning could result in personal injury or death.
Relieve pressure and recover all refrigerant before system repair or final unit disposal.
Use all service ports and open all flow–control devices, including solenoid valves.
CAUTION
UNIT DAMAGE HAZARD
Failure to follow this caution may result in equipment damage or improper operation.
If ANY refrigerant tubing is buried, provide a 6–in (152.4 mm) vertical rise at service valve. Refrigerant tubing lengths up to 36–in (914.4 mm). may be buried without further special consideration. Do not bury lines longer than 36 in (914.4 mm).
Outdoor units may be connected to indoor section using accessory tubing package or field–supplied refrigerant grade tubing of correct size and condition. For tubing requirements beyond 80 ft, substantial capacity and performance losses can occur. Following the recommendations in the Residential Piping and Long Line Guideline will reduce these losses. Refer to Table 1 for accessory requirements.
Refer to Table 2 for field tubing diameters.
There are no buried–line applications greater than 36 in. (914.4 mm)
If refrigerant tubes or indoor coil are exposed to atmosphere, they must be evacuated to 500 microns to eliminate contamination and moisture in the system.
Outdoor Unit Connected To Factory Approved Indoor Unit
Outdoor unit contains approximate system refrigerant charge for operation with approved AHRI rated indoor unit when connected by 15 ft (4.57 m) of field–supplied or factory–accessory tubing, and factory supplied filter drier. Some indoor units require additional subcooling to achieve optimal heating performance. Using Table 5 – Additional
Subcooling Required, check refrigerant charge for maximum efficiency
Service Valves
Service valves are closed and plugged from the factory. Outdoor units are shipped with a refrigerant charge sealed in the unit. Leave the service valves closed until all other refrigerant system work is complete or the charge will be lost. Leave the plugs in place until line set tubing is ready to be inserted.
Heat pumps require a piston metering device in the liquid service valve for proper heating operation. Piston is shipped in the piston body of the liquid service valve, temporarily held in place with a plastic cap. Do not remove the plastic cap until line set tubing is ready to be installed.
Refer to Fig. 4 and follow these steps for piston installation:
- Remove plastic cap holding piston in piston body of liquid service valve.
- Check that piston size (stamped on side of piston) matches with number listed on unit rating plate. Return piston to piston body of liquid service valve (either direction).
- Find plastic bag taped to unit containing copper adapter tube, brass nut, and plastic washer.
- Install plastic washer in the seat inside piston body.
- Fit brass nut onto adapter tube and install tube onto liquid service valve. Tighten nut finger tight, then wrench additional ½ turn only [15-ft lbs (20.3 N-m)]. Over tightening may damage the plastic washer and service valve’s piston body
Fig. 4 – Liquid Service Valve with Heating Piston and Adapter Tube
Fig. 5 – Vapor Service Valve
Brazing Connections
Clean line set tube ends with emery cloth or steel brush. Remove any grit or debris.
Connect vapor tube to fitting on outdoor unit vapor service valves (see Table 2). Connect liquid tubing to adapter tube on liquid service valve. Use refrigerant grade tubing.
CAUTION
UNIT DAMAGE HAZARD
Failure to follow this caution may result in equipment damage or improper operation.
Service valves must be wrapped in a heat–sinking material such as a wet cloth while brazing.
Apply heat absorbing paste or heat sink product between service valve and joint. Wrap service valves with a heat sinking material such as a wet cloth.
After wrapping service valve with a wet cloth, tubing set can be brazed to service valve using either silver bearing or non–silver bearing brazing material. Do not use soft solder (materials which melt below 800°F/427°C). Braze joints using a Sil-Fos or Phos-copper alloy. Consult local code requirements. Some outdoor units contain a mechanical fitting at the liquid distributor.
This connection is not field serviceable and should not be disturbed. For Liquid Service Valve – Braze lineset to adapter tube BEFORE bolting adapter to valve. This helps prevent overheating and damage to plastic washer or o-ring.
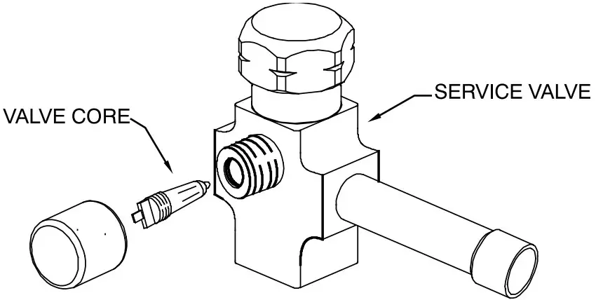
For Vapor Service Valve – remove valve core from schrader port on Service Valve BEFORE brazing. This helps prevent overheating and damage to valve seals (refer to Fig. 5). Replace valve core when brazing is completed.
WARNING
FIRE HAZARD
Failure to following this warning could result in personal injury, death and/or property damage.
Refrigerant and oil mixture could ignite and burn as it escapes and contacts brazing torch. Make sure the refrigerant charge is properly removed from both the high and low sides of the system before brazing any component or lines.
Table 2 – Refrigerant Connections and Recommended Liquid and Vapor Tube Diameters (In.)
| UNIT SIZE | LIQUID | RATED VAPOR* | ||
| Connection Diameter | Tube Diameter | Connection Diameter | Tube Diameter | |
| 18, 24 | 3/8 | 3/8 | 5/8 | 5/8 |
| 30, 36 | 3/8 | 3/8 | 3/4 | 3/4 |
| 42, 48 | 3/8 | 3/8 | 7/8 | 7/8 |
| 60 | 3/8 | 3/8 | 7/8 | 1–1/8 |
Units are rated with 25 ft. (7.6 m) of lineset. See Product Data sheet for performance data when using different size and length linesets.
Notes:
- Do not apply capillary tube indoor coils to these units.
- For Tubing Set lengths between 80 and 200 ft. (24.38 and 60.96 m) horizontal or 20 ft. (6.09 m) vertical differential 250 ft. (76.2 m) Total Equivalent Length, refer to the Residential Piping and Long Line Guideline – Air Conditioners and HeatPumps using Puron refrigerant.
Mechanical Line Set Connections
If using mechanical or crimp-type line set connections, follow crimp tool manufacturer’s instructions.
NOTE: Should the use of mechanical fittings cause failure of the fittings or failure of the equipment, such would not be covered under the standard warranty
Installing with Indoor Piston
Heat pumps may only be installed with piston metered indoor units as replacement components in a piston system. When installing a non-rated heat pump with a piston indoor the correct piston must be installed, which should be listed in the indoor installation instructions or product data. Replacement pistons can be ordered from Replacement Components.
Install Liquid Line Filter Drier Indoor
Refer to Fig. 6 and install filter drier as follows:
- Braze 5 in. (127 mm) liquid tube to the indoor coil.
- Wrap filter drier with damp cloth.
- Braze filter drier to 5 in. (127 mm) long liquid tube from step 1.
- Connect and braze liquid refrigerant tube to the filter drier.
IMPORTANT: Installation of the filter drier in liquid line is required
Fig. 6 – Liquid Line Filter Drier
CAUTION
UNIT DAMAGE HAZARD
Failure to follow this caution may result in equipment damage or improper operation. Installation of filter drier in liquid line is required.
Evacuate Refrigerant Tubing and Indoor Coil
CAUTION
UNIT DAMAGE HAZARD
Failure to follow this caution may result in equipment damage or improper operation. Never use the system compressor as a vacuum pump.
Refrigerant tubes and indoor coil should be evacuated using the recommended deep vacuum method of 500 microns. The alternate triple evacuation method may be used (see triple evacuation procedure in service manual). Always break a vacuum with dry nitrogen.
Deep Vacuum Method
The deep vacuum method requires a vacuum pump capable of pulling a vacuum of 500 microns and a vacuum gage capable of accurately measuring this vacuum depth. The deep vacuum method is the most positive way of assuring a system is free of air and liquid water. A tight dry system will hold a vacuum of 1000 microns after approximately 7 minutes. (See Fig. 7.)
Fig. 7 – Deep Vacuum Graph
Final Tubing Check
IMPORTANT: Check to be certain factory tubing on both indoor and outdoor unit has not shifted during shipment. Ensure tubes are not rubbing against each other or any sheet metal. Pay close attention to feeder tubes, makings sure wire ties on feeder tubes are secure and tight.
Make Electrical Connections
WARNING
ELECTRICAL SHOCK HAZARD
Failure to follow this warning could result in personal injury or death. Do not supply power to unit with compressor terminal box cover removed.
Be sure field wiring complies with local and national fire, safety, and electrical codes, and voltage to system is within limits shown on unit rating plate. Contact local power company for correction of improper voltage. See unit rating plate for recommended circuit protection device.
NOTE: Operation of unit on improper line voltage constitutes abuse and could affect unit reliability. See unit rating plate. Do not install unit in system where voltage may fluctuate above or below permissible limits.
NOTE: Use copper wire only between disconnect switch and unit.
NOTE: Install branch circuit disconnect of adequate size per NEC to handle unit starting current. Locate disconnect within sight from and readily accessible from unit, per Section 440–14 of NEC.
Route Ground and Power Wires
Remove access panel to gain access to unit wiring. Extend wires from disconnect through power wiring hole provided and into unit control box.
Connect Ground and Power Wires
WARNING
ELECTRICAL SHOCK HAZARD
Failure to follow this warning could result in personal injury or death. The unit cabinet must have an uninterrupted or unbroken ground to minimize personal injury if an electrical fault should occur. The ground may consist of electrical wire or metal conduit when installed in accordance with existing electrical codes.
Connect ground wire to ground connection in control box for safety. Connect power wiring to contactor as shown in Fig. 8.

Fig. 8 – Line Connections

Fig. 9 – 3–Phase Monitor Control
Table 3 – 3-Phase Monitor LED Indicators
| LED | STATUS |
| OFF | No call for compressor operation |
| FLASHING | Reversed phase |
| ON | Normal |
Connect Control Wiring
Route 24v control wires through control wiring grommet and connect leads to control wiring. See Thermostat Installation Instructions for wiring specific unit combinations. (See Fig. 10.) Use No. 18 AWG color–coded, insulated (35°C minimum) wire. If thermostat is located more than 100 ft (30.5 m) from unit, as measured along the control voltage wires, use No. 16 AWG color–coded wire to avoid excessive voltage drop. All wiring must be NEC Class 2 and must be separated from incoming power leads. Use furnace transformer, fan coil transformer, or accessory transformer for control power, 24v/40va minimum. Use of available 24v accessories may exceed the minimum 40va power requirement. Determine total transformer loading and increase the transformer capacity or split the load with an accessory transformer as required.

Fig. 10 – Generic Wiring Diagrams
Final Wiring Check
IMPORTANT: Check factory wiring and field wire connections to ensure terminations are secured properly. Check wire routing to ensure wires are not in contact with tubing, sheet metal, etc.
Compressor Crankcase Heater
When equipped with a crankcase heater, furnish power to heater a minimum of 24 hr before starting unit. To furnish power to heater only, set thermostat to OFF and close electrical disconnect to outdoor unit. A crankcase heater is required if refrigerant tubing is longer than 80 ft (24.38 m), or when outdoor unit is 20 ft (6.10 m) below indoor unit. Refer to the Residential Piping and Long Line Guideline.
Install Electrical Accessories
Refer to the individual instructions packaged with kits or accessories when installing
CAUTION
PERSONAL INJURY HAZARD
Failure to follow this caution may result in personal injury. Wear safety glasses, protective clothing, and gloves when handling refrigerant and observe the following:
- Front seating service valves are equipped with Schrader valves.
CAUTION
ENVIRONMENTAL HAZARD
Failure to follow this caution may result in environmental damage. Federal regulations require that you do not vent refrigerant to the atmosphere. Recover during system repair or final unit disposal.
CAUTION
UNIT OPERATION AND SAFETY HAZARD
Failure to follow this caution may result in personal injury, equipment damage or improper operation.
- Do not overcharge system with refrigerant.
- Do not operate unit in a vacuum or at negative pressure.
- Do not disable low pressure switch in scroll compressor applications.
- Compressor dome temperatures may be hot.
Follow these steps to properly start up system:
- After system is evacuated, fully open liquid and vapor service valves.
- Unit is shipped with valve stem(s) front seated (closed) and caps installed. Replace stem caps after system is opened to refrigerant flow (back seated). Replace caps finger–tight and tighten with wrench an additional 1/12 turn.
- Close electrical disconnects to energize system.
- Set room thermostat at desired temperature. Be sure set point is below indoor ambient temperature for cooling mode operation.
- Set room thermostat to HEAT or COOL and fan control to ON or AUTO mode, as desired. Operate unit for 15 minutes. Check system refrigerant charge.
Sequence of Operation
Turn on power to indoor and outdoor units. Transformer is energized.
Cooling
On a call for cooling, thermostat makes circuits R–O and R–Y, and R–G. Circuit R–O energizes reversing valve, switching it to cooling position. Circuit R–Y energizes contactor, starting outdoor fan motor and compressor circuit. R–G energizes indoor unit blower relay, starting indoor blower motor on high speed. When thermostat is satisfied, its contacts open, de–energizing contactor and blower relay. Compressor and motors should stop. If indoor unit is equipped with a time–delay relay circuit, the indoor blower will run an additional 90 seconds to increase system efficiency.
Heating
On a call for heating, thermostat makes circuits R–Y and R–G. Circuit R–Y energizes contactor, starting outdoor fan motor and compressor. Circuit R–G energizes indoor blower relay, starting blower motor on high speed. Should temperature continue to fall, R–W2 is made through second– stage room thermostat. Circuit R–W2 energizes a relay, bringing on first bank of supplemental electric heat and providing electrical potential to second heater relay (if used). If outdoor temperature falls below setting of outdoor thermostat (field installed option), contacts close to complete circuit and bring on second bank of supplemental electric heat. When thermostat is satisfied, its contacts open, de–energizing contactor and relay. All heaters and motors should stop.
Quiet Shift-2
Quiet Shift-2 is a field selectable defrost mode (factory set to OFF), which will reduce the occasional noise that could be heard at the start of defrost cycle and restarting of heating cycle. It is selected by placing DIP switch 3 on defrost board in the ON position. When Quiet Shift-2 switch is placed in ON position, and defrost is initiated, the following sequence of operation will occur:
- The compressor will be de–energized for approximately 1 minute, then the reversing valve will be energized. A few seconds later, the compressor will be re-energized and the normal defrost cycle starts.
Once defrost termination conditions have been met, the following sequence will occur:
- The compressor will be de-energized for approximately 1 minute, then the reversing valve will be de-energized. A few seconds later, the compressor will be re-energized and the normal heating cycle starts.
Defrost
The defrost control is a time/temperature control which includes a field selectable time period between defrost cycles (30, 60, 90, or 120). The time period is selected using DIP switches located on the board. The setting is initial period only then varies with defrost length. The defrost thermostat senses coil temperature throughout the heating cycle. When the coil temperature reaches the defrost thermostat setting of approximately 32°F (0°C), it will close, which energizes the DFT terminal and begins the defrost timing sequence. The timer runs only when the defrost thermostat is closed and the contactor is energized. Defrost mode is identical to cooling mode except that outdoor fan motor stops and second-stage heat is turned on to continue warming conditioned spaces.
Defrost Speedup
Quiet Shift-2 Models
To initiate a forced defrost, speedup pins (J1) must be shorted with a flat head screwdriver for 5 seconds and RELEASED. If the defrost thermostat is open, a short defrost cycle will be observed (actual length depends on Quiet Shift-2 switch position). When Quiet Shift-2 is off, only a short 30 second defrost cycle is observed. With Quiet Shift-2 ON, the speedup sequence is approximately 3 minutes; 1 minute compressor off period followed by 30 seconds of defrost with compressor operation. When returning to heating mode, the compressor will turn off for an additional minute. If the defrost thermostat is closed, a complete defrost cycle is initiated. If the Quiet Shift-2 switch is turned on, the compressor will be turned off for two 1-minute intervals as explained previously. If Quiet Shift 2 is enabled, the variable defrost intervals will be disabled to provide options where using a specific setting is desired. In this case the 30, 60, 90, or 120 setting will not change unless the dipswitch is changed, and power is cycled.
NOTE: Forcing a defrost will reset the defrost interval to the DIP switch setting before resuming variable length intervals based on defrost cycle lengths.

Fig. 11 – Quiet Shift-2 Control Board
Check Charge
Factory charge amount and desired subcooling are shown on unit rating plate. Additional subcooling may be required to achieve optimal heating performance based on the installed indoor unit. (see Table 5). Charging method is shown on information plate inside unit. For TXV, use subcooling method. For piston, use superheat method. To properly check or adjust charge, conditions must be favorable for subcooling or superheat charging. Favorable conditions exist when the outdoor temperature is between 70°F and 100°F (21.11°C and 37.78°C), and the indoor temperature is between 70°F and 80°F (21.11°C and 26.67°C). Follow the procedure below: Unit is factory charged for 15ft (4.57 m) of lineset. Adjust charge by adding or removing 0.6 oz/ft (.018 kg/m) of 3/8 liquid line above or below 15ft (4.57 m) respectively. For standard refrigerant line lengths (80 ft/24.38 m or less), allow system to operate in cooling mode at least 15 minutes. If conditions are favorable, check system charge by super heat method for fixed metering device and subcooling method for TXV. If any adjustment is necessary, adjust charge slowly and allow system to operate for 15 minutes to stabilize before declaring a properly charged system. Refer to Table 5 for additional subcooling required. If the indoor temperature is above 80°F (26.67°C), and the outdoor temperature is in the favorable range, adjust system charge by weight based on line length and allow the indoor temperature to drop to 80°F (26.67°C) before attempting to check system charge by subcooling method as described above. If the indoor temperature is below 70°F (21.11°C), or the outdoor temperature is not in the favorable range, adjust charge for line set length above or below 15ft (4.57 m) only. Charge level should then be appropriate for the system to achieve rated capacity. The charge level could then be checked at another time when the both indoor and outdoor temperatures are in a more favorable range. If line length is beyond 80 ft (24.38 m) or greater than 20 ft (6.10 m)vertical separation, See Residential Piping and Long Line Guideline for special charging requirements.
Units with Cooling Mode TXV
Units installed with cooling mode TXV require charging by the subcooling method.
- Operate unit a minimum of 15 minutes before checking charge.
- Measure liquid service valve pressure by attaching an accurate gage to service port.
- Measure liquid line temperature by attaching an accurate thermistor type or electronic thermometer to liquid line near outdoor coil.
- Refer to unit rating plate for required subcooling temperature.
- Refer to Table 6. Find the point where required subcooling temperature intersects measured liquid service valve pressure.
- To obtain required subcooling temperature at a specific liquid line pressure, add refrigerant if liquid line temperature is higher than indicated or reclaim refrigerant if temperature is lower. Allow a tolerance of ?3°F.
Units with Indoor Pistons
Units installed with indoor pistons require charging by the superheat method. The following procedure is valid when indoor airflow is within 20 percent of its rated CFM
- Operate unit a minimum of 15 minutes before checking charge.
- Measure suction pressure by attaching an accurate gage to suction valve service port.
- Measure suction temperature by attaching an accurate thermistor type or electronic thermometer to suction line at service valve.
- Measure outdoor air dry–bulb temperature with thermometer.
- Measure indoor air (entering indoor coil) wet–bulb temperature with a sling psychrometer.
- Refer to Table 7. Find outdoor temperature and evaporator entering air wet–bulb temperature. At this intersection, note superheat. Where a dash (––) appears on the table, do not attempt to charge system under these conditions or refrigerant slugging may occur. Charge must be weighted in, adding or removing 0.6 oz/ft of 3/8 liquid line above or below 15 ft (4.57 m) respectively.
- Refer to Table 8. Find superheat temperature located in item 6 and suction pressure. At this intersection, note suction line temperature.
- If unit has a higher suction line temperature than charted temperature, add refrigerant until charted temperature is reached.
- If unit has a lower suction line temperature than charted temperature, reclaim refrigerant until charted temperature is reached.
- When adding refrigerant, charge in liquid form into suction service port using a flow–restricting device.
- If outdoor air temperature or pressure at suction valve changes, charge to new suction line temperature indicated on chart.
- Optimum performance will be achieved when the operating charge produces 5° to 6°F suction superheat at suction service valve with 82°F outdoor ambient and 80°F (26.7°C) dry bulb 67°F (19.4°C) wet bulb indoor temperature (DOE “B” test conditions) at rated airflow.
Heating Check Chart Procedure
To check system operation during heating cycle, refer to the Heating Check Chart on outdoor unit. This chart indicates whether a correct relationship exists between system operating pressure and air temperature entering indoor and outdoor units. If pressure and temperature do not match on chart, system refrigerant charge may not be correct. Do not use chart to adjust refrigerant charge.
Table 4 – Additional Subcooling Required
| Subcooling Delta from Rating Plate Value | |||||||||
| Outdoor Unit TonnageIndoor unit | Additional Subcooling Required | |||||||||
| 18 | 24 | 30 | 36 | 42 | |||||
| CAP**1917AL* | +5 | CAP**2517AL* | +5 | FM(C,U)4X30**AL* | +5 | CAP**3721AL* | +5 | CAP**4321AL* | +3 |
| CAP**2517AL* | +5 | FM(C,U)4X24**AL* | +5 | FM(C,U)4Z30**AL* | +5 | CAP**4321AL* | +5 | CAP**4821AL* | +3 |
| CSPH*2412AL* | +3 | FJ4DNXB30L* | +3 | CAP**3721AL* | +5 | CAP**4824AL* | +3 | ||
| FJ4DNXB24L* | +3 | FM(C,U)4X30**AL* | +5 | FM(C,U)4X36**AL* | +5 | ||||
| FB4CNP025L | +3 | FM(C,U)4Z30**AL* | +5 | FM(C,U)4Z36**AL* | +5 | ||||
| FX4DNF019L | +3 | ||||||||
| FX4DNF025L | +3 | ||||||||
| FM(C,U)4X18**AL* | +5 | ||||||||
| FM(C,U)4X24**AL* | +5 | ||||||||
| FM(C,U)4Z18**AL* | +5 | ||||||||
| FM(C,U)4Z24**AL* | +5 | ||||||||
Table 5 – Required Liquid Line Temperatures °F
| LIQUID PRESSURE AT SERVICE VALVE (PSIG) | REQUIRED SUBCOOLING TEMPERATURE (°F) | |||||
| 8 | 10 | 12 | 14 | 16 | 18 | |
| 251 | 76 | 74 | 72 | 70 | 68 | 66 |
| 259 | 78 | 76 | 74 | 72 | 70 | 68 |
| 266 | 80 | 78 | 76 | 74 | 72 | 70 |
| 274 | 82 | 80 | 78 | 76 | 74 | 72 |
| 283 | 84 | 82 | 80 | 78 | 76 | 74 |
| 291 | 86 | 84 | 82 | 80 | 78 | 76 |
| 299 | 88 | 86 | 84 | 82 | 80 | 78 |
| 308 | 90 | 88 | 86 | 84 | 82 | 80 |
| 317 | 92 | 90 | 88 | 86 | 84 | 82 |
| 326 | 94 | 92 | 90 | 88 | 86 | 84 |
| 335 | 96 | 94 | 92 | 90 | 88 | 86 |
| 345 | 98 | 96 | 94 | 92 | 90 | 88 |
| 354 | 100 | 98 | 96 | 94 | 92 | 90 |
| 364 | 102 | 100 | 98 | 96 | 94 | 92 |
| 374 | 104 | 102 | 100 | 98 | 96 | 94 |
| 384 | 106 | 104 | 102 | 100 | 98 | 96 |
| 395 | 108 | 106 | 104 | 102 | 100 | 98 |
| 406 | 110 | 108 | 106 | 104 | 102 | 100 |
| 416 | 112 | 110 | 108 | 106 | 104 | 102 |
| 427 | 114 | 112 | 110 | 108 | 106 | 104 |
| 439 | 116 | 114 | 112 | 110 | 108 | 106 |
| 450 | 118 | 116 | 114 | 112 | 110 | 108 |
| 462 | 120 | 118 | 116 | 114 | 112 | 110 |
| 474 | 122 | 120 | 118 | 116 | 114 | 112 |
| 486 | 124 | 122 | 120 | 118 | 116 | 114 |
| 499 | 126 | 124 | 122 | 120 | 118 | 116 |
| 511 | 128 | 126 | 124 | 122 | 120 | 118 |
Table 6 – Superheat Charging (Heat Pump Only)
| OUTDOOR TEMP (°F) | EVAPORATOR ENTERING AIR TEMPERATURE (°F WB) | |||||||||||||
| 50 | 52 | 54 | 56 | 58 | 60 | 62 | 64 | 67 | 68 | 70 | 72 | 74 | 76 | |
| 55 | 11 | 11 | 12 | 12 | 12 | 13 | 17 | 20 | 24 | 24 | 25 | 25 | 25 | 25 |
| 60 | 6 | 6 | 7 | 7 | 7 | 7 | 12 | 16 | 21 | 22 | 23 | 23 | 23 | 23 |
| 65 | – | – | – | – | – | 3 | 7 | 12 | 18 | 19 | 21 | 21 | 22 | 22 |
| 70 | – | – | – | – | – | – | – | 7 | 14 | 16 | 18 | 20 | 20 | 20 |
| 75 | – | – | – | – | – | – | – | 3 | 11 | 13 | 16 | 18 | 18 | 19 |
| 82 | – | – | – | – | – | – | – | – | *6 | 8 | 12 | 15 | 16 | 17 |
| 85 | – | – | – | – | – | – | – | – | 4 | 7 | 11 | 14 | 15 | 16 |
| 90 | – | – | – | – | – | – | – | – | – | 4 | 8 | 12 | 14 | 15 |
| 95 | – | – | – | – | – | – | – | – | – | – | 6 | 10 | 12 | 14 |
| 100 | – | – | – | – | – | – | – | – | – | – | 4 | 8 | 11 | 12 |
| 105 | – | – | – | – | – | – | – | – | – | – | 3 | 6 | 9 | 11 |
| 110 | – | – | – | – | – | – | – | – | – | – | – | 5 | 7 | 10 |
| 115 | – | – | – | – | – | – | – | – | – | – | – | 3 | 6 | 8 |
*. Optimum performance point, 82°F outdoor ambient and (80°F dry bulb),( 67°F wet bulb) indoor conditions. (DOE B Test Conditions) Where a dash (––) appears do not attempt to charge system under these conditions or refrigerant slugging may occur. Charge must be weighed in.
Note: Superheat °F is at low–side service port, Allow a tolerance of ± 3°F
Note: Indoor dry bulb between 70°F and 80°F
Table 7 – Required Suction–Line Temperature
| SUPERHEAT TEMP (°F) | SUCTION PRESSURE AT SERVICE PORT (PSIG) | ||||||||
| 107.8 | 112.2 | 116.8 | 121.2 | 126 | 130.8 | 138.8 | 140.8 | 145.8 | |
| 0 | 35 | 37 | 39 | 41 | 43 | 45 | 47 | 49 | 51 |
| 2 | 37 | 39 | 41 | 43 | 45 | 47 | 49 | 51 | 53 |
| 4 | 39 | 41 | 43 | 45 | 47 | 49 | 51 | 53 | 55 |
| 6 | 41 | 43 | 45 | 47 | 49 | 51 | 53 | 55 | 57 |
| 8 | 43 | 45 | 47 | 49 | 51 | 53 | 55 | 57 | 59 |
| 10 | 45 | 47 | 49 | 51 | 53 | 55 | 57 | 59 | 61 |
| 12 | 47 | 49 | 51 | 53 | 55 | 57 | 59 | 61 | 63 |
| 14 | 49 | 51 | 53 | 55 | 57 | 59 | 61 | 63 | 65 |
| 16 | 51 | 53 | 55 | 57 | 59 | 61 | 63 | 65 | 67 |
| 18 | 53 | 55 | 57 | 59 | 61 | 63 | 65 | 67 | 69 |
| 20 | 55 | 57 | 59 | 61 | 63 | 65 | 67 | 69 | 71 |
| 22 | 57 | 59 | 61 | 63 | 65 | 67 | 69 | 71 | 73 |
| 24 | 59 | 61 | 63 | 65 | 67 | 69 | 71 | 73 | 75 |
| 26 | 61 | 63 | 65 | 67 | 69 | 71 | 73 | 75 | 77 |
| 28 | 63 | 65 | 67 | 69 | 71 | 73 | 75 | 77 | 79 |
| 30 | 65 | 67 | 69 | 71 | 73 | 75 | 77 | 79 | 81 |
Final Checks
IMPORTANT: Before leaving job, be sure to do the following:
- Ensure that all wiring is routed away from tubing and sheet metal edges to prevent rub–through or wire pinching.
- Ensure that all wiring and tubing is secure in unit before adding panels and covers. Securely fasten all panels and covers.
- Tighten service valve stem caps to 1/12–turn past finger tight.
- Leave Owner’s Manual with owner. Explain system operation and periodic maintenance requirements outlined in manual.
- Fill out Dealer Installation Checklist and place in customer file.
Care and Maintenance
For continuing high performance and to minimize possible equipment failure, periodic maintenance must be performed on this equipment. Frequency of maintenance may vary depending upon geographic areas, such as coastal applications. See Users Manual for information.
Training
My Learning Center is your central location for professional residential HVAC training resources that help strengthen careers and businesses. We believe in providing high quality learning experiences both online and in the classroom. Access My Learning Center with your HVACpartners credentials at www.mlctraining.com. Please contact us a [email protected] with questions.
















