SimpliFire SF-FORMAT36 36 Inch Wall Mounted Electric Fireplace

NOTICE! DO NOT discard this manual. Important service and maintenance instructions included.
Once the appliance is mounted to the wall and the preferred electrical connection has been installed, the mantel can be installed.
Preparation
Remove the mantel and hardware from the packaging.
Refinishing (Optional)
Mantel is finished in white. If refinishing is desired, the following steps are recommended prior to assembling the mantel:
- Properly cover any areas of work space that you do not want to be painted.
- Lightly scuff the existing finish with 320 grit sandpaper.
- Remove dust using lint free cloth.
- For best results, apply a base coat of spray paint primer to evenly cover the mantel.
- Wait the recommended amount of time per the paint and primer instructions, then apply a spray paint top coat in the color of choice to evenly cover the mantel.
- Apply additional top coats until desired coverage is achieved.
NOTICE
- Follow all recommended guidelines for the materials you are using.
- Do not spray paint near the appliance.
- Do not spray paint while the appliance is operating.
- Always wear appropriate goves, eye protection, clothing and a respirator or mask when painting.
- The room or area you are spraying must be well ventilated and must be properly masked in order to preventing overspray from covering woodwork, floors or furnishings.
Mantel Options
There are three available mantels.

SF-FM43-WH Installation
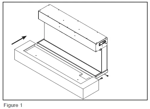
- Slide the bottom mantel section onto the appliance and connect the bottom mantel wire connection to the appliance wire connector protruding from the bottom of the appliance (the cover plate on the bottom of the appliance may need to be removed to access the wire connector). See Figure 1 and 2.


- Fasten the bottom mantel section to the appliance with two M5*35 Phillips screws. See Figure 5.
- Before installing the top mantel, bend the mounting tabs slightly into a more open position to allow for clearance while installing the mantel. See Figure 3.

- Slide the top mantel section onto the appliance See Figure 4.

- Once the top mantel is in place, bend the mounting tabs at a 90° angle so it is flush against the inner surface of the appliance.
- Secure the top mantel to the appliance using two (2) M5X12 thumb screws with rubber washers. See Figure 5.

SF-FM50-WH and SF-FM60-WH Installation
- Slide the bottom mantel section onto the appliance and connect the bottom mantel wire connection to the appliance wire connector protruding from the bottom of the appliance (the cover plate on the bottom of the appliance may need to be removed to access the wire connector). See Figure 6.

- Fasten the bottom mantel section to the appliance with two M5*35 Phillips screws. See Figure 10.
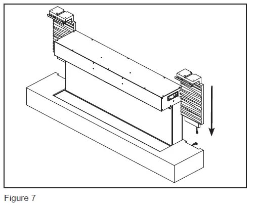
- Attach the side panel wire connector to the connector on the bottom mantel section. Slide the side panels into the recess between the bottom mantel section and the wall. Take care not to pinch the wire between the side panel and the wall. See Figure 7.

- Before installing the top mantel, bend the mounting tabs slightly into a more open position to allow for clearance while installing the mantel. See Figure 8.

- Slide the top mantel section onto the appliance. See Figure 9.

- Once the top mantel is in place, bend the the mounting tabs at a 90° angle so it is flush against the inner surface of the appliance.
- Secure the top mantel to the appliance using two (2) M5X12 thumb screws with rubber washers. See Figure 10.

- Secure the side panels using two (2) provided M5*35 screws.
NOTICE: The total weight of objects placed on the mantel shelf must not exceed 50 lbs (23 Kg).

SimpliFire, a brand of Hearth & Home Technologies 7571 215th Street West, Lakeville, MN 55044 www.hearthnhome.com
SimpliFire • Format Mantel Instruction Manual • 2042-951 Rev. C • 5/22



























