
Instructions for Use
Please read and retain these instructions for future reference
v001: 17/03/21
Wall Mounted Fireplace H766
Please read and retain these instructions for future reference
- AC 220-240V 50Hz 1800W
- 1X CR2025 BATTERY REQUIRED
FOR REMOTE CONTROL (INCLUDED)
Dimensions
(H) 61.4 x(W) 66 x(D) 28cm
- 26INCH WALL MOUNTED FIRE PLACE WITH AN ADDITIONAL STAND FOR FREESTANDING SO THAT IT CAN WORK IN ANY SPACE
- 2 DIFFERENT HEAT SETTINGS
- REALISTIC LOOKING LOG EFFECT FRAME
- BLACK CURVED TEMPERED GLASS FRONT PANEL
- COMES WITH A REMOTE CONTROL FOR ON/OFF, HEAT SETTING AND LIGHT DIMMER AND ALSO HAS A MANUAL CONTROL PANEL ON FIREPLACE
- FLAME EFFECT CAN BE USED WITHOUT THE HEAT SETTINGS
- ADJUSTABLE FLAME BRIGHTNESS
- SAFETY THERMAL CUT OFF DEVICE
ASSEMBLY INSTRUCTIONS / INSTRUCTIONS FOR USE:
Unpack the components carefully. Please check all parts have been removed from the packaging.
THIS PRODUCT IS ONLY SUITABLE FOR WELL INSULATED SPACES OR OCCASIONAL USE.
WARNING! DO NOT COVER WHEN IN USE.
![]()
- This heater is not intended for use in bathrooms, laundry areas and similar indoor locations. NEVER locate heater where it may fall into a bathtub or other water container. To protect against electrical hazards, DO NOT immerse in water or other liquids.
- DO NOT touch the control panel or plug with a wet hand.
IMPORTANT INSTRUCTIONS
When using this electric unit, basic safety precautions should always be followed to reduce the risk of fire, electric shock, and injury to persons, including the following:
- READ ALL INSTRUCTIONS BEFORE USING THIS UNIT.
- CAUTION: RISK OF ELECTRIC SHOCK. DO NOT OPEN OR TRY TO REPAIR THE HEATER YOURSELF.
- THIS HEATER MAY GET HOT WHEN IN USE. TO AVOID BURNS, DO NOT LET BARE SKIN TOUCH HOT SURFACES.
- KEEP COMBUSTIBLE MATERIALS, SUCH AS FURNITURE, PILLOWS, BEDDING, PAPER, CLOTHES, AND CURTAINS AT LEAST 3 FT FROM THE FRONT OF THE HEATER AND KEEP THEM AWAY FROM THE SIDES, TOP, AND REAR. DO NOT PLACE TOWELS OR OTHER OBJECTS ON THE HEATER.
- EXTREME CAUTION IS NECESSARY WHEN ANY HEATER IS USED BY OR NEAR CHILDREN OR THE DISABLED, OR WHEN THE HEATER IS LEFT OPERATING AND UNATTENDED.
- DO NOT OPERATE ANY HEATER WITH A DAMAGED CORD OR AFTER THE HEATER MALFUNCTIONS, HAS BEEN DROPPED OR DAMAGED IN ANY MANNER. RETURN HEATER TO AUTHORIZED SERVICE FACILITY FOR EXAMINATION, ELECTRICAL OR MECHANICAL ADJUSTMENT, OR REPAIR.
- THIS HEATER IS NOT INTENDED FOR USE IN BATHROOMS, LAUNDRY AREAS AND SIMILAR INDOOR LOCATIONS. NEVER LOCATE HEATER WHERE IT MAY FALL INTO A BATHTUB OR OTHER WATER CONTAINER. TO PROTECT AGAINST ELECTRICAL HAZARDS, DO NOT IMMERSE IN WATER OR OTHER LIQUIDS.
- DO NOT TOUCH THE CONTROL PANEL OR PLUG WITH A WET HAND.
- DO NOT RUN CORD UNDER CARPETING. DO NOT COVER CORD WITH THROW RUGS, RUNNERS, OR SIMILAR COVERINGS. ARRANGE CORD AWAY FROM TRAFFIC AREA AND WHERE IT WILL NOT BE TRIPPED OVER.
- DO NOT INSERT OR ALLOW FOREIGN OBJECTS TO ENTER ANY VENTILATION OR EXHAUST OPENING AS THIS MAY CAUSE AN ELECTRIC SHOCK OR FIRE, OR DAMAGE THE HEATER.
- TO PREVENT A POSSIBLE FIRE, DO NOT BLOCK THE AIR INTAKES OR EXHAUST IN ANY MANNER. DO NOT USE ON SOFT SURFACES, LIKE A BED, WHERE OPENINGS MAY BECOME BLOCKED.
- A HEATER HAS HOT AND ARCING OR SPARKING PARTS INSIDE. DO NOT USE IN AREAS WHERE PETROL, PAINT, EXPLOSIVE AND/OR FLAMMABLE LIQUIDS ARE USED OR STORED. KEEP UNIT AWAY FROM HEATED SURFACES AND OPEN FLAMES.
- ALWAYS PLUG HEATERS DIRECTLY INTO A WALL SOCKET NEVER USE WITH AN EXTENSION CORD OR RELOCATABLE POWER TAP(OUTLET/POWER STRIP).
- TO AVOID FIRE OR SHOCK HAZARD, PLUG THE UNIT DIRECTLY INTO AN ELECTRICAL OUTLET.
- TO DISCONNECT HEATER, TURN CONTROLS TO OFF, THEN REMOVE PLUG FROM OUTLET. PULL FIRMLY ON THE PLUG, DO NOT UNPLUG BY PULLING ON THE CORD.
- ALWAYS UNPLUG THE UNIT BEFORE MOVING OR CLEANING, OR WHENEVER THE HEATER IS NOT IN USE.
- USE ONLY FOR INTENDED HOUSEHOLD USE AS DESCRIBED IN THIS MANUAL. ANY OTHER USE NOT RECOMMENDED BY THE MANUFACTURER MAY CAUSE FIRE, ELECTRIC SHOCK, OR INJURY TO PERSONS. THE USE OF ATTACHMENTS NOT RECOMMENDED OR SOLD BY UNAUTHORIZED DEALERS MAY CAUSE HAZARDS.
- ALWAYS USE ON A DRY, LEVEL SURFACE.
- DO NOT USE OUTDOORS.
- WARNING: TO REDUCE THE RISK OF FIRE OR ELECTRIC SHOCK, DO NOT USE THIS UNIT WITH ANY SOLID-STATE SPEED CONTROL DEVICE.
- DO NOT ATTEMPT TO REPAIR OR ADJUST ANY ELECTRICAL OR MECHANICAL FUNCTIONS ON THIS UNIT. THE INSIDE OF THE UNIT CONTAINS NO USER SERVICEABLE PARTS. QUALIFIED PERSONNEL SHOULD PERFORM ALL SERVICING ONLY.
SAVE THESE INSTRUCTIONS
SAFETY FEATURES
Overheat Safety Feature
This heater is equipped with an overheat safety feature. When the heater’s internal components reach a certain temperature that could cause overheating or possible fire, the heater will automatically shut off.
WARNING: It is normal for the power cord to feel warm to the touch; however, a loose fit between the outlet and the plug may cause overheating of the plug. If this occurs, try inserting the plug into a different outlet. Contact a qualified electrician to inspect the original outlet for damage.
Method of Using: 1:Wall Installation 2:Free Standing
PARTS AND ACCESSORIES
- Electric fireplace
- Remote control (including button battery)
- Wall bracket
- Manual
- Feet x 2
- Screw 4*16mm x 8 (To fix the feet to the heater)
- Screw 4*45mm x 3 (To fix the wall bracket)
- Dowels x 3 (To fix the wall bracket)
- Screws 4*12mm x 2 (To fix the heater to the wall bracket)
Product diagram

Control panel

Remote control

Important: please remove the insulating film from battery cover as shown 
Your new electric fireplace may be installed virtually anywhere in your home. However, when choosing a location be sure to follow the general instructions included. For best results install out of direct sunlight.
Disclaimer :
To avoid any risk of fire, make sure that nothing is placed on top of the heater. The minimum distances indicated below must be respected for good fire prevention.
| Upside | 1.0m |
| Downside | 0.5m |
| Left side | 0.5m |
| Right side | 0.5m |
Important :
Always make sure that the unit is unplugged from the power supply before beginning installation.
Never move or clean the heater while it is plugged in.
Check the wall to make sure there are no wires, pipes, etc. when drilling holes in this area.
The heater cannot be fixed to a cavity wall. It must be fixed to a solid wall
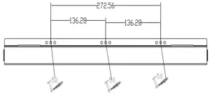
First, fix the three dowels to the wall according to the distances shown in the picture below, then drive the three 4*45mm screws into the wall mounting bracket and into the dowels that have been fixed to the wall.
Align the brackets on the back of the electric heater with the slot in the wall bracket as shown.
NOTE: IF YOU CHOOSE TO HANG THE HEATER ON THE WALL, YOU WILL NOT BE ABLE TO ATTACH THE FEET TO THE PRODUCT.
FOOT ASSEMBLY FOR FREESTANDING OPTION
Eight 4*16mm screws are used to fix the feet to the product, as shown in the picture on the previous page.
Always use your appliance with feet fixed.
Note: if you choose to place the heater on the floor, you do not need to fix the wall support.
Operating instruction
![]() | 1. Switching on the power First, turn on the switch located on the right side of the heater. This is the main power supply to the appliance. Press the power button to switch to standby mode and trigger the flame effect. Press the power button to enter the operating or standby mode, and the heating function and flame effect will stop (the fan will stop after 30 seconds). |
![]() | 2. Adjusting the flame brightness In standby/on mode, press the flame button to reduce the brightness. Each time the flame button is pressed (up to 4 times), the brightness will decrease. When the flame button is pressed for the fifth time, the brightness will return to its initial state. |
![]() | 3. Heating In standby mode, press the button to turn on the heater. In standby mode, when you press the heater button on the control panel or on the remote control, the heating power is high (1800W) and the indicator light comes on. If you press the button again, the healing power will be reduced (900W). If you press the heating button for the third time, the heating function will stop and the heating fan will stop automatically after 30 seconds. |
![]() | 4. Timer To set the heater timer function, press the timer button on the control panel or remote control when the heater is off. The heater will then go into standby mode and the start time can then be set. To set the end time, press the timer button again while the heater is in standby mode and it will automatically turn off at the set time. The timer function increases by one hour each time the timer button is pressed up to a maximum of 24 hours. |
![]() | 5. Setting the temperature Press the “UP” button on the remote control or control panel to increase the temperature (temperature range is 15-30℃). |
![]() | Press the “DOWN” button on the remote control or control panel to lower the temperature (the temperature range is 15-30℃). |
MAINTENANCE
- Turn off the heater of the power switch.
- Unplug the unit and let it cool completely.
- To keep the heater clean, the outer shell may be cleaned with a soft, damp cloth. You may use a mild detergent if necessary. After cleaning, dry the unit with a soft cloth. CAUTION: DO NOT let the liquid enter the heater. This may cause damage or deterioration to the surface of the heater.
- DO NOT use alcohol, petrol, abrasive powders, furniture polish, or rough brushes to clean the heater.
This may cause damage or deterioration to the surface of the heater. - DO NOT immerse the heater in water.
- Wait until the unit is completely dry before use.
- If you do not use the unit for a long time, please remove the battery from the remote control according to the following steps, then store the remote control.

Storage
Store the heater in a cool, dry location when not in use. To prevent dust and dirt build-up, use the original packaging to repack the unit.
TROUBLESHOOTING
- If the heater will not operate, please check the following before seeking repair advice:
- Check if the power cord is plugged into an electrical outlet, if not, plugin.
- Check if the electricity to the main power switch (in the back) is working.
- Check the power switch is on
BATTERIES
- Keep batteries away from children and pets.
- Do not mix used and new batteries.
- Install batteries in accordance with its polarity symbols.
- Remove the batteries if left for long periods.
- Never dispose of batteries in a fire.
- Keep batteries away from children and pets.
- Battery disposal spent or expired batteries must be properly disposed of and recycled in compliance with local regulations. For detailed information, contact your local authority.
- Follow the battery manufacturer’s safety, usage, and disposal instructions.
PLUG WIRING (UK & IRELAND)
This appliance is fitted with a molded BS 1363 13-amp plug. If you have to replace the fuse, only those that are ASTA or BSI approved to BS1362 and with a rated current of 13-amps should be used. If there is a fuse cover fitted, this cover must be re-fitted after changing the fuse. If the fuse cover is lost or damaged the plug must not be used.
DISPOSAL
- Coopers of Stortford use recyclable or recycled packaging where possible.
- Please dispose of all packaging, paper, cartons, packaging in accordance with your local recycling regulations.
- Plastics, polybags – this is made from the following recyclable plastic.



| Code & Symbol | ![]() |
| Type of Plastic | Low-Density Polyethylene |
| Commonly used for | Shopping bags, bread bags, squeezy bottles, stretch/pallet wrap, bubble wrap, multi-pack can holders |
| Notes | Usually recyclable supermarket deposit points. Check other plastic films as any non-polythene film e.g. cling film, crisp packets film lids |
- At the end of the product’s lifespan please check with your local council authorized household waste recycling center for disposal.


| Item | Symbol | Value | Unit | Item | Unit | |
| Heat output | Type of heat input, for electric storage local space heaters only (select one) | |||||
| Nominal heat output | Pnom | 1.8 | kW | AMMAN heat charge Control. with integrated thermostat | [no] | |
| Minimum heat output Indicative) | Pmin | N/A | kW | manual heat charge control with morn and/or outdoor temperature feedback | [no] | |
| Maximum COMMOUS heat output | Pmax,c | 1.690 | kW | electronic heat charge control with room and/or outdoor temperature feedback | [no] | |
| Auxiliary electricity consumption | fan assisted heat output | [no] | ||||
| At nominal heat output | elamax | NIA | kW | Type of heat output/room temperature control (select one) | ||
| At minimum heat output | elmin | N/A | kW | singte stage heat output and no room temperature control | [no] | |
| In standby mode | elSB | 0.0008 | kW | Two or more manual stages, no room temperature control | [no] | |
| with mechanic thermostat room temperature control | [no] | |||||
| with electronic room temperature control | [no] | |||||
| electronic room temperature control plus day finer | [no] | |||||
| electronic room temperature control plus week tents | [yes] | |||||
| Other control options (multiple selections possible) | ||||||
| room temperature control, with presence detection | (no] | |||||
| room temperature control, with open window detection | (yes] | |||||
| with distance control option | (no] | |||||
| with adaptive start control | VIA | |||||
| with working tune limitation | [yes] | |||||
| with black but sensor | [no] | |||||
| Contact deta/s | Coopers of Stortford, 11 Bridge Street, Bishop’s Stortford, Hertfordshire, CM23 2JU | |||||
*Calls cost 7 pence per minute plus your telephone company’s network access charge
Head Office, 11 Bridge Street, Bishop’s Stortford CM23 2JU Tel: 0844 482 4400
Fax: 01279 756 595
www.coopersofstortford.co.uk





























