MOEN INS1472B-11 Touchless Urinal Flusher Instruction Manual

Helpful Tools
For safety and ease of replacement, Moen recommends the use of these helpful tools.


Image is for reference only (Style varies by model)
Record Purchased Model Number: (Save instruction sheet for future reference
Product Structure




Parts List
The picture is for reference only, please refer to the actual product.

Product Characteristics
The urinal flush valve is designed and made with the infrared sensing technology. It has the following characteristics:
- Intelligence: It can detect if anyone is using the urinal and flush the urinal accordingly.
- Automaticity: It can flush the urinal automatically when it detects someone is using the urinal.
- Hygience: User does not need to touch it, which is convinient and hygienic.
- Adaptability: It has elegant and exquisite look and is easy to install, which makes it is suitable for all kinds of scenarios.
Technical Specifications
| Model | AC Type | DC Type |
| Voltage | AC 220V | DC 6V |
| Power consumption | state:≤2W, Work:≤4W | state:≤0.2mW |
| Water pressure range | 0.05~0.6Mpa | |
| Water supply bore | G1/2’’ | |
| Environment temperature | 1~55 °C | |
| Relative environment humidity | ≤95% | |
| Water temperature | ≤45°C | |
| Working temperature | ≤75°C | |
| Sensing time | Automatic movement over 3 seconds. | |
| Induction distance | :65cm±10%,40cm-80cm,297mm x 297mm。Default: 65cm ± 10%, 40cm-80cm adjustable, according to the tests with 297mm x 297mm white board. | |
| Flushing volume | (0.17±0.01Mpa):≤3L/)。 The static water pressure (0.17Mpa ± 0.01Mpa): ≤3L/cycle (regulation valve inside). | |
Installation Preparation
Please reserve the installation position according to the following diagram.
The specific installation dimensions are for reference only, please refer to the actual product.


Installation Steps

Before you prepare to connect the inlet and outlet pipes, please flush the pipes first.
Note: the urinal should be protected before flushing the pipeline to prevent debris from being flushed into the urinal and causing blockage during flushing.
Screw the movable joint of the control box marked water inlet to the prepared water inlet pipe. (Tighten the nut on the movable joint) Note: A sealing ring must be placed in the movable joint (the product is equipped with a sealing ring when it leaves the factory). After installation, turn on the water source to ensure that there is no water leakage before proceeding to the next installation.

Screw the elbow with a movable joint to the water outlet (G1/2’’) of the control box. Note: A sealing ring must be placed in the movable interface (the product is equipped with a sealing ring when it leaves the factory)
(AC type) Remove the protective box, guide the wires into the control box according to the reserved wire slot, and connect the red wire to the AC220V power wire. (DC type) As shown in the figure, after installing the battery, plug it in.
Note: The wire interface is covered with insulating tape .
Install the protective box, fill the air raid with cement and paste the porcelain drill.
Note: The diamond surface must not be lower than the scale line of the protective box.
a. Put the colloid into the urinal.
b. Put the decorative cup into the “7” type syphon.
c. Insert the “7” type syphon into the colloid.
d. Fix the “7” type syphon on the outlet joint with a bevel edged nut.
e. Cover the decorative cups separately.
Note: Beveled edge sealing ring must be put in the beveled edge nut.
Connect the control box, water inlet and outlet pipes. After the cement is filled and hardened, remove the protective box on the control box.
a. Align the four mounting holes on the frame with the mounting holes on the bottom box of the urinal flusher, and then tighten the frame with M4 x 40mm round head screws
b. After checking the connection of the power cord, install the stainless steel panel.
c. As shown in the figure, when the stainless steel panel needs to be removed, the panel can be sucked and pull out by the accessory sucker.
Note: After the installation is complete and the power cord connection is checked, perform a test flush.
Operation Instruction
When the user stands in front of the urinal in a habitual manner for convenience, the first pre-washing and flushing starts after 3 seconds. When the user leaves, the internal computer memory system of the flusher will perform the second cleaning and flushing
In order to save water, within 30 seconds after the first person uses it and the second person uses it again, the first flush is cancelled. When the urinal flusher is not used within 24 hours, the internal computer memory system will automatically flush the water once.
Precautions for Use
- Please don’t install the device on the stainless steel wall and before infrared inducting device with high-strength reflection.
- Please clean the electronic eye window regularly so as to avoid the bad induction effect.
- Please clean the filter if you find the outlet volume isn‘t large enough.
- If you find no induction or the connection is not so good for the AC type flusher, please turn off the power supply and ask the professional to avoid the accident
problem. Please change and put in some new batteries when the type B batteries has gone out as follows. (As shown below

- Please put the battery into hte battery box correctly according to the hallmark “+” and “-” in the surface or the battery-box panel, and screw the nuts tightly after the installation of the sealed rings.
- Don’t be mixed-use the old and new batteries together.
- Don’t use the batteries which not alkaline batteries.
Functions Adjustment
Remove the panel and adjust the functions according to the install tive mode of the panel.
- water volume Adjustment
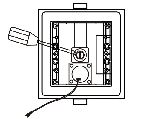
Remove the panel with flat-blade screwdriver (as illustrated). The water volume increases in the left-hand direction, and decreases in the right-hand direction.

- Sensor Distance Adjustment
Sensor distance can be adjusted by remote control.
If necessary, please consult after-sales service personnel. - Electric Eye Indicator
- In the first two minutes of power on, the sensor has induction light, after two minutes, the light will flash one time when be inducted each time.
- Low voltage warning: pleaes change new battery when the sensor flashing red and green light each 6 seconds, which showed low batter power.
- Low voltage protection: Please change battery in time when the sensor flashing red light two times each 6 seconds, and also no water coming when induct the sensor, which showed the batter used up
Note: First, the sensor product can not towards to the specular reflection like the mirror, sunshine, light, SS
material door. If in that way, it will be caused problem fromthe reflection, maybe water out automatically in a long time. Second, can not install too close to the equipment which with strong electromagnetic interference [like transformer substation, large central air conditioning, etc.) [refer to Figure two l. If like that, only can do a special handling to deal with the problems.

- Surface Cleaning
Clean the sensor window so as to keep good induction effect.
- Filter Cleaning
Use a flat-blade screwdriver to adjust the regulating valve to turn off the water source, unscrew the filter, clean it with a toothbrush, and reinstall it.

- Do not flush the surface directly

- Do not clean with caustic detergent

Do not flush it directly, otherwise it is likely to cause electric leakage or spoil the circuit in the control box.
It should be kept away from sulphate acid, hydrochloric acid, hydrochloric acid or other kinds of caustic agents.
Troubleshooting
Please check and do as the following instruction when the following phenomenon happens.
| Trouble | Cause | Check and Analyze | Solution |
| No water flow | Abnormal power | Check whether the sensor power supply is normal | AC: Connect to power supply DC: Replace batteries |
| Abnormal water | Check the water supply | Turn on the water supply system | |
| Bad contact of the connector | Check whether the connector is tightened or there are foreign objects inside | Tighten or cleaning | |
| Filter cloggedr | Blocked by a foreign body | Clean the filter | |
| Water flow dosen’t stop | Foreign matter on the solenoid valve | Clean the plastic membrane | |
| Sensing distance is too long | Adjust with remote control | ||
| Too little water flow | Filter cloggedr | Clean the filter |
MOEN LIMITED WARRANTY
We offer limited warranty and lifetime maintenance for Moen products, which are all manufactured with high standards of workmanship. The period of warranty shall start from the date of purchase of the product (according to the invoice or receipt issued by Moen distributors) and shall cover a period of the following: the warranty period for flusher is 3 years. This warranty is your coverage against material and workmanship malfunction or defects in Moen products or components. During the warranty period, we offer free maintenance and changing of malfunctioned products or product components. Moen’s after sales service liability is limited to the maintenance of faulty items and does not cover your other losses caused by product malfunction, except for otherwise stipulated by law. Cosmetic damages (scratches, dents, etc.) and malfunction or defects caused by abuse or impropermaintenance is not covered by this warranty. Although the warranty period remains valid, in case of the following conditions (1) – (5), the maintenance cost (material cost and labor cost) shall still be charged as the case may be:
- Corresponding warranty card and valid invoice cannot be presented;
- Faults were caused by the incompliance with the instructions and precautions provided in the user’s manual;
- Damages and faults were caused by self-actuated dismantling, repair and refit;
- Faults and damages were caused by external factors such as force majeure;
- Damages were caused by transportation, unloading and extrusion, etc.
This warranty is valid for the original consumers only (including hotel use), and excludes industrial and commercial use of the product (except for hotel use). This card is only responsible for product maintenance rather than any other liabilities.
In the event that the product requires maintenance but exceeds the warranty period, or that the product is not covered by this warranty, labor cost and material cost shall be charged as the case may be.
Please call 400-630-8866 or contact local dealer for any question.
©2021 Moen Incorporated
MOEN (SHANG HAI)KITCHEN&BATH PRODUCTS CO.,LTD No. 399 Fute North RD, China (Shanghai) Pilot Free Trade Zone, Shanghai 200131 P.R. China
www.moen.cn
PLEASE CONTACT MOEN FIRST
For Installation Help, Missing or Replacement
Parts
(China) 400-630-8866
www.moen.cn





















