RT D7020 Touchless Flush Mechanism
Product Features
- Integrated design
Integrated design combining fill valve and flush valve, easy installation, concise and aesthetic appearance. - Touchless Flush
No touch induction flush, flush just after waving your hand, prevent bacterial infection, easy to use. - Back-up mechanical push button
It can be used when the battery is dead or electronically faulty with mechanical push buttons; And it is also hydraulic drive flushing, short button travel, light press . - Energy Saving
Low power consumption: 3pcs 1.5 V “AAA” size alkaline batteries can be used for sensor module for 8 to 10 months and 4pcs 1.5V
“AA” alkaline batteries can be used for control module for 1 year based on 3000 cycles per month (Laboratory data, actual time varies slightly indifferent environments). - Water Saving
Patented delayed filling design to save water consumption. - Wide water pressure application range
It can work normally under the dynamic pressure of 0.0?Mpa to static pressure of 0.8Mpa with stable water consumption. - Convenient water level adjustment
By adjusting valve body and shut-off cup height to adjust water level, applicable for a wide range of different tanks. - Anti-syphon function
Prevent water from returning to the water supply system and prevent the water supply system from being contaminated. - Fast drainage and strong flushing effect
WIth a 3″ base, the drainage speed is about 4L/S in a 0.?L/cm standard water tank. (Optional 2″ base) . - Stable and reliable
It adopts advanced production technology to reliably seal the control circuit. The plug-in adopts waterproof connectors to ensure long-term stable and reliable operation. - Easy maintenance
It adopts easy-to-clean built-in filter to block dirty water from entering the inlet valve, and the filter is detachable, easy to operate and easy to clean.
Components Name 
If the product is updated, it will be compiled into the new manual without prior notice; the appearance, color and accessories of the product are different according to the actual needs; the factory does not supply the battery, you need to buy it yourself.
Note: Two options of manual buttons: round shape and square shape.
Specification Parameter
| Working temperature | 2°C-45°C |
| Working Pressure | Dynamic pressure of 0.0?Mpa – Static pressure of 0.8Mpa |
| Power | Sensor module: DC 4.5V (3pcs “AAA” size alkaline batteries) Control module: DC 6V (4PCS “AA” size alkaline batteries) |
| Water inlet | Bottom-in and Back-in |
| water inlet thread | External thread G1/2″ or 15/16-14UNS-1A |
| Applicable tank height | The height between flush valve installation base to the inside top of tank is more than 260MM |
| Sensing distance | 25-40MM |
Control module
FCC ID: 2AW23-D7020-01
Sensor module
FCC ID: 2AW23-D7020-02
This device complies with Part 15 of the FCC Rules. Operation is subject to the following two conditions:
- this device may not cause harmful interference, and
- this device must accept any interference received, including interference that may cause undesired operation.
Warning: Changes or modifications to this unit not expressly approved by the party responsible for compliance could void the user’s authority to operate the equipment.
NOTE: This equipment has been tested and found to comply with the limits for a Class B digital device, pursuant to Part 15 of the FCC Rules. These limits are designed to provide reasonable protection against harmful interference in a residential installation. This equipment generates, uses and can radiate radio frequency energy and, if not installed and used in accordance with the instructions, may cause harmful interference to radio communications.
However, there is no guarantee that interference will not occur in a particular installation. If this equipment does cause harmful interference to radio or television reception, which can be determined by turning the equipment off and on, the user is encouraged to try to correct the interference by one or more of the following measures:
- Reorient or relocate the receiving antenna.
- Increase the separation between the equipment and receiver.
- Connect the equipment into an outlet on a circuit different from that to which the receiver is connected.
- Consult the dealer or an experienced radiofTV technician for help.
Usage Instruction
Wave-sensing flush
Mechanical push button flush
( If the battery is with low voltage or electronically faulty)
*Note: This product is driven by water pressure. Before using, make sure to fully open the angle valve of the water supply pipe and ensure that the water supply pressure is within the range of use. In the case of suspension of water supply, it can’t be flushed even if there’s water in the tank.
Installation Instruction
NOTES:
- Pis read the installation instructions carefully and follow the steps to install them step by step to avoid damage to the product or damage caused by bad operation.
- Please do not use parts not supplied by the company, such as glass glue, for the installation of our accessories.
- Please remove the old parts and clean the water tank before installing this accessory. There may be a lot of sundries for the newly renovated pipes. Please clean up before installing the water tank parts.H:adjustable height 261-311 mm. K (Working water level) Adjustable range: 166-250mm L (Overflow height)General Installation Drawing

Note: Including the height of 8MM rubber gasket.
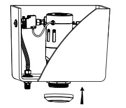
Installation of flush body and base
- Remove the base from the body

- Two Lase
Remove the locknut from the base.
One piece base
Screw the V-type buckle to the end of the bolt. - Install the base set into the water tank hole, adjust the position, tighten the locknut with the torque MS16N.m (For reference only).
Note: The base must not block the tank mounting holes.
Install the base set into the water tank hole, adjust the position, tighten the locknut by screwdriver with the torque MS2.5N.m (For reference only) Make sure the base will not sway.
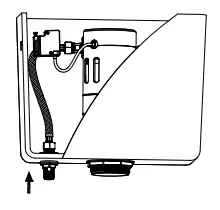
- Installation of valve body

Hose installation
- Take the locknut, plastic washer(white ),rubber washer(black) from the two-way joint.

- One end of the hose is screwed into the water inlet joint; The other end is inserted into the water tank installation hole.

- Install the rubber washer, plastic washer onto the two-way joint in turn, and then screw the water inlet locknut
Recommended torque for locking the nut:- The water inlet nut directly contacts with the tank bottom, the recommended torque is 4 ~ 6N m.
- The water inlet nut not directly contacts with the tank bottom, the recommended torque is 7 ~ 1 ON m.
Note:
- Check whether the water supply pipe and the two-way joint are loose after installing the water supply pipe. If it is loose, tighten it.
- Since the deformation of the ceramic mounting hole may cause water leakage after locking, check the water supply pipe for leaks after installation.
- Remove the nut, plastic washer, rubber washer from the key-press body.

- Install the outton body sets from outside of the water tank into the tank;
Install the rubber washer, plastic washer from the inside of the water tank onto the push button body and lock it with the nut. - Press the buckle and load the button box into the push button sets.

- Refill hose installation
Insert the refill tube into the overflow pipe. Make sure the refill hose is above water level. - Install a two-piece water tank on the two-piece toilet (the one-piece toilet does not have this installation procedure)
Screw the plastic gasket on the base
The bolts pass through the water tank mounting hole and locks the water tank to the toilet.
Installation of control module and sensor module
- Put batteries (4pcs 1.5V “AA” alkaline batteries) into the control module and tighten the screws. (The product doesn’t come installed to sensor module within with batteries)
Note: Pay attention to installation direction when installing inner box components.
- And then put batteries (3pcs 1.5V “AAA” alkaline batteries) into the sensor module and tighten the screws. (The product doesn’t come wifh batteries)
Note: The batteries should be installed to sensor module within three minutes after batteries are installed to control module, the matched between the moaules.
- The installation method of control module holder can be selected according to the installation wall.
Method A: Screw fixing – Suitable for installation on rough gray walls and other rough walls
Method B: Adhesive fixing – Suitable for installation on tiles and other smooth walls.
Method A: Screw fixing
- A- 1: Put control module holder on the pre-installation position and mark the positioning hole on the wall with a pen {when deciding the installation position, it should be noted that when a person sits on the seat, ensure that the hand can touch the sensor module)

- A-2: Drill two holes with diameter 6mm in the vertical direction of the wall, the center distance between the two holes is about 50.5mm, and the depth is 30mm.

- A-3: Put the expansion tubes into the holes on the wall, place sensor module holder against the wall, align the holes of the holder with the expansion tubes and put screw into expansion tubes to lock it.

- A-4: Align sensor module slot with sensor module holder, and then rotate it counterclockwise to lock it.
Note: Do not install and use the product in a wet place such as a bathroom, and prohibit it from being exposed to water.
Method B: Adhesive fixing
- B-1: Clean and dry the pre-installation area of sensor module holder (when deciding the installation position, it should be noted that when a person sits on the seat, ensure that the hand can touch the sensor module) .

- B-2: Tear off the double-sided adhesive sticker on the back of the sensor module holder and paste it vertically on the wall.

- B-3: Align sensor module slot with mounting bracket, and then rotate it counterclockwise to lock it.
Note: Do not install and use the product in a wet place such as a bathroom, and prohibit it from being exposed to water.
Modules code matching
If the sensor module lights up after installation, but the product cannot be sensed to flush, please reset batteries and match codes.
- Step I
Remove batteries from both control module and sensor module, Wait for 1 minute;
- Step II
Put batteries into control module, Pay attention to the direction of battery when installing.
- Step Ill
Install sensor module batteries within three minutes after installing control module batteries,After installation, perform sensing once and finish the code matching.
Note: When using more than one products, the code matching must be done one by one separately. - Install the battery box holder on the water inlet connector; then install the control module into the battery box holder; and connect the control module with the DC connector on the valve body.

- Connect to water supply pipe and fully turn on water supply switch.
Note: Make sure the water supply switch is fully open.
Water level adjustment
- Valve height adjustmen( Major Water level adjustment)

- Press the buckle with one hand and pull or press the water inlet fixed cover at the same time.

- Release the buckle when the water inlet cover is adjusted to the appropriate scale.

Shut-off cup height adjustment C Minor Water level adjustment)
- Lower the water level: Turn the rod counterclockwise (in the direction of the”-“) with a flat or cross slot Screwdriver to lower the shut-off cup to the desired position.

- Raise water level: Turn the rod clockwise (in the direction of the “+”) with a flat or cross slot screwdriver to raise the shut-off cup to the desired position.

- Remaining water level adjustment
This product can adjust the remaining water level through the remote control. The higher the remote control adjusting level is the lower the water level will be.
The product does not include remote control. If you need to adjust the water volume with the remote control, please contact the supplier. For details, please refer to the “Remote Control Instructions”.
Daily Maintenance & Usage Caution
Daily usage caution
- Do not place items or do irrelevant actions in the sensing area to avoid false induction.
- Please do not use corrosive solvents or any related chemical ingredients in the water tank. Solvents containing chlorine or hypochlorite will seriously damage the tank fittings, resulting in water leakage.
- Try not to get close to high-power electronic devices, so as not to affect the use of products.
- Do not let the DC plug touch the water when disassembling or cleaning the product. If you accidentally touch the water, please dry it to avoid the electronic components burning out. Recommend to check the filter regularly for blockage. If it is clogged, please clean the filter to avoid affecting normal use. If the battery is with low voltage ,Please replace the battery to avoid affecting normal use.
Cleaning filter
Insert the water supply pipe back to the water connector and turn on the water supply valve.
Low voltage battery determination and replacement
Sensor module is undervoltage
During the use of the product, wave to sense, the indicator light of the sensor module quick flashes 5 times, indicating that the battery is undervoltage and needs .
Unsrew the screws on the back cover and remove back cover from the sensor module, replace batteries and tighten the screws again.
Note:
- Battery must be 1.5 V “AAA” size alkaline battery.
- Different brands, different used and new batteries can not be mixed.
- Battery life will be significantly reduced when using non-alkaline batteries.
Control module is undervoltage 
During the use ·of the product, wave to sense, the indicator light of the sensor module slow flashes 12 times, indicating that the battery is undervoltage and needs to b9r/eplaced.
Unscrew the screws on the back cover and remove back cover from the control module, replace batteries and tighten the screws again. Pay attention to inner box direction when installing.
Notes
- Must be 1.5V “AA” alkaline battery;
- Different brands, different used and new batteries cannot be mixed.
- Battery life will be significantly reduced when using non-alkaline batteries;
- When installing the inner box components, follow the installation direction shown in the label.
Troubleshooting
| 1 | Issue
Water not shut off when used for the first time | Cause Resolution The solenoid valve inside the valve body is Please operate flushing automatically opened by sensing once due to large shaking or impact during transportation or installation. |
| 2 | Water line is too high or too low | Inlet valve is not adjusted Adjust the water level to to a suitable position the appropriate water level |
| 3 | Inlet valve does not shut off | 1.The valve body float is 1.Check if the float is stuck and blocked and does not float in up and down freely place 2.Make sure there is no 2.The valve body leakage leakage from the body valve 3.The valve body water level 3.Adjust valve body water level is higher than over flow pipe and installation height |
| 4
5 |
Inlet valve does not turn on
Little or no flush | 1.Water supply valve is off 1.Turn on the water supply 2.The inlet valve float is valve blocked and does not float 2.Check if the float is stuck and in place up and down freely 3.Filter screen is dirty 3.Clean the filter screen 4.The tube wasn’t installed 4.Re-install the tube correctly properly 1. The piston or lift rod is 1.Check if the piston and lift stuck rod move freely 2. Battery with low power 2.Change battery 3.Filter screen is dirty 3.Clean the filter screen 4. Wrong flush volume 4.Use the matched remote adjustment control to choose the 5. The tube wasn’t appropriate flush volume level installed properly 5.Re-install the tube correctly |
| 6
, ; |
Valve Body leakage
The sensor module can light up by sensing, but does not flush | 1.Debris in water is affecting 1.Remove, clean and the valve reassemble the valve body 2.The refill tube wasn’t 2.Adjust refill tube, make sure installed properly tube is above the water surface. 3.The valve and base do not 3.Reassemble fit properly 4.Adjust the position of the wire 4.The wire rope twisted rope so that it does not twist badly seriously. 1. The control module is not 1.Check connection and connect connected properly sensor module properly. 2. The codes of sensor 2.Re-match codes between sensor module and control module module and control module. are not matched |
RT D7020 Touchless Flush Mechanism


Remove the locknut from the base.
Screw the V-type buckle to the end of the bolt.
Install the base set into the water tank hole, adjust the position, tighten the locknut by screwdriver with the torque MS2.5N.m (For reference only) Make sure the base will not sway.



Recommended torque for locking the nut:
Install the rubber washer, plastic washer from the inside of the water tank onto the push button body and lock it with the nut.
Insert the refill tube into the overflow pipe. Make sure the refill hose is above water level.
Screw the plastic gasket on the base
The bolts pass through the water tank mounting hole and locks the water tank to the toilet.




Note: Do not install and use the product in a wet place such as a bathroom, and prohibit it from being exposed to water.

Note: Do not install and use the product in a wet place such as a bathroom, and prohibit it from being exposed to water.


Note: Make sure the water supply switch is fully open.























