SLOAN TRF 8936 Truflush Manual Electronic Flushometer

CODE NUMBER
34001004
DESCRIPTION
1.6/0.8 gpf, Polished Chrome Finish, Fixture Connection , Dual Flush, Battery with Hardwired Option, TruFlush Concealed Manual Electronic Hardwired Water Closet Flushometer.
DETAILS
- Flush Volume: 1.6/0.8 gpf (6.0/3 Lpf)
- Finish: Polished Chrome (CP)
- Power Type: Battery with Hardwired Option
- Battery Life: 5 years
- Fixture Type: Water Closet
FEATURES
- Electroplated heavy duty metal wall plate
- Corrosion-resistant, vandal resistant plate
- Sloan waterproof electronic PCB with tactile push buttons
- Ability to hardwire with battery backup
- Includes four (4) AA size batteries
ELECTRICAL SPECIFICATIONS
- Arming Delay: 8 seconds
- Battery Life: 5 years
- Control Circuit: 6 VDC InputSolid State
- Solenoid Operator: 6 VAC
- Transformers (sold separately):
- EL-386 (Up to 1 flushometer)
- EL-451 (up to 6 flushometers)
VALVE OPERATING PRESSURE (FLOWING)
20 – 80 PSI (138 – 552 kPa). Specific fixtures may require greater minimum flowing pressure – consult manufacturer requirements.
DOWNLOADS
- TRF Electronic Dual Flush Wall Plate Installation Instructions
- TRF Electronic Dual Flush Repair & Maintenance Guide
NOTES
All information contained within this document subject to change without notice. Find a compatible urinal for this flushometer. Find a compatible water closet for this flushometer. Battery life varies according to actual usage and restroom conditions.
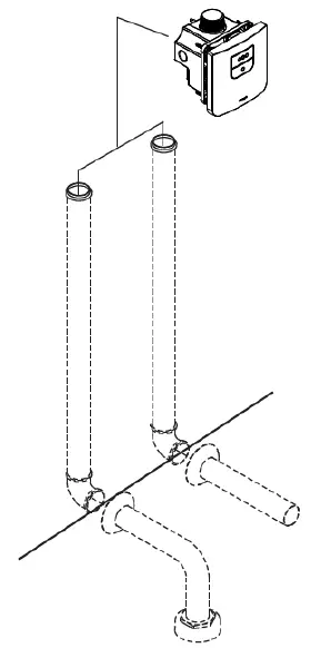
ROUGH-IN

NOTE: Flush Connections shown in dotted lines not included.

Sloan 10500 Seymour Ave, Franklin Park, IL 60131
- Phone: 800.982.5839
- Fax: 800.447.8329
- sloan.com
Code 34001004 Downloaded 05/25/22 05/19/22 View Latest Version




















