
INSTALLATION INSTRUCTIONS FOR
TRUFLUSH ELECTRONIC CLOSET AND URINAL FLUSHOMETERS

TruFlush Models:
TRF 8156-1.6/TRF 8156-1.28
TRF 8156-1.1/TRF 8196-0.5
TRF 8196-0.25/TRF 8196-0.125
LIMITED WARRANTY
Unless otherwise noted, Sloan Valve Company warrants this product, manufactured and sold for commercial or industrial uses, to be free from defects in material and workmanship for a period of three (3) years (one (1) year for special finishes, SF faucets, PWT electronics and 30 days for PWT software) from date of first purchase. During
this period, Sloan Valve Company will, at its option, repair, replace, or refund the purchase price of any product which fails to conform with this warranty under normal use and service. This shall be the sole and exclusive remedy under this warranty. Products must be returned to Sloan Valve Company, at customer’s cost. No claims will be allowed
for labor, transportation or other costs. This warranty extends only to persons or organizations who purchase Sloan Valve Company’s products directly from Sloan Valve Company for purpose of resale. This warranty does not cover the life of the batteries.
THERE ARE NO WARRANTIES WHICH EXTEND BEYOND THE DESCRIPTION ON THE FACE HEREOF. IN NO EVENT IS SLOAN VALVE COMPANY
RESPONSIBLE FOR ANY CONSEQUENTIAL DAMAGES OF ANY MEASURE WHATSOEVER.
PRIOR TO INSTALLATION
This valve is designed for new construction or where there is easily accessed plumbing for the fixture and the valve.
This valve is designed for minimum six inch (152 mm) wall space depth. Distance from center of the valve (inlet or outlet pipe) to the finished surface of the wall can vary from 2”-3” (51-76 mm).
Wall plate opening must be of 5.6” x 5.6” (142 x 142 mm). Mud plate is provided and must accompany valve for proper installation. Mud plate is removed after wall is finished.
TOOLS REQUIRED FOR INSTALLATION
- Smooth-jawed wrench (at least 2”)
- Phillips screwdriver
- 5/64” hex wrench (supplied)
- Adjusting tool (supplied)
- Flathead screwdriver .118” (3 mm or below)
- Wire stripper tool
ITEMS INCLUDED WITH THE PRODUCT
VALVE BOX
- Wall Box and Electronic Valve Assembly
- Mud Guard
- Adjustment Tool
- (2) #8-32 x 2” screws to secure mud guard
- (2) 1/4”-20 x 2” screws to remove activation assembly
- Installation instructions

WALL PLATE BOX
- Wall Bracket
- Wall Plate
- Sensor Assembly
- Activation Button
- Battery Pack
- (4) Batteries
- (4) #8-32 x 2 Screws
- Allen Key
- Installation instructions

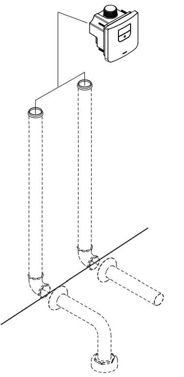
ROUGH-IN

!!! IMPORTANT !!!
SLOAN’S FLUSHOMETERS ARE DESIGNED TO OPERATE WITH 20 TO 80 PSI (138 TO 552 KPA) OF WATER PRESSURE. THE MINIMUM PRESSURE REQUIRED TO THE VALVE IS DETERMINED BY THE TYPE OF FIXTURE SELECTED. CONSULT FIXTURE MANUFACTURER FOR MINIMUM PRESSURE REQUIREMENTS. MOST HIGH EFFICIENCY WATER CLOSETS REQUIRE A MINIMUM FLOWING PRESSURE OF 25 PSI (172 KPA). MANY BUILDING CODES AND THE ASME A112.19.2 FIXTURE STANDARD LIST MAXIMUM STATIC WATER PRESSURE AS 80 PSI (552 KPA).
NOTE : Flush Connections shown in dotted lines not included.

!!! IMPORTANT !!!
WITH THE EXCEPTION OF INLET, DO NOT USE PIPE SEALANT. DO NOT USE PLUMBING GREASE ON VALVE COMPONENTS OR COUPLINGS!
CONNECT SUPPLY LINE TO FLUSHOMETER

A. Flush dirt, debris, and sediment from the supply line prior to connecting.
MAKE SURE SUPPLY LINES ARE FLUSHED OUT. DEBRIS CAN DAMAGE THE VALVE OR CAUSE VALVE TO MALFUNCTION. DO NOT CONTINUE THE INSTALLATION UNTIL SUPPLY LINES ARE CLEAR.
B. Remove mud guard and save for later use.
DO NOT DISCARD
C. Connect inlet pipe to flushometer using 1.5” (38 mm) union coupling (not provided). Tighten securely with fixed jaw wrench.
D. Connect outlet pipe (not porvided) to flushometer. Tighten securely with fixed jaw wrench.
NOTE: DO NOT EXERT FORCE ON WALL BOX TO TIGHTEN THE FLUSHOMETER. USE FIXED JAW WRENCH TO HOLD THE VALVE.
For Hardwire Use Only:
A. Remove Wall-box Knockout Cap closest to the conduit connection.
B. Insert conduit and tightly secure it to the wall-box.
C. Run transformer wires through the conduit to the wall-box.
NOTE: TRANSFORMER NOT PROVIDED. IT IS VERY IMPORTANT THAT THE OUTPUT VOLTAGE OF THE TRANSFORMER MUST BE 6VAC FOR THE UNIT TO FUNCTION PROPERLY. SLOAN EL-386 OR EL-451 IS RECOMMENDED (120 VAC/6VAC) OR ELG-220 (220VAC/6VAC).
FINISH WALL AND INSTALL WALL BRACKET


A. Reinstall mud guard onto the Flushometer using provided 2” (50 mm) long truss head screws (qty:2) to protect components from cement.
B. Finish Wall by cementing in place. Use the marks on mud guard to make sure finished wall is between 2” (51 mm) and 3” (76 mm) from the center line of the pipe.
C. Remove mud guard by removing the 2” (50 mm) long truss head screws and discard mud guard.
NOTE. WALL PLATE OPENING MUST BE OF 5.6” X 5.6” (142 X 142 MM)
D. Install wall bracket onto flushometer using the four 2” (50 mm) long screws provided.
i. Make sure the wall-bracket snap clip is positioned in bottom left side of the bracket and the wall-plate retaining screw is bottom right.
ii. Make sure the wall-bracket is positioned plumb and level before tightening the screws.
INSTALL BATTERY BOX AND SENSOR ASSEMBLY

The TruFlush Sensor assembly is designed to work with two options:
– Hardwire and Battery as a back-up OR
– Only with Battery power connection.
A. Install the supplied batteries into the battery box. See section 10 to install the batteries into battery box.
B. Insert the Battery Box on the right side of the flushometer as shown
For Hardwire connection use.
i. Using a wire stripper strip the two wire transformer connection from the conduit.
ii. Insert the wire to the Blue Terminal Block provided with the Sensor Assembly
iii. Tighten the terminal block screws using a flathead screwdriver 0.118” (3 mm) or smaller.
iv. Connect the Blue terminal block to the two pins in the back of the Sensor Assembly.
IMPORTANT: SURGE PROTECTOR BEFORE THE TRANSFORMER IS RECOMMENDED
C. Connect Battery Box D-shape connector to Sensor Assembly connector as shown.
NOTE. RED LED WILL START BLINKING WHEN POWER IS CONNECTED TO THE SENSOR ASSEMBLY
D. Connect solenoid D-shape connector to sensor assembly.
E. Mount the Sensor Assembly into the wall-bracket.
i.Align the 4 slots on the Sensor Assembly with the mounting pegs on the Wall Bracket.
ii. Slide the Sensor Assembly all the way down.

One EL-386 Transformer (sold separately) serves one (1) TruFlush Closet/Urinal flushometer.
One EL-451 Transformer (sold separately) serves up to (10) TruFlush with 18 gauge wire within 50 feet
WIRING DIAGRAM

One ELG-220 (220 VAC/6 VAC) Transformer (sold separately) serves up to (8) TruFlush in parallel
INSTALL BATTERY BOX AND SENSOR ASSEMBLY (CONT.)
!!! NOTE !!!
THE SENSOR ASSEMBLY COMES WITH THE BUTTON ALREADY INSTALLED. IN CASE THE BUTTON HAS COME OFF FROM THE SENSOR ASSEMBLY DURING SHIPMENT, INSTALL IT FOLLOWING THE FIGURE BELOW.

SENSOR OPERATION
A. After power is applied, the Sensor Module will perform its Start-up routine for 15 seconds with LED blinking.
NOTE: A three (3) seconds long Red LED, followed by slow Red LED blinking in the Sensor Window indicates sensor is in the start-up mode. There will be two (2) Red LED pulses (each two (2) seconds long) in the Sensor Window to indicate the start-up routine is complete.
B. After the start-up routine is complete, in the first ten (10) minutes of operation, a visible Red LED flashes in the Sensor Window of the TruFlush Flushometer when a user is detected.
TEST SENSOR OPERATION
The TruFlush has a factory set sensing range:
i. Water Closet Models – 22” to 46” (559 mm to 1168 mm)
ii. Urinal Models – 15” to 34” (381 mm to 864 mm)
A. Test sensor by stepping in front of the sensor for 10 seconds.
B. After 10 seconds step away from the sensor and listen for a “CLICK”
The factory setting should be satisfactory for most installations. If a range adjustment is required, refer to the range adjustment instructions in this installation guide (See Section 9).

ADJUST WATER FLOW
Flushometer is shipped with the flow control adjustment turned OFF.
A. Disconnect Flushometer Solenoid connector from the Sensor Assembly. Pull on end connector to prevent damage to wires.
B. Lift the Sensor Assembly Override Button up to access the activation assembly.
C.Open water flow by turning activation assembly slowly COUNTERCLOCKWISE using adjusting tool and a screwdriver or a wrench.
!!! NOTE !!!
MAKE SURE SOLENOID CONNECTOR GOES THROUGH THE CENTER OF THE ADJUSTING TOOL TO AVOID DAMAGE TO THE CABLE.
D.Connect Flushometer Solenoid connector to the Sensor Assembly.
E. Activate Flushometer by pressing the Override Button.
F. Adjust Activation Assembly after each flush until the flow rate delivered properly cleanses the fixture (turn CLOCKWISE to lessen flow and COUNTERCLOCKWISE to increase flow).

!!! NOTE !!!
MAKE SURE FLUSHOMETER SOLENOID CONNECTOR IS DISCONNECTED FROM SENSOR ASSEMBLY EVERY TIME BEFORE ROTATING ACTIVATION ASSEMBLY.
!!! NOTE !!!
UNDER NO CIRCUMSTANCES SHOULD THE SOLENOID BE REMOVED OR ADJUSTED.
!!! IMPORTANT !!!
THE FLUSHOMETER IS ENGINEERED FOR QUIET OPERATION. EXCESSIVE WATER FLOW CREATES NOISE, WHILE TOO LITTLE WATER FLOW MAY NOT SATISFY THE NEEDS OF THE FIXTURE. PROPER ADJUSTMENT IS MADE WHEN PLUMBING FIXTURE IS CLEANSED AFTER EACH FLUSH WITHOUT SPLASHING WATER OUT FROM THE LIP AND A QUIET FLUSHING CYCLE IS ACHIEVED.
!!! IMPORTANT !!!
THE ACTIVATION ASSEMBLY SHOULD NEVER BE OPENED TO THE POINT WHERE THE FLOW FROM THE VALVE EXCEEDS THE FLOW CAPABILITY OF THE FIXTURE. IN THE EVENT OF A VALVE FAILURE, THE FIXTURE MUST BE ABLE TO ACCOMMODATE A CONTINUOUS FLOW FROM THE VALVE.
INSTALL WALL PLATE

Flushometer is shipped with the flow control adjustment turned OFF.
A. Make sure retaining screw on bracket is fully tightened
B. Slide Sensor Assembly all the way up.
C. Align Wall Plate cut out with the window and Override Button of Sensor Assembly and push Wall Plate all the way in.
i. Make sure sensor window and button are sitting inside the wall plate cut out.
D. Slide Wall Plate all the way down.
E. Unscrew the retaining screw using supplied Allen key until it touches wall plate.
F. Make sure Wall Plate doesn’t slide up.
!!! NOTE !!!
DO NOT UNSCREW ANYMORE ONCE SCREW TOUCHES WALL PLATE.
OPERATION
A. A continuous, INVISIBLE light beam is emitted from the TruFlush Sensor.
B. After the user enters the beam’s effective range, 22 to 46 inches (559 mm to 1168 mm) for closet installations and 15 to 34 inches (381 mm to 864 mm) for urinal installations for ten (10) seconds the flushometer is armed.

C. When the user steps away, the sensor initiates a “one-time” signal that activates the flushing cycle to flush the fixture (1 second delay for urinal, 3 seconds delay for closet). The Circuit automatically resets and is ready for the next user.

RANGE ADJUSTMENT (ADJUST ONLY IF NECESSARY)
The TruFlush has a factory set sensing range:
Water Closet Models – 22” to 46” (559 mm to 1168 mm)
Urinal Models -15” to 34” (381 mm to 864 mm)
The Factory setting should be satisfactory for most installations. If the range is too short (i.e. not picking up users) or too long (i.e., picking up opposite wall or stall door) the range can be adjusted.
NOTE: WATER DOES NOT HAVE TO BE TURNED OFF TO ADJUST RANGE.
A. Make sure to remove all the non-permanent targets in sensor view area.
B. Push Override button for 20-30 seconds.
C. The Red LED in the sensor window starts slow blinking.
D. Release the button during the LED blinking.
E. The TruFlush will enter into distance setting mode.
F. The setting mode will run for one minute.
!!! IMPORTANT !!!
WHEN ADJUSTING RANGE FOR CLOSET SENSOR, MAKE SURE THE CLOSET DOOR IS ALL THE WAY CLOSED FOR PROPER RANGE ADJUSTMENTS.
!!! IMPORTANT !!!
WHEN ADJUSTING RANGE FOR URINAL SENSOR, MAKE SURE TO SET-UP A PROPER TARGET IN FRONT OF URINAL SENSOR FOR PROPER RANGE ADJUSTMENTS
BATTERY REPLACEMENT
When required, replace batteries with four (4) Alkaline AA-Size Batteries.
NOTE: WATER DOES NOT HAVE TO BE TURNED OFF TO REPLACE BATTERIES. USE ALKALINE BATTERIES FOR PROPER UNIT OPERATION.
A. Remove Wall Plate
B. Disconnect solenoid from sensor assembly. Pull on end connector to prevent damage to wires.
C. Slide Sensor Assembly all the way up and remove from wall bracket
D. Disconnect power from Sensor Assembly
E. Remove battery box from inside the Wall Box
F. Remove the battery box cover by loosening screw using a Philips head screwdriver.
G. Replace the batteries with 4 new AA Alkaline batteries as shown.
H. Reinstall the Battery cover and using a screwdriver tighten the screw until the battery cover is tightly secure.
I. Follow section 3,4,5 and 7 of this installation guide to complete installation.

PISTON REPLACEMENT
A. Tighten the retaining screw at the bottom right using Allen key
B. Slide up wall plate
C. Pull -out wall plate
D. Disconnect Flushometer solenoid connector from the Sensor Assembly. Pull on end connector to prevent damage to wires.
E. Lift-up the Sensor Assembly Override Button to access the activation assembly.
F. Place the adjustment tool on the activation assembly and using a screwdriver or wrench to turn the assembly fully CLOCKWISE to make sure the valve is closed.
G. Remove the tool, reconnect the sensor assembly to the solenoid and then press the Override Button to relieve pressure.
H. Disconnect Flushometer solenoid connector from the Sensor Assembly (pull on end connector to prevent damage to wires), lift button up and push-in the activation assembly until fully seated.
I. Remove the orange safety ring by squeezing the pins together and pulling it out. NOTE. ATTACH SCREWS (INCLUDED) TO THREADED HOLES ON ACTIVATION ASSEMBLY
J. Use attached screws to pull the activation assembly directly out, you may feel some tension. Be sure to pull directly out. Do not turn the
K. Remove the conical spring. Do not discard.
L. Remove the piston by pulling it straight out and discard. If unable to grip piston, remove screw from the front of activation assembly and screw into center hole of piston.
M. Install a new piston. Insert the smaller end first and press until fully seated.
N. Reinstall the conical spring inserting the smaller end into the new piston assembly.
O. Carefully re-install the Activation Assembly and press until fully seated.
P. Re-install the orange safety ring securely. Safety ring will spin freely in valve body when properly installed.
Q. Use the adjustment tool to slowly turn the Activation Assembly COUNTERCLOCKWISE to open the water flow.
R. Insert Flushometer Solenoid connector to the Sensor Assembly.
S. Activate Flushometer by pressing the Override Button.
T. Adjust water flow as needed (See Section 6)
U. Put down the Sensor Assembly Override Button
V. Install Wall Plate (See Section 7)
ACTIVATION ASSEMBLY REPLACEMENT
A. Tighten the retaining screw at the bottom right using Allen key
B. Slide up wall plate
C. Pull-out wall plate
D. Disconnect Flushometer solenoid connector from the Sensor Assembly. Pull on end connector to prevent damage to wires.
E. Lift-up the Sensor Assembly Override Button to access the activation assembly.
F. Place the adjustment tool on the Activation Assembly and using a screwdriver, turn the assembly fully CLOCKWISE to make sure the valve is closed.
G. Remove the tool, reconnect the sensor assembly to the solenoid and then press the Override Button to relieve pressure.
H. Disconnect Flushometer solenoid connector from the Sensor Assembly (pull on end connector to prevent damage to wires), lift button up and push-in the activation assembly until fully seated.
I. Remove the orange safety ring by squeezing the pins together and pulling it out. NOTE. ATTACH SCREWS (INCLUDED) TO THREADED HOLES ON ACTIVATION ASSEMBLY
J. Use attached screws to pull the activation assembly directly out, you may feel some tension. Be sure to pull directly out. Do not turn the
K. Install new Activation Assembly and press until fully seated.
L. Re-install the orange safety ring securely. Safety ring will spin freely in valve body when properly installed.
M. Use the adjustment tool to slowly turn the activation assembly COUNTERCLOCKWISE to open the water flow.
N. Insert Flushometer Solenoid connector to the Sensor Assembly.
O. Activate Flushometer by pressing the Override Button.
P. Adjust water flow as needed (See Section 6).
Q. Put down the Sensor Assembly Override Button.
R. Install Wall Plate (See Section 7).
TROUBLESHOOTING
A. Sensor Flashes Continuously Only When User Steps Within Range.
i. Unit in Start-Up mode; no problem. This feature is active for the first ten (10) minutes of operation.
B. Valve Does Not Flush; Sensor Not Picking Up User.
i. Range too short; increase the range (See Section 9).
C. Valve Does Not Flush; Sensor Picking Up Opposite Wall or Surface, or Only Flushes When Someone Walks By. Red Light Flashes Continuously for First 10 Minutes Even with No One in Front of the Sensor.
i. Range too long; shorten range (See Section 9).
i. Ensure water supply to valve is turned on.
D. Valve Does Not Flush Even After Adjustment.
ii. Activation Assembly sleeve is in closed position. Turn counterclockwise to open water flow.
iii. Batteries completely used up; replace batteries (See Section 10).
iv. Problem with activation assembly; replace activation assembly (Section 12).
v. Problem with Sensor Assembly; replace Sensor Assembly (See Section 3).
E. Red Light Blinks four (4) Times When User Steps Within Range (Battery Only).
i. Batteries low; replace batteries (See Section 10).
F. Red Light Blinks four (4) Times When User Steps Within Range (Hardwire and Battery).
i. Battery box not connected; connect battery box to sensor assembly (see section 10).
ii. Batteries low; replace batteries (see section 10).
G. Valve Does Not Shut off.
i. Metering bypass hole in piston is clogged. Remove the piston from the valve and wash under clean running water. Do not attempt to remove filter screen. Replace piston if cleaning does not correct the problem (See Section 11).
ii. Supply line water pressure has dropped and is not sufficient to close the valve. Close Activation Assembly until pressure is restored.
iii. Piston is damaged. Replace with new proper gpf/Lpf piston.
H. Too much water to Fixture.
i. Activation Assembly not adjusted properly. Readjust Activation Assembly (see section 6).
ii. Piston is damaged. Replace with new proper gpf/Lpf piston
iii. Wrong TruFlush model installed; i.e.,1.6 gpf. model installed on 0.5 gpf/1.9 Lpf or 0.25 gpf/1.0 Lpf urinal fixture. Replace with proper TruFlush
model per guide.
I. Not enough water to Fixture.
i. Activation Assembly not adjusted properly. Readjust Activation Assembly by turning counterclockwise.
ii. Wrong TruFlush model installed; i.e. 0.5 gpf. urinal installed on 1.6 gal. closet fixture. Replace with proper TruFlush model.
iii. Water supply pressure is inadequate (low). Increase the water supply pressure. Contact the fixture manufacturer for minimum water supply
requirements of the fixture.
J. Chattering noise is heard during flush.
i. Reduce flow pressure by turning Activation Assembly.
K. Valve leaks through Aspirator when activated
i. Debris between the umbrella valve and the retainer. Blow air on the aspirator. If this does not correct the problem, remove retainer with 5 mm Allen
Key (not included) and wash it under clean running water. Replace aspirator if cleaning does not correct the problem.
ii. Loose Retainer. Hand tight retainer with 5 mm Allen Key (not included). Do not overtight. Replace aspirator if this does not correct the problem.
VALVE ASSEMBLY SELECTION GUIDE
| Code No. | Part No. | Description |
| 3400105 | TRF 8156-1.6 LP | Sensor Valve Assembly 1.6 gpf/6.0 Lpf |
| 3400106 | TRF 8156-1.28 LP | Sensor Valve Assembly 1.28 gpf/4.8 Lpf |
| 34001007 | TRF 8156-1.1 LP | Sensor Valve Assembly 1.1 gpf/4.2 Lpf |
| 3400107 | TRF 8196-0.5 LP | Sensor Valve Assembly 0.5 gpf/1.9 Lpf |
| 3400108 | TRF 8196-0.25 LP | Sensor Valve Assembly 0.25 gpf/1.0 Lpf |
| 3400109 | TRF 8196-0.125 LP | Sensor Valve Assembly 0.125 gpf/0.5 Lpf |
PISTON PARTS LIST SELECTION GUIDE
| Code No. | Part No. | Description | Piston Color* |
| 3340024IN | GBL-1024-A | 1.6 gpf/6.0 Lpf (wash down)TruFlush closet piston assembly | Orange |
| 3340005 | GBL-1005-A | 1.6 gpf/6.0 Lpf TruFlush closet piston assembly | Green |
| 3340006 | GBL-1006-A | 1.28 gpf/4.8 Lpf TruFlush closet piston assembly | Purple |
| 33400065 | GBL-1090-A | 1.1 gpf/4.2 Lpf TruFlush closet piston assembly | Grey |
| 3340007 | GBL-1007-A | 0.5 gpf/1.9 Lpf TruFlush urinal piston assembly | Red |
| 3340008 | GBL-1008-A | 0.25 gpf/1.0 Lpf TruFlush urinal piston assembly | Burgundy |
| 33400001 | GBL | 0.125 gpf/0.5 Lpf TruFlush urinal piston assembly Electronic | Red/Pink |

ACTIVATION ASSEMBLY SELECTION GUIDE
| Code No.* | Part No. | Description | Aspirator Retainer Color** |
| 33400049IN | GBL-1071-A | 1.6 gpf/6.0 Lpf (wash down) closet activation assembly | Orange |
| 33400048 | GBL-1072-A | 1.6 gpf/6.0 Lpf closet activation assembly | Green |
| 33400047 | GBL-1073-A | 1.28 gpf/4.8 Lpf closet activation assembly | Purple |
| 33400066 | GBL-1094-A | 1.1 gpf/4.2 Lpf closet activation assembly | Grey |
| 33400046 | GBL-1074-A | 0.5 gpf/1.9 Lpf urinal activation assembly | Red |
| 33400045 | GBL-1075-A | 0.25 gpf/1.0 Lpf urinal activation assembly | Burgundy |
| 33400055 | GBL-1076-A | 0.125 gpf/0.5 Lpf urinal activation assembly † | Pink |

For valves built before December 2021, consult factory to confirm code number.
**Colors may differ. Consult factory to confirm you have the correct assembly.
† 0.125 gpf/0.5 Lpf activation assembly has a silver color. Other models are a brass/yellow color.
ASPIRATOR ASSEMBLY SELECTION GUIDE
| Code No. | Part No. | Description | Aspirator Retainer Color* |
| 3340032 | GBL-1032-A | 1.6 gpf/6.0 Lpf (wash down) closet aspirator assembly (6PK) | Orange |
| 3340028 | GBL-1028-A | 1.6 gpf/6.0 Lpf closet aspirator assembly (6PK) | Green |
| 3340030 | GBL-1030-A | 1.28 gpf/4.8 Lpf closet aspirator assembly (6PK) | Purple |
| 33400058 | GBL-1095-A | 1.1 gpf/4.2 Lpf closet aspirator assembly (6PK) | Grey |
| 3340031 | GBL-1031-A | 0.5 gpf/1.9 Lpf urinal aspirator assembly (6PK) | Red |
| 3340029 | GBL-1029-A | 0.25 gpf/1.0 Lpf urinal aspirator assembly (6PK) | Burgundy |
| 3340042 | GBL-1033-A | 0.125 gpf/0.5 Lpf urinal aspirator assembly (6PK) | Pink |
PARTS LIST
| Item No. | Part No. | Description |
| 1 | See Table (Page 10) | Valve Assembly Less Plate |
| 2 | See Table (Page 10) | Piston Assembly |
| 3 | See Table (Page 10) | Activation Assembly |
| 4a | * | Wall Plate Assembly (Sensor Closet) |
| 4b | * | Wall Plate Assembly (Sensor Urinal) |
| 5 | * | Solenoid Repair Kit |
| 6 | GBL-88A | Terminal Block Repair Kit (6) |
| 7 | GBL-179 | Battery Package (batteries not included) |
* Consult Maintenance Guide or contact Technical Support


For complete listing of items available for repair, please consult Maintenance and Repair Guide.
Contact Technical Support for assistance.
1.888.756.2614 or 1.888.SLOAN14
Manufactured by Sloan Valve Company, patents pending
NOTE: The information contained in this document is subject to change without notice.
SLOAN • 10500 SEYMOUR AVENUE • FRANKLIN PARK, IL 60131
Phone: +1.800.9.VALVE.9 or +1.800.982.5839 • Fax: +1.800.447.8329 • www.sloan.com
Copyright © 2022® SLOAN VALVE COMPANY
Code No: 0816693 – Rev.7 (02/22)



















