BRIZO 91809 LITZE Kitchen Bar Faucet

Product Information
Product Name: Kitchen Bar Faucet
Model Numbers:
- 61043LF
- 61053LF
- 61063LF
- 61044LF
- 61054LF
- 61064LF

Compatible with: Thin countertops RP37490
Contact Information:
- Website: www.brizo.com
- Phone: 1-877-345-BRIZO (2749)
- Email: [email protected]
Product Usage Instructions
Installation
- Slide the gasket over the tubes.
- Place the tubes and stud through the hole.
- Optional: If the sink is uneven, use silicone under the gasket.
For easy installation of your Brizo® faucet you will need to READ ALL warnings, care, and maintenance information before beginning.
Installation Requirements
- Hole Diameter: 1 3/8″ ± 1/4″
- Maximum Deck Thickness: 3″ (76 mm)
- With Escutcheon: 2 3/4″ (70 mm)
- Thin Gauged Sinks: Use Thin Deck Aid RP37490
For product & installation questions, do not return to the store. For additional help, contact customer service. www.brizo.com 1-877-345-BRIZO (2749) [email protected]
You may need
- Slide gasket (3) over tubes. Place tubes (5) and stud (4) through hole. Option: If sink is uneven, use silicone under gasket.

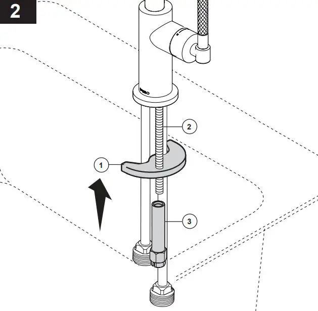
- Place metal bracket (1) over mounting stud (2) under sink. Secure with mounting nut (3).

- Note: Be careful when bending the copper tubing. Kinked tubes will void the warranty.
- Make connections to water lines: Use 1/2″ IPS faucet connections (1), or use coupling nuts (not supplied) (3) with 3/8″ O.D. ball-nose risers (2). Use two wrenches when tightening. Do not overtighten.

- Remove aerator (1) using wrench (2) and turn faucet handle (3) to full hot and cold mix. Turn on hot and cold water supplies (4) and flush water lines for one minute. Important: This flushes away any debris that could cause damage to internal parts. Check all connections for leaks.

Connecting Water Lines
Make connections to water lines using one of the following methods:
- Use 1/2 IPS faucet connections.
- Use coupling nuts (not supplied) with 3/8 O.D. ball-nose risers. Use two wrenches when tightening. Do not overtighten.

Maintenance
If the faucet exhibits very low flow:
- Remove the aerator with the supplied wrench and clean it.
- Reinstall the aerator.
If the faucet leaks from under the handle:
- Insert a small screwdriver into the slot in the button and remove it.
- Remove the set screw, handle, and trim cap.
- Using a wrench, ensure the bonnet nut is tight.
Cleaning and Care
Care should be given to the cleaning of this product. Although its finish is extremely durable, it can be damaged by harsh abrasives or polish. To clean, simply wipe gently with a damp cloth and blot dry with a soft towel.
Warranty Service and Replacement Parts
To obtain warranty service or replacement parts, please follow these steps:
- In the United States and Mexico: Contact Brizo Kitchen & Bath Company at 55 E. 111th Street Indianapolis, IN 46280, or visit https://www.brizo.com/customer-support/contact-us
- In Canada: Contact Masco Canada Limited, Plumbing Group Technical Service Centre at 350 South Edgeware Road St. Thomas, Ontario, Canada N5P 4L1, or visit https://www.brizo.com/customer-support/contact-us
Note: Proof of purchase (original sales receipt) from the original purchaser must be made available for all warranty claims purchaser has registered the product with Brizo Kitchen & Bath Company. This warranty applies only to Brizo® faucets installed in the United States of America, Canada, and Mexico.
Parts and Finish
All parts (other than electronic parts, air switch power modules, batteries, and parts not supplied by Brizo Kitchen and Bath Company) and finishes of Brizo® faucets purchased from authorized Brizo sellers are warranted to the original consumer purchaser to be free from defects in material and workmanship for as long as the original consumer purchaser owns the home in which the faucet was first installed. For commercial purchasers, (a) the warranty period is ten (10) years for multi-family residential applications and (b) five (5) years for all other commercial uses, in each case from the date of purchase. For purposes of this warranty, the term “multi-family residential application” refers to the purchase of the faucet from an authorized Brizo seller by a purchaser who owns but does not live in the residential dwelling in which the faucet is initially installed, such as in a rented or leased single unit or multi-unit detached home (duplex or townhome), or a condominium, apartment building or community living center. The following installations are not considered multi-family residential ap-plications, are excluded from the 10-year warranty, and are subject to the 5-year warranty: industrial, institutional or other business premises, such as a dormitory, hospitality premises (hotel, motel, or extended stay location), airport, educational facility, long- or short-term healthcare
facility (hospital, rehabilitation center, nursing, assisted or staged-care living unit), public space or common area.
Electronic Parts and Batteries
(if applicable). Electronic parts (other than air switch power modules and batteries), if any, in Brizo® faucets purchased from authorized Brizo sellers are warranted to the original consumer purchaser to be free from defects in material and workmanship for five (5) years from the date of purchase or, for commercial users, for one (1) year from the date of purchase. No warranty
is provided on batteries.
Air Switch Power Module
The electronic power module of Brizo® air switches purchased from authorized Brizo sellers is warranted to the original consumer purchaser to be free from defects in material and workmanship for two (2) years from the date of purchase or, for com-mercial users, for one (1) year from the date of purchase.
What We Will Do
Brizo Kitchen & Bath Company will repair or replace, free of charge, during the applicable warranty period (as described above), any part or finish that proves defective in material and/or workmanship under normal installation, use, and service. Brizo Kitchen
& Bath Company may, in its sole discretion, use new, refurbished or recertified parts or products for such repair or replacement. If repair or replacement is not practical, Brizo Kitchen & Bath Company may elect to refund the purchase price in exchange for the return of the product. These are your exclusive remedies.
What Is Not Covered
Because Brizo Kitchen and Bath Company is unable to control the quality of Brizo products sold by unauthorized sellers, unless otherwise prohibited by law, this warranty does not cover Brizo products purchased from unauthorized sellers (visit Brizo.com to see a list of our Authorized Online Resellers).
Any labor charges incurred by the purchaser to repair, replace, install or remove this product are not covered by this warranty. Brizo Kitchen & Bath Company shall not be liable for any damage to the product resulting from reasonable wear and tear, outdoor use, misuse (including use of the product for an unintended application), freezing water, abuse, neglect, or improper or incorrectly performed assembly, installation, maintenance or repair, including failure to follow the applicable care and cleaning instructions. Customized components purchased by the consumer or commercial user and installed into a Brizo product, and any damage resulting from removal or improper installation of such components, are not covered by this warranty.
Brizo Kitchen & Bath Company recommends using a professional plumber for all installation and repair of faucets. We also recommend that
you use only genuine Brizo® replacement parts.
What You Must Do To Obtain Warranty Service or Replacement Parts. A warranty claim may be made and replacement parts may be obtained by calling 1-877-345-BRIZO (2749) or by contacting us by mail or online as follows (please include your model number and date of purchase):
Limitation on Duration of Implied Warranties:
Please note that some states/provinces (including Quebec) do not allow limitations on how long an implied warranty lasts, so the below limitations may not apply to you. To the maximum extent permitted by applicable law, any implied warranty, including the implied warranties of merchantability and of fitness for a particular purpose, is limited to the statutory period or the duration of this warranty, whichever is shorter.
What Is Not Covered:
This warranty does not cover Brizo products purchased from unauthorized sellers. Please visit Brizo.com to see a list of our Authorized Online Resellers.
Additional Rights
This warranty gives you specific legal rights, and you may also have other rights which vary from state/province to state/province. This is Brizo Kitchen & Bath Company’s exclusive written warranty, and the warranty is not transferable. If you have any questions or concerns regarding our warranty, please contact us as provided above or visit our website at www.brizo.com.


















