691898 18 Inch Towel Bar
Instruction Manual
TOWEL BARS
BARRA PARA TOALLAS
PORTE-SERVIETTESModels
18″ – 691898p![]()
24″ – 692498p![]()
30″ – 693098p![]()
Series Levoir™
691898 18 Inch Towel Bar
▲Specify Finish
You may need
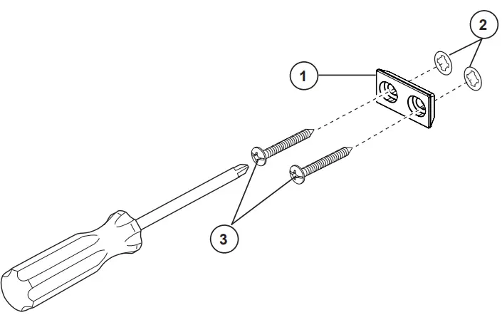
NOTE: If possible, it is best to mount at least one end of your towel bar into a wall stud. Try to locate a wall stud with a stud finder or by tapping on the wall. Place mounting bracket (1) in the desired location. Ensure the mounting bracket is level; then, mark the position of the holes (2) on the wall. Repeat for 2nd mounting bracket, spaced as noted above.
If you were able to locate a wall stud for one or both ends to mount your towel bar, drill 1/8″ (3mm) holes and mount the mounting bracket with the two screws provided. (Skip to step 4 if both mounting studs were mounted into wall studs.)
On ceramic tile, try to locate the mounting hole locations on a grout line. If mounting into ceramic tile or solid surface, place masking tape on the mounting area before marking the location to prevent the drill bit from sliding. To drill through ceramic tile, obtain a 1/4″ diameter carbide drill bit. Drill 1/4″ diameter holes where indicated. Push in anchors (1) until flush with walls. Note: Sheetrock or hollow doors may require molly or toggle bolts, which are included with this product.
With the mounting bracket (1) oriented as shown, place it over the installed anchors (2) and screws (3). Repeat for second mounting bracket.
Position body (1) over mounting bracket (2) and tighten set screw (3). (Set screw should be on the bottom of body.) Place one end of the towel bar (4) into the second body (5), and place the other end of the bar into the first body (1). Slide the second body over the other mounting bracket (6) and tighten set screw (7). 
CLEANING AND CARE
Care should be given to the cleaning of this product. Although its finish is extremely durable, it can be damaged by harsh abrasives or polish. To clean, simply wipe gently with a damp cloth and blot dry with a soft towel.
Limited Warranty on Brizo® Faucets
Parts and Finish. All parts (other than electronic parts, air switch power modules, batteries, and parts not supplied by Brizo Kitchen and Bath Company) and finishes of Brizo® faucets purchased from authorized Brizo sellers are warranted to the original consumer purchaser to be free from defects in material and workmanship for as long as the original consumer purchaser owns the home in which the faucet was first installed. For commercial purchasers, (a) the warranty period is ten (10) years for multi-family residential applications and (b) five (5) years for all other commercial uses, in each case from the date of purchase. For purposes of this warranty, the term “multi-family residential application” refers to the purchase of the faucet from an authorized Brizo seller by a purchaser who owns but does not live in the residential dwelling in which the faucet is initially installed, such as in a rented or leased single unit or multi-unit detached home (duplex or townhome), or a condominium, apartment building or community living center. The following installations are not considered multi-family residential applications, are excluded from the 10-year warranty, and are subject to the 5-year warranty: industrial, institutional or other business premises,such as a dormitory, hospitality premises (hotel, motel, or extended stay location), airport, educational facility, long- or short-term healthcare facility (hospital, rehabilitation center, nursing, assisted or staged-care living unit), public space or common area.
Electronic Parts and Batteries (if applicable). Electronic parts (other than air switch power modules and batteries), if any, in Brizo® faucets purchased from authorized Brizo sellers are warranted to the original consumer purchaser to be free from defects in material and workmanship for five (5) years from the date of purchase or, for commercial users, for one (1) year from the date of purchase. No warranty is provided on batteries.
Air Switch Power Module. The electronic power module of Brizo® air switches purchased from authorized Brizo sellers is warranted to the original consumer purchaser to be free from defects in material and workmanship for two (2) years from the date of purchase or, for commercial users, for one (1) year from the date of purchase.
What We Will Do. Brizo Kitchen & Bath Company will repair or replace, free of charge, during the applicable warranty period (as describedabove), any part or finish that proves defective in material and/or workmanship under normal installation, use, and service. Brizo Kitchen & Bath Company may, in its sole discretion, use new, refurbished or recertified parts or products for such repair or replacement. If repair or replacement is not practical, Brizo Kitchen & Bath Company may elect to refund the purchase price in exchange for the return of the product.These are your exclusive remedies.
What Is Not Covered. Because Brizo Kitchen and Bath Company is unable to control the quality of Brizo products sold by unauthorized sellers, unless otherwise prohibited by law, this warranty does not cover Brizo products purchased from unauthorized sellers (visit Brizo.comto see a list of our Authorized Online Resellers).
Any labor charges incurred by the purchaser to repair, replace, install or remove this product are not covered by this warranty. Brizo Kitchen& Bath Company shall not be liable for any damage to the product resulting from reasonable wear and tear, outdoor use, misuse (includinguse of the product for an unintended application), freezing water, abuse, neglect, or improper or incorrectly performed assembly, installation,maintenance or repair, including failure to follow the applicable care and cleaning instructions. Customized components purchased by theconsumer or commercial user and installed into a Brizo product, and any damage resulting from removal or improper installation of suchcomponents, are not covered by this warranty.
Brizo Kitchen & Bath Company recommends using a professional plumber for all installation and repair of faucets. We also recommend that you use only genuine Brizo® replacement parts.
What You Must Do To Obtain Warranty Service or Replacement Parts. A warranty claim may be made and replacement parts may be obtained by calling 1-877-345-BRIZO (2749) or by contacting us by mail or online as follows (please include your model number and date of purchase):
In the United States and Mexico:
Brizo Kitchen & Bath Company
55 E. 111th Street
Indianapolis, IN 46280
Attention: Warranty Service
https://www.brizo.com/customer-support/contact-us
In Canada:
Masco Canada Limited, Plumbing Group
Technical Service Centre
350 South Edgeware Road
St. Thomas, Ontario, Canada N5P 4L1
https://www.brizo.com/customer-support/contact-us
Proof of purchase (original sales receipt) from the original purchaser must be made available to Brizo Kitchen & Bath Company for all warranty claims unless the purchaser has registered the product with Brizo Kitchen & Bath Company. This warranty applies only to Brizo® faucets installed in the United States of America, Canada, and Mexico.
Limitation on Duration of Implied Warranties. Please note that some states/provinces (including Quebec) do not allow limitations on how long an implied warranty lasts, so the below limitations may not apply to you. TO THE MAXIMUM EXTENT PERMITTED BY APPLICABLE LAW, ANY IMPLIED WARRANTY, INCLUDING THE IMPLIED WARRANTIES OF MERCHANTABILITY AND OF FITNESS FOR A PARTICULAR PURPOSE, IS LIMITED TO THE STATUTORY PERIOD OR THE DURATION OF THIS WARRANTY, WHICHEVER IS SHORTER.
Limitation of Special, Incidental or Consequential Damages. Please note that some states/provinces (including Quebec) do not allow the exclusion or limitation of special, incidental, or consequential damages, so the below limitations and exclusions may not apply to you.
TO THE MAXIMUM EXTENT PERMITTED BY APPLICABLE LAW, THIS WARRANTY DOES NOT COVER, AND BRIZO KITCHEN & BATH COMPANY
SHALL NOT BE LIABLE FOR ANY SPECIAL, INCIDENTAL, OR CONSEQUENTIAL DAMAGES (INCLUDING LABOR CHARGES TO REPAIR, REPLACE,
INSTALL OR REMOVE THIS PRODUCT), WHETHER ARISING OUT OF BREACH OF ANY EXPRESS OR IMPLIED WARRANTY, BREACH OF CONTRACT,
TORT, OR OTHERWISE. BRIZO KITCHEN & BATH COMPANY SHALL NOT BE LIABLE FOR ANY DAMAGE TO THE FAUCET RESULTING FROM REASONABLE WEAR AND TEAR, OUTDOOR USE, MISUSE (INCLUDING USE OF THE PRODUCT FOR AN UNINTENDED APPLICATION, FREEZING WATER, ABUSE, NEGLECT OR IMPROPER OR INCORRECTLY PERFORMED ASSEMBLY, INSTALLATION, MAINTENANCE OR REPAIR, INCLUDING FAILURE TO FOLLOW THE APPLICABLE INSTALLATION, CARE AND CLEANING INSTRUCTIONS. Notice to residents of the State of New Jersey:
The provisions of this warranty, including its limitations, are intended to apply to the fullest extent permitted by the laws of the State of New Jersey.
Additional Rights. This warranty gives you specific legal rights, and you may also have other rights which vary from state/province to state/province. This is Brizo Kitchen & Bath Company’s exclusive written warranty, and the warranty is not transferable.
If you have any questions or concerns regarding our warranty, please contact us as provided above or visit our website at www.brizo.com.
© 2022 Masco Corporation of Indiana
1-877-345-BRIZO (2749)
www.brizo.com/customer-support


















