
Thermal Human Detector
Quick Start Guide 






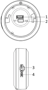
Product appearance is for reference only and may differ from the actual product.
Interface and Button (Page 2 – A)
- RS-485 & Alarm Interface
- USB Type-C
- MicroSD Slot
- Reset Button: Restore to default settings.
Install the Camera (Page 3 – B)
- Wall mounting of the camera
a: Wall mounting bracket
b: Ceiling mounting bracket - Ceiling mounting of the camera
Note:
The drill cable hole is within the grey circle.
The detection area is a 4:3 rectangle.
The arrows’ direction in B-2-① is the long side of the detection area.
Wi-Fi Connection
Connect to Wi-Fi via Web Browser
Before You Start
Check the label on the device or the package to obtain the device serial number.
Steps
1. Connect power and start the device.
2. Enable the Wi-Fi function on your phone or computer, and select the SSID of the device.
Note: The SSID is HM-2TH_Verification Code. For example, if the verification code of the device is ABCDEF, the SSID is HM-2TH_ABCDEF.
3. Input the corresponding password of the SSID.
Note: The passwords are the last 8 digits of the device serial number. For example, if the device serial number is D12345678, the corresponding password of the SSID is 12345678.
4. Start the browser on your phone or computer. Click Refresh on the web, and then select the Wi-Fi to be connected to.
–Input the Wi-Fi password if the device is not activated.
–Input the Wi-Fi password, user name, and user password if the device has been activated.
5. Check the status of the blue indicator light to determine whether the connection is successful.
–Flash about every 2 seconds: Wi-Fi connection succeeded.
–Flash about every 0.2 seconds: Wi-Fi connection failed.
Detection Range (Page 7 – C)
The detection range of ceiling mounting in C – 1.
| Mounting | Length | Width |
| Height (h) | (a) | (b) |
| 3.0 m | 3.2 m | 2.0 m |
| 4.2 m (Max. | 5.7 m | 3.6 m |
The detection range of wall mounting in C – 2 – 2.1.
| Mounting Height (h) | 2.8 m |
| Depression Angle of Bracket (α) | 57.5° |
| Distance of Blind Area (c) | 0 m |
| Effective Detection Distance (d) | 3 m |
The detection range of wall mounting in C – 2 – 2.2.
| Nearest Horizontal Effective Distance (d1) | 2.3 m |
| Farthest Horizontal Effective Distance (d2) | 5.7 m |
| Distance of Blind Area (c) | 0 m |
| Effective Detection Distance (d) | 3 m |
Note:
The grey area refers to the effective detection area.
User Manual
For detailed information, refer to the user manual of the device.
http://enpinfodata.hikvision.com/analysisQR/showQR/58aeb645
© 2021 Hangzhou Microimage
Software Co., Ltd. All rights reserved.
About this Manual
The Manual includes instructions for using and managing the Product. Pictures, charts, images, and all other information hereinafter are for description and explanation only. The information contained in the Manual is subject to change, without notice, due to firmware updates or other reasons. Please find the latest version of this Manual at the HIKMICRO website (www.hikmicrotech.com/). Please use this Manual with the guidance and assistance of professionals trained in supporting the Product.
Trademarks and other HIKMICRO trademarks and logos are the properties of HIKMICRO in various jurisdictions. Other trademarks and logos mentioned are the properties of their respective owners.
DISCLAIMER
TO THE MAXIMUM EXTENT PERMITTED BY APPLICABLE LAW, THIS MANUAL AND THE PRODUCT DESCRIBED, WITH ITS HARDWARE, SOFTWARE, AND FIRMWARE, ARE PROVIDED “AS IS” AND “WITH ALL FAULTS AND ERRORS”. HIKMICRO MAKES NO WARRANTIES, EXPRESS OR IMPLIED, INCLUDING WITHOUT LIMITATION, MERCHANTABILITY, SATISFACTORY QUALITY, OR FITNESS
FOR A PARTICULAR PURPOSE. THE USE OF THE PRODUCT BY YOU IS AT YOUR OWN RISK. IN NO EVENT WILL HIKMICRO BE LIABLE TO YOU FOR
ANY SPECIAL, CONSEQUENTIAL, INCIDENTAL, OR INDIRECT DAMAGES, INCLUDING, AMONG OTHERS, DAMAGES FOR LOSS OF BUSINESS PROFITS, BUSINESS INTERRUPTION, OR LOSS OF DATA, CORRUPTION OF SYSTEMS, OR LOSS OF DOCUMENTATION, WHETHER BASED ON BREACH OF CONTRACT, TORT (INCLUDING NEGLIGENCE), PRODUCT LIABILITY, OR OTHERWISE, IN CONNECTION WITH THE USE OF THE PRODUCT, EVEN IF HIKMICRO HAS BEEN ADVISED OF THE POSSIBILITY OF SUCH DAMAGES OR LOSS. YOU ACKNOWLEDGE THAT THE NATURE OF THE INTERNET PROVIDES FOR INHERENT SECURITY RISKS, AND HIKMICRO SHALL NOT TAKE ANY RESPONSIBILITIES FOR ABNORMAL OPERATION, PRIVACY LEAKAGE, OR OTHER DAMAGES RESULTING FROM CYBER-ATTACKS, HACKER ATTACKS, VIRUS INFECTION, OR OTHER INTERNET SECURITY RISKS; HOWEVER, HIKMICRO WILL PROVIDE TIMELY TECHNICAL SUPPORT IF REQUIRED. YOU AGREE TO USE THIS PRODUCT IN COMPLIANCE WITH ALL APPLICABLE LAWS, AND YOU ARE SOLELY RESPONSIBLE FOR ENSURING THAT YOUR USE CONFORMS TO THE APPLICABLE LAW. ESPECIALLY, YOU ARE RESPONSIBLE, FOR USING THIS PRODUCT IN A MANNER THAT DOES NOT INFRINGE ON THE RIGHTS OF THIRD PARTIES, INCLUDING WITHOUT LIMITATION, RIGHTS OF PUBLICITY, INTELLECTUAL PROPERTY RIGHTS, OR DATA PROTECTION AND
OTHER PRIVACY RIGHTS. YOU SHALL NOT USE THIS PRODUCT FOR ANY PROHIBITED END-USES, INCLUDING THE DEVELOPMENT OR PRODUCTION OF WEAPONS OF MASS DESTRUCTION, THE DEVELOPMENT OR PRODUCTION OF CHEMICAL OR BIOLOGICAL WEAPONS, ANY
ACTIVITIES IN THE CONTEXT RELATED TO ANY NUCLEAR EXPLOSIVE OR UNSAFE NUCLEAR FUEL-CYCLE, OR IN SUPPORT OF HUMAN RIGHTS
ABUSES. IN THE EVENT OF ANY CONFLICTS BETWEEN THIS MANUAL AND THE APPLICABLE LAW, THE LATTER PREVAILS.
Regulatory Information
FCC Information
Please take attention that changes or modifications not expressly approved by the party responsible for compliance could void the user’s authority to operate the equipment.
FCC compliance:
This device is complicit with Part 15 of the FCC Rules. Operation is subject to the following two conditions:
—This device may not cause harmful interference, and
—This device must accept any interference received, including interference that may cause undesired operation.
This equipment has been tested and found to comply with the limits for a Class B digital device, pursuant to part 15 of the FCC Rules. These limits are designed to provide reasonable protection against harmful interference in a residential installation. This equipment generates, uses, and can radiate radio frequency energy and, if not installed and used in accordance with the instructions, may cause harmful interference to radio communications. However, there is no guarantee that interference will not occur in a particular installation. If this equipment does cause harmful interference to radio or television reception, which can be determined by turning the equipment off and on,the user is encouraged to try to correct the interference by one or more of the following measures:
—Reorient or relocate the receiving antenna.
—Increase the separation between the equipment and receiver.
—Connect the equipment into an outlet on a circuit different from that to which the receiver is connected.
—Consult the dealer or an experienced radio/TV technician for help This equipment should be installed and operated with a minimum distance of 20cm between the radiator and your body.
EU Conformity Statement
This product and – if applicable – the supplied accessories too are marked with “CE” and comply therefore with the applicable harmonized European standards listed under the Low Voltage Directive 2014/35/EU, the EMC Directive 2014/30/EU, the RoHS Directive 2011/65/EU.
Directive 2011/65/EU.
2012/19/EU (WEEE directive): Products marked with this symbol cannot be disposed of as unsorted municipal waste in the European Union. For proper recycling, return this product to your local supplier upon the purchase of equivalent new equipment, or dispose of it at designated collection points. For more information, please see: www.recyclethis.info
2006/66/EC (battery directive): This product contains a battery that cannot be disposed of as unsorted municipal waste in the European Union. See the product documentation for specific battery information. The battery is marked with this symbol, which may include lettering to indicate cadmium (Cd), lead (Pb), or mercury (Hg). For proper recycling, return the battery to your supplier or to a designated collection point. For more information, please see www.recyclethis.info.
Industry Canada ICES-003 Compliance
This device meets the CAN ICES-3 (B)/NMB-3(B) standards requirements.
This device complies with Industry Canada licence-exempt RSS standard(s). Operation is subject to the following two conditions: (1) this device may not cause interference, and
(2) this device must accept any interference, including interference that may cause undesired operation of the device.
Under Industry Canada regulations, this radio transmitter may only operate using an antenna of a type and maximum (or lesser) gain approved for the transmitter by Industry Canada. To reduce potential radio interference to other users, the antenna type and its gain should be so chosen that the equivalent isotropically radiated power (e.i.r.p.) is not more than that necessary for successful communication.
This equipment should be installed and operated with a minimum distance 20cm between the radiator and your body.
Safety Instructions
These instructions are intended to ensure that users can use the product correctly to avoid danger or property loss.
Laws and Regulations
The device should be used in compliance with local laws, electrical safety regulations, and fire prevention regulations.
Transportation
- Keep the device in original or similar packaging while transporting it.
- Keep all wrappers after unpacking them for future use. In case of any failure occurred, you need to return the device to the factory with the original wrapper.
- Transportation without the original wrapper may result in damage to the device and the company shall not take any responsibility.
- Do not drop the product or be subject to physical shock. Keep the device away from the magnetic interface.
Power Supply
- Please purchase the charger by yourself. Input voltage should meet the Limited Power Source (16 VDC) according to the IEC62368 standard. Please refer to technical specifications for detailed information.
- Make sure the plug is properly connected to the power socket.
- The socket outlet shall be installed near the equipment and shall be easily accessible.
- DO NOT connect multiple devices to one power adapter, to avoid over-heating or fire hazards caused by overload.
- DO NOT touch the bare metal contacts of the inlets after the circuit breaker is turned off. Electricity still exists.
- + identifies the positive terminal(s) of equipment that is used with, or generates a direct current. – identifies the negative terminal(s) of equipment that is used with, or generates a direct current.
- Ensure correct wiring of the terminals for connection to an AC mains supply.
Battery
- CAUTION: Risk of explosion if the battery is replaced by an incorrect type. Dispose of used batteries according to the instructions.
- CAUTION: The built-in battery cannot be dismantled. Please contact the manufacture for repair if necessary.
- CAUTION: For long-term storage of the battery, make sure it is fully charged every half year to ensure the battery quality. Otherwise, damage may occur.
- CAUTION: This equipment is not suitable for use in locations where children are likely to be present.
- CAUTION: Improper replacement of the battery with an incorrect type may defeat a safeguard (for example, in the case of some lithium battery types).
- CAUTION: DO NOT dispose of the battery into fire or a hot oven, or mechanically crush or cut the battery, which may result in an explosion.
- CAUTION: DO NOT leave the battery in an extremely high temperature surrounding environment, which may result in an explosion or the leakage of flammable liquid or gas.
- CAUTION: DO NOT subject the battery to extremely low air pressure, which may result in an explosion or the leakage of flammable liquid or gas.
Installation
- Never place the equipment in an unstable location. The equipment may fall, causing serious personal injury or death.
- This equipment is for use only with corresponding brackets. Use with other (carts, stands, or carriers) may result in instability causing injury.
System Security
- You acknowledge that the nature of the Internet provides for inherent security risks, and our company shall not take any responsibility for the abnormal operation, privacy leakage, or other damages resulting from cyber attacks, hacker attacks, however, our company will provide timely technical support if required.
- Please enforce the protection for personal information and data security as the device may be confronted with network security problems when it is connected to the Internet. Please contact us when the device might exist network security risks.
- Please understand that you have the responsibility to configure all the passwords and other security settings about the device, and keep your user name and password.
Maintenance
- If the product does not work properly, please contact your dealer or the nearest service center shall not assume any responsibility for problems caused by unauthorized repair or maintenance.
- A few device components (e.g., electrolytic capacitor) require regular replacement. The average lifespan varies, so periodic checking is recommended. Contact your dealer for details.
- Wipe the device gently with a clean cloth and a small quantity of ethanol, if necessary.
- If the equipment is used in a manner not specified by the manufacturer, the protection provided by the device may be impaired.
- To reduce the risk of fire, replace only with the same type and rating of the fuse.
- The serial port of the equipment is used for debugging only.
- Disconnect the power source during servicing.
Using Environment
- Make sure the running environment meets the requirement of the device. The operating temperature shall be -20 °C to 45 °C (-4 °F to 113 °F), and the operating humidity shall be 95% or less, no condensing.
- DO NOT expose the device to high electromagnetic radiation or dusty environments.
- DO NOT aim the lens at the sun or any other bright light.
- The equipment shall not be exposed to dripping or splashing and that no objects filled with liquids, such as vases, shall be placed on the equipment.
- No naked flame sources, such as lighted candles, should be placed on the equipment.
- Provide a surge suppressor at the inlet opening of the equipment under special conditions such as the mountain top, iron tower, and forest.
- Burned fingers when handling the parts with symbols. Wait
one-half hour after switching off before handling the parts.
Emergency
If smoke, odor, or noise arises from the device, immediately turn off the power, unplug the power cable, and contact the service center.
Manufacture Address
Room 313, Unit B, Building 2, 399 Danfeng Road, Xixing Subdistrict, Binjiang District, Hangzhou, Zhejiang 310052, China Hangzhou Microimage Software Co., Ltd.
COMPLIANCE NOTICE: The thermal series products might be subject to export controls in various countries or regions, including without limitation, the United States, the European Union, the United Kingdom, and/or other member countries of the Wassenaar Arrangement. Please consult your professional legal or compliance expert or local government authorities for any necessary export license requirements if you intend to transfer, export, re-export the thermal series products between different countries.



















