SUPAHER
ANLEITUNG
MANUAL
SUPAHERO Hand Lamp

The product complies with the following standards:
60079-0 :2018 IEC 60079-0:2017, Ed. 7
60079-11:2012 IEC 60079-11:2011, Ed. 6
60079-28:2015 IEC 60079-28:2015, Ed. 2
IECEx IBE20.0032 X
Special conditions for use in the Ex-atmosphere:
The hand lamp can be used in an extended ambient temperature of -15 °C to +50 °C
Damaged equipment must be taken out of service immediately and out of potentially explosive atmosphere.
The hand lamp may only be charged outside the hazardous area using the appropriate charger.
The light window must never be completely covered during operation in a potentially hazardous area.
| ZONE 0/21 M+H2 | II 1G Ex ia op is IIC T4 Ga II 2D Ex ia op is IIIC T150° Db I M1 Ex ia op is I +H2 Ma -15°C <Ta< +50°C | TEMP -15 / +50 °C |
| 400/315/140/(270) lumens | |
| HERO-POWER & -0-SIGHT 240/190/85/(165) meters | |
| HERO-POWER & DUALSPOT 6000 Kelvin | |
| POWER-/ mode#2/mode#3/ (flashlight) | |
| HERO-DUALSPOT 300/240/110/(205) meters | |
| HERO-0SIGHT smoke light | |
| 3,5/4,5/10,5/(11) hours | |
| 380 grams | |
| <11 hours charging | |
| IP68 | |
| >80% capacity after 800 cycles | |
| emergency light |
FIRST USE
The hand lamp must be fully charged before first use. To do this, connect the charger to a suitable power source and push the lamp into the charger. Make sure that the lamp is fully inserted into the charger.
Now a red charging status LED in the lamp will light up constantly. This diode signals an active charging process. As soon as the charging process is completed, the red LED goes out and a green LED lights up constantly.
The lamp is now fully charged.Please read the safety regulations regarding charging.
After the lamp has been fully charged, the lamp can be switched on using the on/off button.
By pressing the button several times, the individual modes are switched through as described. After the last mode, the lamp switches off. The lamp has a display that indicates the current battery level.
The display is always activated for 15 seconds after the lamp is switched off. The battery status is divided into 3 levels: green=> 70% orange= >30 to 70% red= <30 To determine the battery status as accurately as possible, leave the light on for at least 10 seconds.
The lamp may be used and recharged at any time without negatively affecting the battery.
If the lamp is connected to the charger when it is switched on, the emergency light function is activated.When the charging process starts, the light goes out. If the mains voltage is now disconnected, the light switches on automatically and thus ensures an illuminated environment during the emergency situation.
The lamp is resistant to oil, grease, glue, hydrocarbon, turpentine substitute and various cleaning agents. Wash the lamp body and the windscreen with lukewarm soapy water. Do not use acid or abrasive cleaners, especially not on the windscreen. Do not use a high-pressure hose! Technical maintenance or repair may only be carried out by KSE-LIGHTS or an authorised person.
KSE-LIGHTS gives a two-year warranty on the product for material and manufacturing defects. Excluded from the guarantee are normal wear and tear, oxidation, changes, improper use, storage and maintenance as well as damage caused by negligence or use for which the product is not intended.
The warranty on the accumulator lasts for three years. If the serial number is removed, the warranty is immediately void. Customer service in the event of a warranty claim, please return the lamp to the dealer with proof of purchase. It will be repaired or replaced. Do not open the lamp or charger under any circumstances.
Do not use or recharge the lamp if it is defective. No warranty claims can be made for consequential damage caused by defective parts. Failure to do so will invalidate the warranty and the operational safety. To replace the accumulator, purchase article KS-2335 with additional instructions for replacement on your own.
KSE-LIGHTS accepts no liability for direct, indirect and accidental consequences, as well as any other form of damage due to the use of this product.
SAFETY INFORMATIONS
Do not use damaged lamps, chargers or sockets to charge the lamp.
Never place the switched-on lamp on the light window when working in potential dangerous atmosphere.
Do not pull the power cord to remove the plug out of the socket.
Only use original KSE-LIGHTS chargers.
The use of other chargers may adversely affect the life of the product.
KSE-LIGHTS is not responsible for consequential damage, if parts are used which are not authorised by KSELIGHTS.
Protect the charger and accumulator from damage.
Never store the products outside the approved temperature range from 0°C to +45°C.
Never charge the product outside of the approved temperature range from 0°C to +35°C.
TROUBLE SHOOTING
When using the hand lamp and charging adapter some malfunctions or operator failures can appear, here are the solutions:
The hand lamp can not be turned on. Insert the lamp into the charger and try again.Should the Lamp still show no response, please contact our product service.
The lamp shows no response to insertion in the charger. Disconnect the charger from the supply voltage and try again. Should the lamp still show no reaction, please contact our product service.
Both charge indication LEDs are turned on. The lamp is fully charged and the charging controller has switched to standby mode.
Remove the lamp from the charger, switch on shortly and insert again. Now only one LED should light up.
Repeat the process if both LEDs are still turned on. After the lamp is fully charged, the green charging indication LED turns off. Solution:
The lamp is fully charged and the charger has switched to standby mode. Remove the lamp shortly out of the charger, switch on shortly and replace back in the charger.
Now an indication LED should light up again.


- Insert the hand lamp in the charger as shown in the picture. The status LED inside the lamp is red. When the status LED turns to green, the lamp is fully charged.
- Please make sure, that there are no objects between the charger and the hand lamp.
- The hand lamp can be charged and recharged anytime.

www.kse-light.com
[email protected]
BATTERY REPLACEMENT
HERO BATTERY
KS-2335
The battery for replacement is supplied with pre-assembled EVA foams and a clamp connector. Never loosen the glued on EVA foams at any time! These are not for transport safety, but allow the accumulator some space for motion in the lamp at high or low outside temperatures. Also DO NOT loosen the pre-assembled clamp connector on the newly purchased accumulator! This protects the contacts against short circuits.
SUPAHERO-SERIES
POWER/DUALSPOT/0-SIGHT
If you have to change the battery on your own, this manual allows and shows you step by step how to change it. Especially critical steps are marked in color. We would like to point out that the change should only be carried out by technically trained staff. Short-circuits when changing the accumulator lead to a destruction of the electrical components inside the lamp – so take special care with step 5. KSE-LIGHTS GmbH is not liable for any consequential damage resulting from incorrect opening and closing of the lamp or replacement of the battery.
STEP 1
Remove the four screws with a Torx screwdriver (Included in delivery). First loosen all screws only slightly one after the other to avoid that the whole load lasts on only one screw. Then remove all screws and put them to the side.
STEP 1
Remove the cover from the lamp housing. Inside the cover is the induction coil of the lamp – be careful not to damage this cable. Never loosen the clamp connector of the induction coil at any time! 
STEP 3
Now the battery can be removed from the lamp.
To do this, reach into the lamp with two fingers and pull it out – perform this step with great attention. When pulling it out, a part of the cable and the 2nd clamp connector should also come out of the lamp. The lamp should now be disassembled as shown in the drawing.
STEP 4
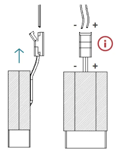
Alongside the cable, between accumulator and lamp, there is the 2nd clamp connector which connects the cables. To change the accumulator, open the connector (as shown in the picture) by slightly pulling the side catches outwards and take special care not to damage the cables leading into the luminaire. This has to be disposed of professionally and environmentally friendly!
STEP 5
Now lead the new accumulator to the lamp and open the clamp connector which is connected to it. The cables from the emergency lamp, which were already connected to the accumulator before, are now connected to the new accumulator again.
Pay attention to the correct polarity: connect black to black and red to red. A wrong connection causes a short circuit in the electronics. 
STEP 6
The cables do not need to be stripped. By closing the connector, the insulation is automatically cut and an electronic link is made. Push the connector tight until the arms on the sides lock into place. 
Now the accumulator can be inserted again. Make sure that not too much pressure is necessary and that no cables are clamped when inserting. The cable harness of the accumulator should look downwards out of the light when inserting it. If installed correctly, the EVA foam pads should secure the accumulator in the lamp without jerking.
STEP 8
Guide the spare cable into the lamp and place the connector in the right „pocket“ on the side of the battery (as shown in the drawing). Be careful not to bend any cables or damage any insulation.
STEP 9
Now move the cover towards the lamp and place the cable inside the housing. Take care not to bend or otherwise damage the cable.

STEP 10
Insert the clamp connector (similar to step 8.)
into the „pocket“ on the left side next to the accumulator. Now all cables should be inside the lamp housing. 
Before you finally put the cover back on the lamp, make sure that the rubber seal is in good condition. If the seal is obviously no longer able to guarantee a perfect fluid- and waterproofness for the lamp, please contact our customer service.
KSE-LIGHTS GmbH is not liable for consequential damages.

STEP 10
Place the cover on the underside of the lamp so that the tongue and groove match. Apply sufficient pressure with one hand on the cover until the lamp is closed and screw the screws that were removed in the first step back into the cover. DO NOT use an electrically driven screwdriver, instead tighten the screws by hand. When the screws are aligned with the cover and the cover is tightly sealed with the lamp housing, the lamp is closed again.

STEP 13
The hand lamp must be fully charged before first use. To do this, connect the charger to a suitable power source and push the lamp into the charger. Make sure that the lamp is fully inserted into the charger.
Now a red charging status LED in the lamp will light up constantly. This diode signals an active charging process. As soon as the charging process is completed, the red LED goes out and a green LED lights up constantly.
The lamp is now fully charged.Please read the safety regulations regarding charging.
After the lamp has been fully charged, the lamp can be switched on using the on/off button.
By pressing the button several times, the individual modes are switched through as described. After the last mode, the lamp switches off.
The lamp may be used and recharged at any time without negatively affecting the battery.

SAFETY INFORMATIONS
Do not use damaged lamps, chargers or power sockets to charge the lamp. Do not pull the power cord to remove the AC adapter. Only use original KSE-LIGHTS chargers. The use of other chargers may have a negative effect on the life of the product. KSE-LIGHTS is not liable for consequential damage if parts are used which are not approved by KSE-LIGHTS.
Protect the charger and the accumulator from damage.
Never charge the product outside the approved temperature range from 0°C to +35°C.
The chargers may only be operated with the power supply unit supplied by KSE-LIGHTS which has the following characteristics. If a charger should be supplied with voltage by other means, the oltage source must have one of the following characteristics:
- SELV or PELV system, where the output voltage does not exceed 50 VAC or 120 VDC
- Safety isolating transformer that meets the requirements of IEC 61558-2-6 or a technically equivalent standard.
- Directly with a power supply according to IEC 60950, IEC 61010-1 or a technically equivalent standard.
- Directly from cells or batteries, provided the cell voltage is the same.

Thüngenfeld 8
58256 Ennepetal
Germany
+49 (0)2333 982 47 30
www.shop.kse-lights.com
www.kse-lights.com

















