FEIN OPTICS RB20 Biological Microscope

Email: [email protected]
Microscope Components
- Microscope Frame / Carrying Handle
- Tension Adjustment
- Eyepieces
- Objective Lens Condenser
- Coarse Adjustment Fine Adjustment
- Condenser Adjustment Knob
- Trinocular Head Lock Screw
- Nosepiece
- Mechanical Stage
- Focus Arm
- Fixed Koehler Illumination
- Light Adjustment Knob
- Power Switch
- Vertical Adjustment Horizontal Knob Adjustment Knob
Before Use
- Do not shake or drop the microscope.
- Do not expose the microscope to direct sun, high temperatures, high humidity, dust, or damp environments. Use a flat work surface.
- When moving the microscope use both hands, holding the handle at the back (1) and the frame at the front (2) as shown in the image at right.
- Set the power switch to off O before replacing a bulb or fuse, and wait until the lamp is cool. The power switch is located on the side of the microscope.
- Voltage range of 100~240V (47-63Hz) is supported.
- Turn the rheostat control knob (1) to the minimum and turn the power switch to the on I position. Rotate the rheostat knob to increase or decrease the brightness of the illumination.
Microscope Assembly
Follow the numbers below when assembling the microscope.
- Eyepiece
- Objectives
- Condenser
- Power Cord
Assemble the Condenser:
- Rotate the coarse focus knob (1) to raise the stage to its highest position.
- Fully loosen the condenser lock-screw (2).
- Insert the condenser into the hole of base according to the arrowhead pointed (3), until the condenser is aligned with the base, and rotate the condenser to make the handle face forward.
- Tighten the condenser lock-screw (2) of condenser, then raise the condenser with the up-down knob to the highest position.
Assemble the Objective:
- Rotate the coarse focusing knob (1) to lower the state to the lowest position.
- Then install the objectives into the nosepiece (2) from the lowest magnification to the highest in a clockwise direction.
Assemble the Eyepiece:
- Take off the eyepiece tube cover (1).
- Insert the eyepiece (2) into the eyepiece tube, until the eyepiece is flush with the eyepiece tube.
- Tighten the eyepiece with M2.5 inner hexagon lock-screw (3).
Microscope Operation
Turning the Lamp ON: Set the power switch to the ON position – (1). Adjust the illumination knob rotating clockwise to increase the light intensity and rotating counterclockwise to decrease the light intensity.
Placing the Specimen Slide:
- Push the spring lever (1) of the specimen holder backwards.
- Place the specimen slide (2) into the clip, then slowly move the specimen holder lever back into place. This will secure the specimen slide.
- Rotate the X and Y axis knobs (3) on the stage until the center of the specimen slide is aligned with the objective.
Adjust the Focus:
- Rotate the condenser adjustment knob (1) 2 raising it to the highest position.
- Move the 4x objective into the optical path.
- Looking through the eyepieces, rotate the coarse focusing knob (2) until the specimen appears in the field of view and begins to come into focus.
- Rotate the fine focusing knob (3) to bring the specimen into crisp focus.
Microscope Components

Microscope Components

Before Use
- Do not shake or drop the microscope.
- Do not expose the microscope to direct sun, high temperatures, high humidity, dust, or damp environments. Use a flat work surface.
- When moving the microscope use both hands, holding the handle at the back (1) and the frame at the front (2) as shown in the image at right.

- Set the power switch to off “O” before replacing a bulb or fuse, and wait until the lamp is cool. The power switch is located on the side of the microscope.
- Voltage range of 100~240V (47-63Hz) is supported.
- Turn the rheostat control knob (1) to the minimum and turn the power switch to the on “I” position. Rotate the rheostat knob to increase or decrease the brightness of the illumination.

Microscope Assembly
Follow the numbers below when assembling the microscope.

Microscope Assembly
- Assemble the Condenser:
- Rotate the coarse focus knob (1) to raise the stage to its highest position.
- Fully loosen the condenser lock-screw (2). Insert the condenser into the hole of base according to the arrowhead pointed (3), until the condenser is aligned with the base, and rotate the condenser to make the handle face forward. Tighten the condenser lock-screw (2) of condenser, then raise the condenser with the up-down knob to the highest position.

- Assemble the Objective:
Rotate the coarse focusing knob (1) to lower the state to the lowest position. Then install the objectives into the nosepiece (2) from the lowest magnification to the highest in a clockwise direction.
- Assemble the Eyepiece:
- Take off the eyepiece tube cover (1). Insert the eyepiece (2) into the eyepiece tube, until the eyepiece is flush with the eyepiece tube.
- Tighten the eyepiece with M2.5 inner hexagon lock-screw (3).

- Assemble the Eyepiece:
- Take off the eyepiece tube cover (1).
- Insert the eyepiece (2) into the eyepiece tube, until the eyepiece is flush with the eyepiece tube.
- Tighten the eyepiece with M2.5 inner hexagon lock-screw (3).

Microscope Operation
- Turning the Lamp ON:
Set the power switch to the ON position “-” (1). Adjust the illumination knob rotating clockwise to increase the light intensity and rotating counterclockwise to decrease the light intensity.
- Placing the Specimen Slide:
Push the spring lever (1) of the specimen holder backwards. Place the specimen slide (2) into the clip, then slowly move the specimen holder lever back into place. This will secure the specimen slide. Rotate the X and Y axis knobs (3) on the stage until the center of the specimen slide is aligned with the objective.
- Adjust the Focus:
Rotate the condenser adjustment knob (1) raising it to the highest position. Move the 4x objective into the optical path. Looking through the eyepieces, rotate the coarse focusing knob (2) until the specimen appears in the field of view and begins to come into focus. Rotate the fine focusing knob (3) to bring the specimen into crisp focus.
- Adjust the Focusing Tension:
If it becomes hard to move the coarse focus knob, or the stage drifts and the sample falls out of focus the tension needs to be adjusted. Tighten the tension by adjusting the tension adjustment ring (1) in the direction of the arrow shown at right. Loosen the tension by rotating the tension adjustment ring in the opposite direction.
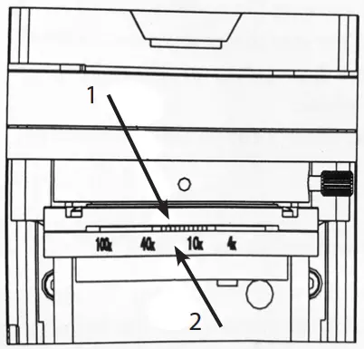
- Adjusting the Interpupillary Distance:
When observing with both eyes, adjust the eyepieces (2) to fit your personal interpupillary distance. The scale between the eyepieces (1) notes the interpupillary distance setting. It’s a good idea to note this number when working in a setting where multiple people are using the same instrument. This allows you to easily reset your interpupillary distance.
- Aperture Diaphragm:
- The aperture diaphragm dictates the numerical aperture (NA) of the illumination.
- The best resolution, contrast, and depth of field is obtained when the NA of the illumination matches with the NA of the objective. Rotate the diaphragm adjustment ring (1) so the pointer matches up with the inscription of the objective being used.

- Using the 100x Immersion Oil Objective:
- Start with the 4x objective and focus on the sample. Place a drop of immersion oil (1) on the specimen. Rotate the nosepiece counterclockwise so the 100x objective is in the light path and the oil seals the space between the objective and the cover slip. Use the fine focus knob to obtain a clear image. Make sure there are no air bubbles in the oil. If there are, rotate the nosepiece slightly to remove them.
- After use, wipe the lens with a tissue moistened with microscope cleaning solution.

- Using Filters:
Filters can increase the contrast in microscopy images. The filter sits on top of the light as shown at the right. The RB20 accepts a 45mm diameter filter.
- C-Mount assembly:
Loosen the trinocular head set screw (1) and remove the trinocular port dust cap (2). Remove any dust cover caps from the c-mount (3). Insert the c-mount into the trinocular port as image shows at right and tighten the set screw (1). Connect the camera to the c-mount threads (4) and re-tighten the set screw. When the eyepieces are in focus, adjust the focus on the c-mount to parfocal the camera with the eyepieces.
- Using the Storage Box:
When the microscope is not in use, the power cord can be placed in the storage box. Press the position (1) of the storage box cover with thumb. When you hear a click, push up and put the power cord into the storage box. Close the back cover by pressing down on the cover.
Troubleshooting
| TROUBLE | POSSIBLE CAUSE | SOLUTION |
| Field of view is dark even when light is on | The field diaphragm is not large enough. | Enlarge the field diaphragm |
| Condenser is too low. | Adjust the position of condenser. | |
| The edge of the field of view is dark or not even. | The nosepiece is not in the right position. | Turn the nosepiece into the right position. |
| Stain or dust has accumulated on the lens such as condenser, objective, or eyepiece. | Clean the lens. | |
| Stain or dust is observed in the field of view. | Stains have accumulated on the specimen. | Clean the specimen. |
| Stains have accumulated on the lens. | Clean the lens. | |
| Glare or hot spot on observed image. | Condenser is set too low. | Raise condenser. |
| Aperture iris diaphragm is closed too much. | Open aperture iris diaphragm. | |
|
Unclear image | There’s no cover glass on the specimen. | Add the cover glass. |
| The cover glass is not standard. | Use a standard cover glass with thickness of 0.17mm. | |
| The slide is upside down. | Adjust the slide. | |
| The immersion oil has accumulated on the dry objective. | Clean the objective thoroughly. | |
| The immersion oil is not being used for oil objective. | Use immersion oil. | |
| Air bubble is in the immersion. | Get rid of the air bubbles. | |
| The aperture diaphragm is not opened correctly. | Adjust the aperture diaphragm. | |
| Stain or dust has accumulated on the eyepiece lens. | Clean the lens. | |
| The condenser is too low. | Adjust the condenser. | |
| One side of the field of view is dark or the image moves while in focus. | The specimen is not fixed. | Fix the specimen. |
| The nosepiece is not in the right position. | Turn the nosepiece into the right position. | |
| Condenser centered incorrectly. | Center the condenser. | |
| The eyes feel tired easily. The right field of view doesn’t superpose with the left. | Interpupillary distance is wrong. | Adjust the interpupillary distance. |
| Eyepieces for the left eye and right eye are different. | Use the same eyepiece. |
| Coarse focusing knob is too tight. | Tension knob is too loose. | Tighten it a little. |
| Stage declines itself, cannot stay on the focal plane when observing. | Tension knob is too loose. | Tighten it a little. |
| Coarse focusing knob can’t rise. | The limit stop knob is locked. | Loosen the knob. |
| Coarse focusing knob can’t decline. | The base of the condenser is too low. | Raise the base. |
| Cannot move the slide smoothly. | The slide is not fixed correctly. | Adjust it |
| The movable specimen holder is not fixed properly. | Adjust it | |
| The image moves obviously when touching the stage. | The stage is fastened incorrectly. | Fasten the stage correctly. |
| The LED light does not work. | No power supply. | Check the connection of the power cable. |
| The LED bulb is not installed correctly. | Install it correctly. | |
| The LED bulb is burnt out. | Replace it. | |
| The bulb burns out frequently. | The wrong bulb is being used. | Replace it with the correct bulb. |
| The illumination is not bright enough. | The wrong bulb is being used. | Replace it with the correct bulb. |
| The illumination adjustment is not set in a bright position. | Adjust the illumination knob to intensify the light. |
Bulb Replacement:
- Before performing any of these steps the microscope MUST be turned off and unplugged.
- With the microscope powered off and unplugged, gently lay the microscope down on a sturdy surface ensuring the carrying handle side is down.

- Locate the 4 rubber feet on the underside of the microscope. Remove the rubber feet exposing the 4 screws securing the bottom plate of the microscope.

- Using an Allen wrench remove the 4 screws securing the bottom plate of the microscope. With all 4 screws removed, gently remove the bottom plate exposing the internal electrical components of the microscope.

- With all 4 screws removed, carefully remove the bottom plate exposing the internal components of the microscope.

- The electrical components are mounted onto the internal side of the bottom plate.
- Locate the 2 screws securing the LED bulb in place. Using a screw driver, remove the 2 screws.
- Locate the black wire connection. Using your thumb and forefinger, pinch the sides of the black wire plug connection and gently pull it from the wire housing.

- Place the new LED bulb (part# RB20-001) on to the LED bulb platform and attach using the small set screws that were previously removed.

- Insert the black plastic wire plug back into the wire housing.
- With the LED bulb replaced, position the bottom of the microscope plate back onto the microscope frame. Using a screw driver, secure the bottom plate with the 4 set screws. Place the 4 rubber feet over the top of the 4 set screws.
- Return the microscope to its upright position. Plug the microscope back in, power on, and adjust the rheostat control as needed.

WEB









































