3276007271959 Ezy Wall Lamp
Instruction Manual
3276007271959 Ezy Wall Lamp
5 YEAR GUARANTEE*
EAN CODE: 3276007271959
2696-V2
2021/10-V02![]()
Thank you for purchasing this product. We recommend that you read the installation, user and maintenance instructions carefully. We have designed this product to ensure your complete satisfaction. If you require assistance, the team at your retailer is on hand to help you.
Caution danger
Power off
Power up
Warning symbols
| Read the instructions | |
| Protection class II: the fitting must be double or reinforce insulated, not earthed. |
General Safety Instructions
Read this instruction manual thoroughly before using the appliance and save it for future
reference and if necessary pass the instruction manual on to a third party.
WARNING: When using electrical appliance, basic safety precautions should always be
followed to reduce the risk of fire, electrical shock and personal injury.
- General
Keep device out of reach of children and unauthorised persons.
WARNING: The power supply must be deactivated prior to assembly, maintenance, exchanging the bulb or cleaning processes. Remove the fuse or switch the fuse to OFF and secure from reactivation.
Care must be taken before drilling fixing holes to avoid any existing wiring or pipework that may be concealed.
Do not stare at operating lamp. May be harmful to the eyes. - Electrical safety
Luminaire should be installed by authorized electrician only acc. to national wiring rules.
For non-user replaceable light sources:
The light source contained in this luminaire shall only be replaced by the manufacturer or his service agent or a similar qualified person.
Caution, risk of electric shock
Specific Safety Rules
No specific Safety Rules apply.
Environmental protection
CAUTION!
Electrical products must not be thrown out with domestic waste. They must be taken to a communal collecting point for environmentally friendly disposal in accordance with local regulations. Contact your local authorities or stockist for advice on recycling. The packaging material is recyclable.
Dispose of the packaging in an environmentally friendly manner and make it available for the recyclable material collection-service.
Appliance specifications
TECHNICAL CHARACTERISTICS
| Rated voltage | 220-250V ∼ |
| Rated frequency | 50/60Hz |
| Rated wattage | 12W |
| Power factor | 0,73 |
| Supply current | 0,073A |
| Protection class | CLASS II |
| IP number | IP65 |
This product contains a light source of energy efficiency class <D> – (EU) 2019/2015
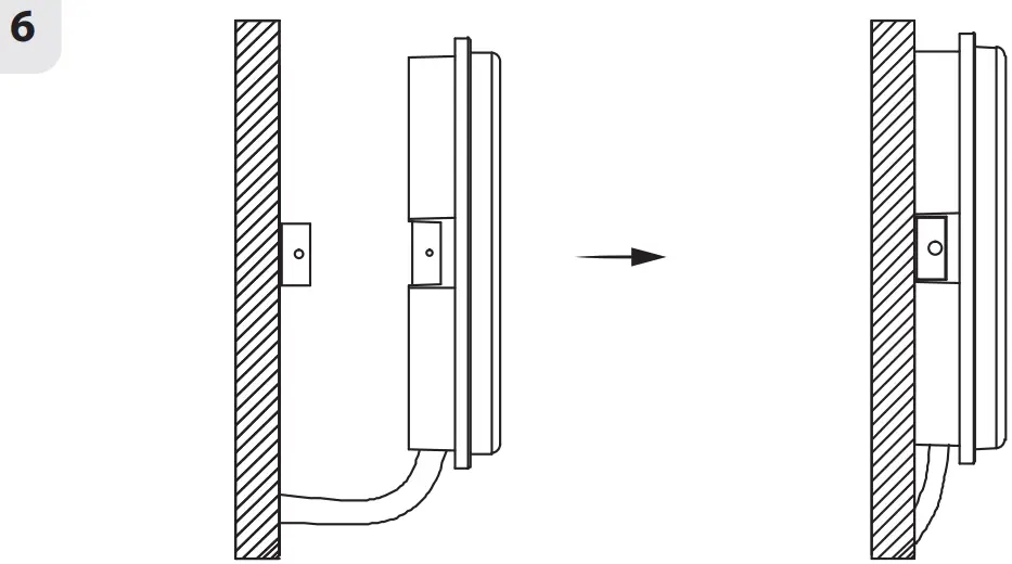
Installation / Assembly / Parts Identification / Drawings
Put your mains cable ( H05RN-F2X1.0mm²~ H07RN-F2X1.5mm², not included) into the wiring hole through the plastic stud and rubber ring . Ensure that the plastic stud is sufficiently tight.
Maintenance / Cleaning
Disconnect from mains before maintenance or cleaning.
WARNING: The use of any accessory not specified in this manual may present a risk of personal injury.
Others (Service, Repairing, Guarantee, etc …)
This electric product is in accordance with the relevant safety requirements.
Repairs should only be carried out by qualified persons using original spare parts, otherwise this may result in considerable danger to the user.
Please contact the store which you bought the product for after sale services if any.
5 years guarantee for LED chip only and based on residential usage 8 hours/day for the integrated LED product.

Use screws and dowels suited to your backing.
This product is recyclable. If it cannot be used anymore, please take it to waste recycling centre.
SPARE PARTS
Some parts of this product can be ordered from your store
ADEO Services – 135 Rue Sadi Carnot – CS 00001
59790 RONCHIN – France
5-year guarantee
Made in China























