VIVeroo REV20211221 MountingSet Inwall Free

Safety information
! Important
Please read the assembly instructions included carefully before installing the Mounting Set. Please also read the free user manual completely before using your free. Please follow the instructions and recommendations to ensure proper use and maximum enjoyment.
Safety information
free and all free mounting sets are intended for use in enclosed and dry living spaces.
The following conditions must be provided:
- Operating temperature between 0° C (32° F) and 35° C (95° F).
- Relative humidity (during use): 20 % to 90 %, non-condensing.
- No external environmental influences such as oil, chemicals, salt, extensive dust, etc.
Installation, service or repairs, if necessary, may only be performed by authorized persons.
The maximum altitude is 2.000m.
The installer is responsible for selecting the proper mounting location and safe installation of free. This also applies to installation in movable parts, such as doors. The installer is responsible for performing and documenting all necessary safety tests.
All electrical installation work may only be conducted by authorized, trained electricians, always adhering to the general rules and regulations applying to electrical installation.
Should it become apparent that safe operation of free is not assured, then free must immediately be taken out of service and secured against potential misuse. If the free functions are limited, blocked or disabled, if an unusual odor is present, if noises such as scratching are audible or damage is visible, safe operation can no longer be guaranteed.
Technical Data
Product contents
- Installation guide Inwall
- free flush-mount box with installation disc, incl. integrated level
- Power supply unit (IN: 100-240 Vac, 50/60 Hz, OUT: 5,2 Vdc) or USB Power Adapter USB-C: 100-240Vac, 50/60Hz, PD 3.0, up to 18W
Compatability
Electrical operation of free is permitted only in connection with free Mounting Set and power supply and cable included in the Mounting Set. Operation of free without a Mounting Set will lead to immediate loss of guarantee and warranty.
Measurements in millimeter
Measurements design cover free for …
… iPad mini 223 x 134
… iPad 9.7 inch, Air (before 2020) 267 x 164
iPad Air 2, iPad Pro 9.7 inch 277 x 173
… iPad 10.2 inch, Pro 10.5 inch 277 x 173
… iPad Pro 11 inch, Air (from 2020) 275 x 178
… iPad Pro 12.9 inch (from 2018) 332 x 214
Depth free 16
Size of opening (for flush-mounted box) elongated hole 68×139
Installation depth (for flush-mounted box) 75

Weight in gram
free for … 876
… iPad mini 924
… iPad 9.7 inch, Air (before 2020) iPad Air 2, iPad Pro 9.7 inch 952
… iPad 10.2 inch, Pro 10.5 inch
… iPad Pro 11 inch, Air (from 2020) 993
… iPad Pro 12.9 inch (from 2018) 1.110
Electrical connections
Power supply 100-240 Vac 50-60 Hz
Power consumption 12,5Watt – 18Watt, depending on iPad and power supply
Removal from power supply
free may be removed from the power supply via the circuit breaker in the respective rooms.
Technical changes and mistakes are excepted. Apple, iPad and Lightning are registered trademarks of Apple Inc.
Installation flush-mount box
Step 1
free can be installed either in portrait or landscape position, it is your choice.
For installation in landscape position:
Make an elongated hole in the wall (68mmx139mm). Use a holesaw (two holes next to each other with 68mm diameter, center distance 71mm).
For installation in portrait position:
Use a holesaw and make two holes among each other with 68mm diameter, center distance 71mm.
The backside of the flush-mount box can be used as a template. The depth should be approximately 75mm. ! Important: This installation guide shows the installation process for a drywall. Here free is installed in landscape position.

Step 2
Cut a hole for the cable in the flush-mount box. Use the diagonal surfaces of the box for the cut. (See photo.) Cut the hole from the back side of the box. Make the hole correspond to the size needed for the cable.
If needed please prepare a second hole for the network LAN cable, please see
LAN/Ethernet extension module Supplementary set for cable bound connection to home network. Please note that this set is a factory installed hardware.

Step 3
Insert the flush-mount box with the pre-installed installation disc into the opening in the wall. Pull 10-15 cm of the power cable through the opening.
For free in landscape position:
The integrated level will show you the 12 o’clock “UP” position. Adjust the flush mount box according to the level. (Final adjustments can be made at a later time.)
For free in portrait position:
The integrated level is in 3 o’clock position. Use an external level to align the box vertically

Step 4
For drywall installation:
Fasten the flush-mount box to the wall. For stone or solid wall installation: Let the black installation disc mounted so that the flush mounted box is not deformed in any way.
! IMPORTANT: During installation, pay attention that the flush mount box is fastened parallel to the surface and is not shifted or offset in the wall.
! IMPORTANT: It is important that the flush mounted box is not deformed in any way. Do not use any foaming installation materials that may put pressure on the box and deform it.
Step 5
Remove the installation disc by loosening the screws.
Step 6
Now connect the connecting terminal with the current carrying conductors (L, N) and the protective conductor.
! Important: Make sure that the power supply cord is unplugged during the entire installation and cannot be turned on accidentally.

Note: Illustration is an example. Depending on the iPad and USB port, another power adapter can be supplied
Step 7
Re-insert the installation disc with the three screws
! Important: Make sure that no cables are jammed between the flush mounting box and the installation disc. After completing installation, please make sure that the free is solidly secured to the wall.
Now you can install free. Please see the corresponding user manual.

Product dimensions
See document „Technical Data“.
Technical drawing

side view
from left to right: Flush mount box, wall, mounting plate, free
back view
! Attention: Measurements show free for iPad mini 4. Measurements for other generation on previous page.
The size of free varies depending on the iPad generation. Mounting plate is always the same, it allows you to change iPad generation easily.

Installation guide Mounting Set Furniture, free
free
viveroo GmbH
Wewelsburger Straße 4
33154 Salzkotten
Germany
www.viveroo.com

Safety information
! Warning
Please read the assembly instructions included carefully. Please read this free user manual completely before using your free. Please follow the instructions and recommendations to ensure proper use and maximum enjoyment.
Safety information
free and all free mounting sets are intended for use in enclosed and dry
living spaces.
The following conditions must be provided:
- Ambient temperature: Usage: between 0° C (32° F) and 35° C (95° F), storage: between -10° C (14° F) and 50° C (122° F).
- Relative humidity (during use): 20 % to 90 %, non-condensing.
- No external environmental influences such as oil, chemicals, salt, extensive dust, etc.
Installation, service or repairs, if necessary, may only be performed by authorized persons.
The installer is responsible for selecting the proper mounting location and safe installation of free. This also applies to installation in movable parts, such as doors. The installer is responsible for performing and documenting all necessary safety tests.
All electrical installation work may only be conducted by authorized, trained electricians, always adhering to the general rules and regulations applying to electrical installation.
Should it become apparent that safe operation of free is not assured, then free must immediately be taken out of service and secured against potential misuse. If the free functions are limited, blocked or disabled, if an unusual odor is present, if noises such as scratching are audible or damage is visible, safe operation can no longer be guaranteed.
Technical Data
Product contents
- Installation guide Furniture
- USB Power Adapter
(For USB-A: 100-240Vac, 50/60Hz, 12,5W, For USB-C: 100-240Vac, 50/60Hz, PD 3.0, up to 18W)
Compatability
Electrical operation of free is permitted only in connection with free Mounting Set and power supply and cable included in the Mounting Set. Operation of free without a Mounting Set will lead to immediate loss of guarantee and warranty.
Measurements in millimeter
Measurements in millimeter
… iPad mini 223 x 134
… iPad 9.7 inch, Air (before 2020) iPad Air 2, iPad Pro 9.7 inch 267 x 164
… iPad 10.2 inch, Pro 10.5 inch 277 x 173
… iPad Pro 11 inch, Air (from 2020) 275 x 178
… iPad Pro 12.9 inch (from 2018) 307 x 215
Depth free 16
Size of opening (for furniture installation) Round hole, 50mm to put the connector through.
Installation depth (for furniture) 30
Weight in gram
free for …
… iPad mini 876
… iPad 9.7 inch, Air (before 2020) iPad Air 2, iPad Pro 9.7 inch 924
… iPad 10.2 inch, Pro 10.5 inch 952
… iPad Pro 11 inch, Air (from 2020) 993
… iPad Pro 12.9 inch (from 2018) 1.110
Electrical connections
Input voltage 200-240 Vac, 50/60
Output voltage Hz via Europlug 5Vdc, 9Vdc or 12Vdc depending on iPad and USB connector
Removal from power supply
free may be removed from the power supply via the circuit breaker in the respective rooms.
Technical changes and mistakes are excepted. Apple, iPad and Lightning are registered trademarks of Apple Inc.
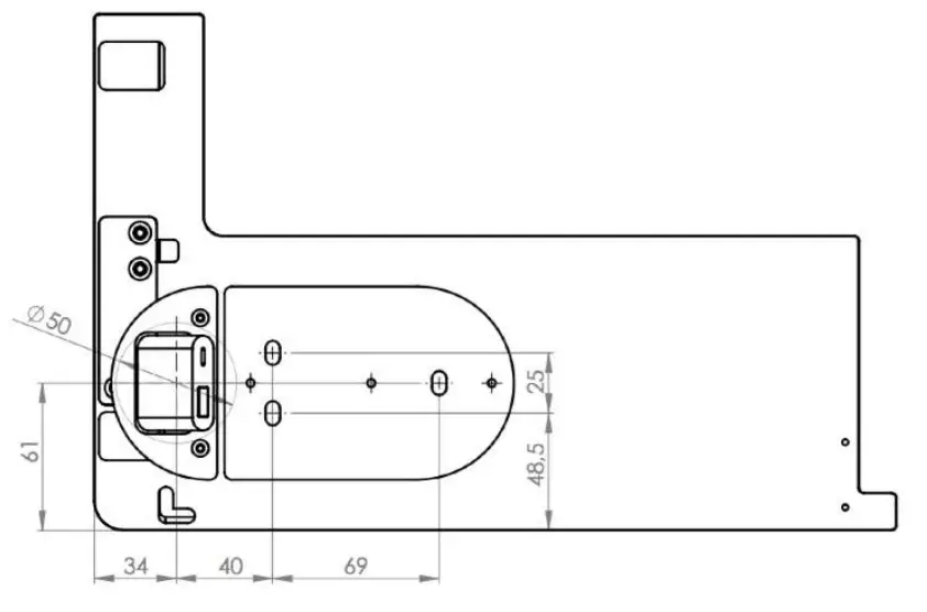
Technical drawing
side view
from left to right: Wall, mounting plate, free.
Please note: Use holesaw ∅50mm to put the connector through.


back view
! Attention: Measurements show free for iPad mini 4. Measurements for other generations on the following page.
The size of free varies depending on the iPad generation. Mounting plate is always the same, it allows you to change iPad generation easily
MountingSet PoE / MontageSet PoE
Place the PoE adapter built into the bracket in the mounting box of the PoE mounting set. A PoE switch or an injector with the 802.3at standard is also required for the power supply.
The assembly set PoE is installed according to steps 1 to 4 on page 4 of these instructions.




















