Aruba JW047A Wall Mount Kit

Specifications
- Brand: Aruba
- Item model number: AP-220-MNT-W1
- Product Dimensions: 6.6 x 5.9 x 1.9 inches
- Product Type: Mounting Bracket
- Item Weight: 2.82 ounces
- Access Point: Basic Flat Surface Mount Kit
- Wall/Ceiling Mount for AP, see description for a full compatibility list.
Description
Use the HP Aruba AP-220-MNT-W1 Network Device Mounting Kit to safely and securely mount your high-performance network devices. This wall mount kit allows you to install your modems and routers on walls and other flat surfaces, which will clear up desk space and lessen clutter. Additionally, by being mounted at a height, the network hardware can offer better coverage across a wider area. The mounting kit is compatible with the devices listed below: AP-214, IAP-214, AP-215, IAP-215, AP-224, IAP-224, AP-225, IAP-225, AP-228, IAP-228, AP-314, IAP-314, AP-315, IAP-315, AP-324, IAP-324, AP-325, IAP-325, AP-334, IAP-334, and AP-335.
Installation
The AP-220-MNT-W1 allows you to mount your 220 series access point to a wall.
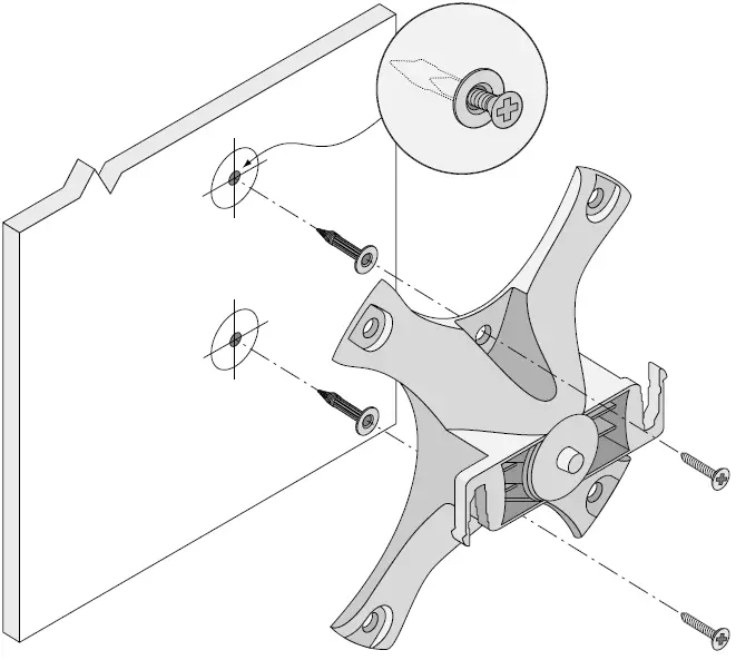
Begin by attaching the wall mount adapter to the wall as shown in Figure 1 or Figure 2.
- a. Install any necessary wall anchors. Wall anchors are not included in this kit.
- b. Align the screw holes in the mounting bracket with the previously installed anchors or demarcated screw points.
- c. Insert the screws to secure the mounting bracket. Screws are not included in this kit.
Attaching the Adapter to a Wall

Attaching the Adapter to a Wall (Alternate)

- Attach necessary cables and/or antennas to the AP.
- Attach the AP to the secured mounting adapter as shown in Figure 3.
- Align the AP with a mounting adapter, placing the AP so that its mounting tabs are at an angle of approximately 30 degrees to the adapter. Pushing toward the wall, rotate the AP clockwise until it clicks into place.
Attaching the AP to the Mounting Bracket

Completed Installation

FAQ’s
Purchase the Proper TV Mount.
There is no superior style—it all depends on how your room is organized, where you want to hang the TV, and where you plan to sit.
The mounting kit acts as the strut’s top link to the car’s body.
On the wall where you wish to attach the device, drill two holes.
The gadget is secured to the wall-mount anchors using the two wall-mount screws.
Yes, the majority of TV mounts are interchangeable.
Aluminum, brass, steel, acrylic plastic, and brass are the four most common building materials for mounts.
There are three known methods for making a mount: ready mounting, dry mounting, and wet mounting.
If you don’t mind using nails but don’t want to drill a hole in the wall for a drywall anchor, use a no-stud wall mount.
Since LED televisions are designed to be viewed from the front, it is recommended that you mount your TV on the wall in front of your viewing area.
Download this PDF Link: Aruba JW047A Wall Mount Kit


















