
Aruba AP-220-MNT-W1 Wall Mount Kit

Specifications
- Brand: Aruba
- Item model number: AP-220-MNT-W1
- Product Dimensions: 6.6 x 5.9 x 1.9 inches
- Product Type: Mounting Bracket
- Item Weight: 2.82 ounces
- Access Point: Basic Flat Surface Mount Kit
- Wall/Ceiling Mount for AP, see description for a full compatibility list.
Description
Mount your high-performance network devices safely and securely using the HP Aruba AP-220-MNT-W1 Network Device Mounting Kit. You may attach your modems and routers on walls and other flat surfaces using this wall mount kit, which will free up desk space and reduce clutter. Additionally, by mounting at a height, the network equipment can provide greater coverage across a larger region. The devices listed below are supported by the mounting kit: AP-214, IAP-214, AP-215, IAP-215, AP-224, IAP-224, AP-225, IAP-225, AP-228, IAP-228, AP-314, IAP-314, AP-315, IAP-315, AP-324, IAP-324, AP-325, IAP-325, AP-334, IAP-334, and AP-335,
Installation
The AP-220-MNT-W1 allows you to mount your 220 series access point to a wall.
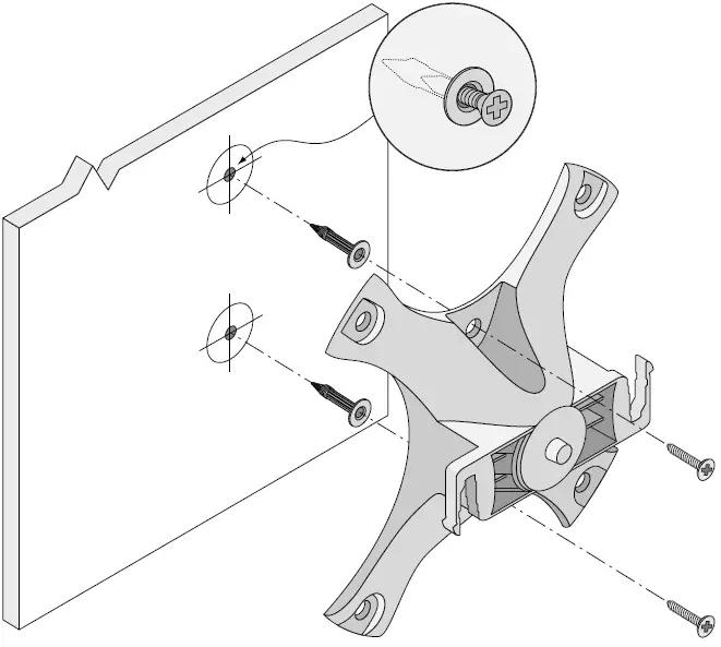
Begin by attaching the wall mount adapter to the wall as shown in Figure 1 or Figure 2.
- a. Install any necessary wall anchors. Wall anchors are not included in this kit.
- b. Align the screw holes in the mounting bracket with the previously installed anchors or demarcated screw points.
- c. Insert the screws to secure the mounting bracket. Screws are not included in this kit.
Attaching the Adapter to a Wall

Attaching the Adapter to a Wall (Alternate)

- Attach necessary cables and/or antennas to the AP.
- Attach the AP to the secured mounting adapter as shown in Figure 3.
- Align the AP with a mounting adapter, placing the AP so that its mounting tabs are at an angle of approximately 30 degrees to the adapter. Pushing toward the wall, rotate the AP clockwise until it clicks into place.
Attaching the AP to the Mounting Bracket

Completed Installation

FAQ’s
What kind of wall mount is best?
Purchase the Proper TV Mount. The many mount types include fixed, tilting or swiveling, and full motion. There is no superior style—it all depends on how your room is organized, where you want to hang the TV, and where you plan to sit.
What is the purpose of a mounting kit?
The mounting kit acts as the strut’s top link to the car’s body.
How is a wall mount kit used?
On the wall where you wish to attach the device, drill two holes. Two wall-mount anchors should be hammered into the wall’s holes. The gadget is secured to the wall-mount anchors using the two wall-mount screws.
All wall mounts are they universal?
Yes, the majority of TV mounts are universal.
What kind of substance is used for mounting?
Brass, steel, acrylic plastic, and aluminum are the four materials that are most frequently utilized to build mounts.
Which mounting technique is employed?
There are three recognized ways to make a mount: dry mounting, wet mounting, and ready mounting.
Is mounting possible without a drill?
Use a no-stud wall mount fastened with tiny nails if you don’t want to drill a hole in the wall for the drywall anchor but don’t mind using nails.
What is the ideal placement for a TV on a wall?
Since LED TVs are made to be viewed directly in front, it is recommended to mount your TV on the wall in front of your viewing area.
How can I be certain that my TV mount is stable?
The mounting holes on your flat panel are often connected to these straps, and the other end is drilled into your furniture and/or the wall. Regular screws will easily slip out of drywall, so make sure to locate a stud or use drywall fasteners.
When you move, do you leave TV wall mounts behind?
Wall mounts: It’s a good idea to leave TV wall mounts and picture mounts in place when you move if removing them could damage the wall.
Are all wall mounts functional?
Not all wall mounts are compatible with all TV models.
Download this PDF Link: Aruba AP-220-MNT-W1 Wall Mount Kit
















