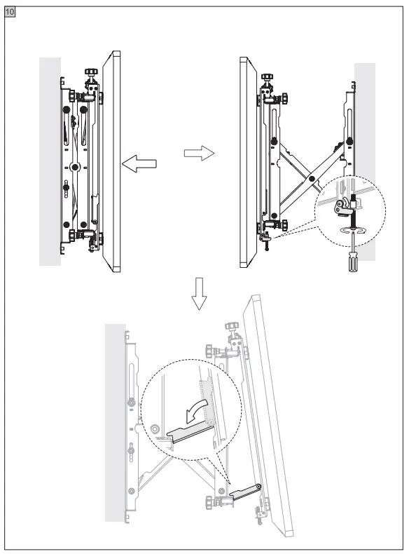
Home » Blog » Vision Vfm-vw6x4/2 Wall Mount Installation Guide Vision Vfm-vw6x4/2 Wall Mount Installation Guide Contents hide1 VISION VFM-VW6X4/2 Wall Mount2 INSTALLATION3 Documents / Resources4 Related PostsVISION VFM-VW6X4/2 Wall MountINSTALLATIONvav.link/vfm-vw6x4-2 Documents / Resouces Download manual Here you can download full pdf version of manual, it may contain additional safety instructions, warranty information, FCC rules, etc. To access the pdf donwload links, solve the captcha. Related Manuals Vision Vfm-w2x2tv2 Wall Mount Installation Guide Vision Vfm-vw6x4 Signage Video Wall Mount Instruction Manual Vision Vfm-w8x4v-2 Tv Display Wall Mount Instruction Manual Vision Vfm-w2x2v2 Flat-panel Wall Mount Instruction Manual Vision Vfm W6x4 Heavy Duty Flat-panel Wall Mount Instruction Manual Vision Vfm W4x4 Heavy Duty Flat-panel Wall Mount Instruction Manual Vision Vfm-w8x6 Heavy Duty Flat-panel Wall Mount Instruction Manual Vision Vfm W10x6 Heavy Duty Flat-panel Wall Mount Instruction Manual Vision Vfm-w6x4v Fixed Flat-panel Wall Mount User Manual Vision Vfm W6x4t Heavy Duty Tilting Flat-panel Wall Mount Instruction Manual Vision Vfm-wa2x2/3 127cm Tv Mount Instruction Manual Vision Vfm-w4x4tv-2 Tilting Flat-panel Wall Mount Instruction Manual Vision Vfm-wa4x4/3 Flat Panel Wall Arm User Guide Vision Vfm-w2x2tv2 Tilting Flat Panel Wall Mount User Guide Vision Vfm-w1x1tv2 Tilting Monitor Wall Mount Instruction Manual Vision Vfm-wa6x4-3 Black Flat-panel Wall Arm 600x400 Instruction Manual Viewsonic Vb-wmk-002 Wall Tv Mount User Guide Philips Vlt6-b1 Wall Mount Bracket Kit Installation Guide Sinoxone Sob0110 Tv Wall Mount Installation Guide Vision Vfm-wa1x1b Black Monitor Wall Arm 100x100 User Guide