XL
OPERATING MANUAL
MOVE FORWARD
XL Dolly 10000 Lbs
OPERATING MANUAL
WARNING
Carefully read and understand all the instructions before connecting your new XL.
Failure to follow these guidelines may result in serious injury to persons and property for which Trailer Valet will not be held liable. Do not allow persons to operate or assemble this unit until they have read this manual and have developed a thorough understanding of how the unit works.
IMPORTANT SAFETY INFORMATION
SAVE THESE INSTRUCTIONS
Failure to heed these markings may result in personal injury and/or property damage:
- DO NOT use the XL on slopes and inclines beyond stated limits.
- DO NOT attempt to use the XL to pull up (nose first) or to push down (rear first) an incline. Always move along an incline with the unit on the lower end of the incline.
- DO NOT submerge the XL in water (salt or fresh) or leave it in water for prolonged periods, since this can damage the gears and erode lubricants.
- DO NOT use your drill on the XL’s high gear. (Attachment sold separately)
- Carefully read all instructions. The operator of the XL must exercise common sense, caution, and full judgment when assessing situations not covered or cautioned in this manual.
- The XL is designed for specific applications only. Trailer Valet will not be responsible for issues arising from modifications made onto the device. Do not modify the device or use the device for any application other than its intended purpose. Do not exceed the designated weight limits.
- Stay alert! Do not operate if you are tired. Do not operate the device while under the influence of drugs or alcohol. Read prescription warning labels to determine if the use of prescription drugs may impair your ability to operate the device.
- As with all devices with moving parts, do not wear excessively loose clothing as it may become caught, resulting in injury. Tie back and secure long hair.
- Have a second person guide your trailer’s movements while using the XL to avoid property damage when necessary, especially in narrow or poorly visible areas.
- Operator and bystanders should never place any part of the body under or in the path of any portion of this product or the load being supported or moved.
- This product must be installed and used in strict accordance with these instructions.
- Always remember to set the brakes before leaving or if you are having trouble maintaining control of the trailer.
- Always read and understand your drill/driver operator’s manual and instructions.
- Before each use of the XL, check for damaged parts. Carefully inspect the device for any part that appears to be damaged to determine if the device will operate properly. Check for alignment and secure mounting of all moving parts. If the device is neither aligned, secured, or both: DO NOT use the device.
- When servicing, use only factory replacement parts.
- The XL is not intended to be used as a transport device for the implement it is attached to.
- Have wheel blocks in place before/after use and ready in case of emergency.
- Never exceed the maximum rated capacity. Refer to the operating manual or decals on the product to obtain rated capacity. If uncertain, contact Customer Support at (844) 846-9344 or email: [email protected].
- The XL is designed for vertical loading. Excessive side forces may cause failure and must be avoided.
- The use of gloves is recommended while attaching the device to the trailer.
- The XL is designed for use on solid surfaces. DO NOT use the product on excessively soft surfaces or muddy terrain as the device will not be able to gain traction. If there is no traction despite being on a solid surface, consider shifting more of the weight of your trailer forward.
SPECIFICATIONS
The Trailer Valet is made of high strength steel and given a powder coat finish made to resist corrosion from the elements and marine use. When cared for properly, it will provide years of service. The Trailer Valet mounts to the coupler of the trailer tongue with the aid of our specially designed Ball Attachment. Once attached to your trailer, the Trailer Valet makes maneuvering your trailer much easier. Hitching, unhitching, and moving is now done with precision. The Trailer Valet XL is designed for trailers up to 10,000 lbs. The Trailer Valet is for use only on paved surfaces or compacted gravel and soils that are free of debris.
Wheel size: 9.25 inches
Tongue max weight: 1,000 lbs.
Trailer max weight: 10,000 lbs.
Weight: 55 lbs.
Maximum dimensions: 29” H x 13” L x 7.5”
THANK YOU FOR YOUR PURCHASE!
Congratulations on your purchase of the Trailer Valet XL. For your future reference please complete the owner’s record below:
Purchase Date: ______________________
Order No.:______________________
Retailer:_____________________________
Be sure to save your receipt and owner’s manual with warranty information in a safe place.
Phone: (844) 846-9344
Email: [email protected]
Website: www.trailervalet.com
WHAT’S IN THE BOX
Upon removing items from packaging, it is very important to thoroughly inspect all parts of the system before using the device. Any part that is missing or damaged must be immediately replaced.
Contact Trailer Valet Customer Service at 1-844-846-9344 or [email protected]
The Trailer Valet XL
| 1. Steering/Brake Handle 2. Brake Cap 3. Low Gear Driveshaft 4. Brake Handle Clip 5. Side Plates 6. High Gear Driveshaft 7. Gear Covers | 8. Axle Yoke Compartment 9. Axle Screw Assembly 10. Rims and Tires 11. Tire Axle 12. Gear Chains 13. Easy-Grip Handle 14. Rotating Coupler |

ASSEMBLY
STEP 1: Check trailer height and ensure installation is on a flat surface.
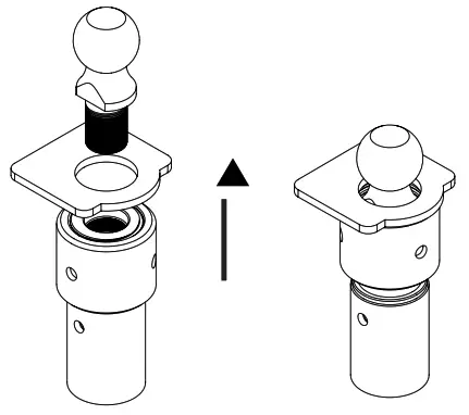
STEP 2: Set up hitch ball and ball base.
STEP 3: Attach hitch ball w/ ball base to coupler and tighten – Don’t forget your spanner wrench and tighten that base!

STEP 4: Using your trailer jack, lower the hitch towards the unit’s rotating coupler and attach rotation pin to secure.

STEP 5: Make sure the XL is securely tightened and not rocking.

STEP 6: Attach the crank handle, lift the steering handle to disengage brakes and start moving!
OPERATING INSTRUCTIONS
Knowing the proper techniques to operate your XL can help keep you and others around you safe. In this guide, you are shown the basic fundamentals for effective operations. However, it is up to you to analyze the situation and make the decisions necessary for the proper use of your XL. Apply your knowledge of your XL and the basic fundamentals you have practiced to adjust your techniques to each unique situation.
TESTING THE ASSEMBLY
WARNING Always ensure the operator and bystanders are aware of load stability.
1) Lower the trailer gradually until the existing jack is above the ground and the trailer is completely supported by the XL.
NOTE: Keeping the trailer jack close to the ground prevents serious damages from occurring due to unexpected failures.
Videos are available on the Trailer Valet website if you need a visual guide to install or use your XL.
ATTACHING DRIVER
Option 1: Manual Operation with the Hand Crank.
1) Attach the Hand Crank to the low or high gear Driveshaft.
Option 2: Using the Drill Adapter.
- Using the chuck of your drill/driver, connect to the Drill Adapter.
- Secure the chuck of your drill around the Drill Adapter tightly to avoid the Adapter slipping off the drill.
- Align and insert the Drill Adapter to the low gear Driveshaft.

NOTE: If you are using a cordless drill, be sure your battery pack is fully charged before use.
Follow your drill/driver manufacturer’s recommendation.
WARNING DO NOT use your drill on the high gear.
Visit our website to see a video on how to use your drill attachment to move your XL.
OPERATING THE DEVICE
NOTE: If your trailer has built-in brakes, they must be disengaged prior to operation of the XL. Consult your trailer manufacturer’s manual/instructions on temporary brake release. If this is not available to you, please contact Trailer Valet Customer Support through phone or email for assistance.
- When you’re getting ready to operate the device, make sure you have one hand firmly gripped on the brake, and the other hand firmly gripped on the drill/driver.
- Slowly lift the Steering Handle until the brake is disengaged and begin cranking. The Steering
Handle must be held up firmly at all times when moving the trailer.
NOTE: Hold the drill/driver firmly when engaging. The drill will have high initial torque if the drill trigger is pulled rather than squeezed. Begin to move the trailer as slowly as you are capable and carefully increase the power up to an appropriate speed when using the Drill Attachment.
NOTE: It is important that you steer the device only when you are cranking and the trailer is moving. Attempting to turn the Steering/Brake Handle at a dead stop will place excessive stress on a single tire.
NOTE: When attempting to make sharp turns (E.G. 90° rotation) from a stationary position, crank the XL back and forth while turning until the unit is in the desired position. Then, proceed to make the turn.
WARNING: DO NOT use the XL on slopes and inclines exceeding a strict maximum of 10 degrees on a paved/concrete surface. This rating is subject to factors including, but not limited to, alternate surfaces, weight distribution, change in weight capacity, and use on multi-axle trailers. DO NOT pull up or push down an incline. The unit must always be on the lower end of any incline. If you have any questions concerning the use of your XL on a slope or incline, please contact us at (844) 846-9344 or email us at: [email protected]
NOTE: Use of power drill is inadvisable for movement upon any incline.
REMOVING THE DEVICE
- Remove the drill/drive handle.
- Lower the jack until the XL is above the ground.
- To detach the Telescoping Arm, remove the Security Pins from the Jack Clamp and the Base Bracket. The Jack Clamp can optionally be left secured to the jack for future use.
- Loosen the Locking Nut and release the latch on the coupler.
MAINTENANCE
| CHECK | BEFORE FIRST USE | BEFORE EACH USE | EVERY 90 DAYS |
| Take the time to read and understand these operating instructions in order to understand your XL and its operations. | |||
| Read and understand your drill/driver operator’s manual and instructions. | |||
| Inspect the XL for damage. Replace any damaged parts immediately. If a part must be replaced, contact Trailer Valet Customer Service 844-846-9344. | |||
| If you plan to keep the device attached to the trailer after each use, you must check the Locking Nut to ensure it stays fastened tightly against the trailer tongue and that the nut is flat against the coupler. | |||
| Keep the device free from contaminants. Remove any dirt and debris from moving parts. | |||
| Apply multipurpose grease to the chain by removing the front cover of the device. | |||
| Apply multipurpose grease to the gear bushings. |
Additional Tips:
- The Trailer Valet XL is made of high strength steel and given a powder coat finish made to resist corrosion. However, if the device is used in a marine environment or where road salt is encountered, rinse off the interior and exterior with fresh water and allow to dry. DO NOT SUBMERGE THE XL as this can damage the gears and erode lubricants.
- After each use, wipe exterior surfaces with a clean cloth.
LIMITED MANUFACTURER’S WARRANTY
SuperTech S Corp warrants for one year from the purchase date that the product will be in working condition and will be free from manufacturing defects, provided that installation and use of the product is in accordance with product instructions. This warranty is only made to the original consumer purchaser and is non-transferable.
ALL OTHER WARRANTIES IMPLIED OR EXPRESSED ARE HEREBY DISCLAIMED.
THIS WARRANTY DOES NOT COVER:
- Normal wear and tear or normal aging of the product;
- Consumable parts designed to diminish over time, unless failure occurred due to a manufacturing defect;
- Cosmetic damage, including but not limited to scratches and dents;
- Damage through accident, abuse, neglect, misuse, natural events, or other external causes;
- Damage through misapplication, overloading, or improper installation;
- Damage due to improper maintenance and repair; and/or
- Product alterations.
LIMITATION OF LIABILITY:
EXCEPT AS PROVIDED IN THIS WARRANTY AND TO THE MAXIMUM EXTENT PERMITTED BY LAW, SUPERTECH IS NOT RESPONSIBLE FOR ANY DIRECT, INCIDENTAL, CONSEQUENTIAL DAMAGES, OR INJURIES RESULTING FROM ANY BREACH OF WARRANTY OR CONDITION; INCLUDING, BUT NOT LIMITED TO, LOSS OF USE, LOSS OF REVENUE, LOSS OF ACTUAL OR ANTICIPATED PROFITS, LOSS OF BUSINESS, LOSS OF OPPORTUNITY, LOSS OF GOOD WILL, LOSS OF REPUTATION, OR ANY DIRECT, INDIRECT, OR CONSEQUENTIAL LOSS OR DAMAGE WHATSOEVER CAUSED, INCLUDING THE REPLACEMENT OF EQUIPMENT AND PROPERTY.
CUSTOMER RESPONSIBILITIES:
Customers may be required to provide proof of purchase date, respond to questions designed to assist with diagnosing potential issues, and follow Trailer Valet’s directions to make a claim on your warranty.
TO MAKE A WARRANTY CLAIM:
Contact us either through:
PHONE: (844) 846-9344
EMAIL: [email protected]
WEBSITE: www.trailervalet.com
TRAILER VALET SHALL HAVE THE EXCLUSIVE RIGHT TO DETERMINE IF A UNIT IS COVERED UNDER ITS LIMITED MANUFACTURER’S WARRANTY.
SEVERABILITY:
The invalidity, illegality, or unenforceability of any provision of this warranty shall not render the other provisions invalid, illegal, or unenforceable.
GOVERNING LAW AND JURISDICTION
This warranty shall be governed by the laws of the State of California. The courts of California shall have the exclusive right to adjudicate any disputes arising under or in connection to this warranty.
Copyright 2022 by Supertech S. Corporation. All rights reserved. No portion of this manual or any artwork contained herein may be reproduced in any shape or form without the express written consent of Supertech S. Corporation.
For further information or if you have any questions, please contact:
SUPERTECH S. CORP.
Customer Service: (844) 846-9344
Email: [email protected]
WWW.TRAILERVALET.COM

















