PROFFER Round Wall Sign
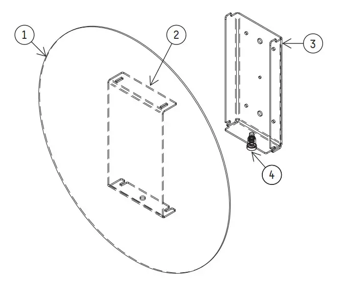
Parts List

- Sign Face
- Back Plate (Attached)
- Wall Plate
- Spring Pin
Mounting Instructions
- When applying graphics to the sign, please note that the pin and matching hole need to be at the bottom of the sign.

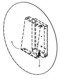
- To seperate the sign face from the wall plate, pull the spring pin then rotate the bottoms apart. The spring pin can be held open by unscrewing it while pulled out.

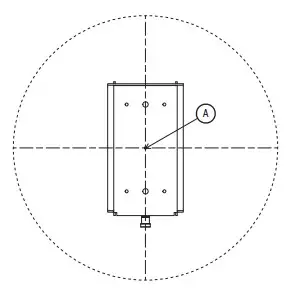
- When installing the wall plate, the small hole (A) represents the centre of the sign. The wall plate can be attached via the 4x small holes with 8g wood screws or 2x larger holes with M6, or 1/4” concrete screws.

- Once wall plate is attached to wall, the sign face can be reattached. Locate the top tabs (A) on the wall plate with the slots (B) on the back plate.

- With the top tabs located, rotate the bottom of the sign face toward the wall plate. Pull out the spring pin and release it in the hole (or screw in pin if held in locked out position).

- The sign is now installed. To remove, simply pull pin and rotate bottom of sign outward.






















