ALLEN SPORTS AR200 2-Bike Carrier
WARNING:
Bicycles or rack falling in road can cause serious accidents resulting in bodily injury – do not use rack on any vehicle on which it can’t be properly mounted as described in this instruction sheet.
- Rack should only be used on vehicles with Class II 1 4, or Class Il or IV 2 receiver hitches.
- Never used on a trailler, fifth wheel, RV, or the front of a vehicle. Never use with a third party hitch adapter or extender.
- Only cary bicycles with 26″ to 29″ diameter wheels, and tires up to 3.5″ wide.
- Only cary bicycles with a wheel base of min. 35″ to max. 48′.
- Check that front and rear wheels are securely attached to bicycle – check quick release skewers for proper connection.
- Only load bicycle front wheel in Front Wheel Tray – never transport bike with back wheel loaded in Front Wheel Tray.
- Only cary with front wheel placed in Front Wheel Tray. Never load bicycles with back wheel in Front Wheel Tray.
- Max. allowable bicycle weight: 40 LB; Max. rack capacity: 80 LB.
- Never carry tricycles, mopeds or recumbents. Car tail lights must remain visible.
- Never cary bicycles with flat or leaky tires. Loss of air pressure in tires can cause bicycles to become unstable during transport.
- Do not cary bicycles with front fenders installed. Fenders should be removed prior to transpot.
- Bikes must be securely tied to rack using bike tie-downs and additional straps as needed.
- Check periodically during use that all bolts are tight and that bicycles are secure.
- Drive conservatively, especially over bumps. Never use off road.
- Never use rack if any parts are damaged or worn. Contact R. A. Allen Company for replacement parts.
CAUTION:
Use AR200 only in accordance with local motor vehicle and traffic regulations
- INSTALL RACK AND LOAD BICYCLES ONLY AT A SAFE DISTANCE AWAY FROM MOVING TRAFFIC.
- MAKE SURE THAT ALL OF RACK AND BICYCLES ARE CARRIED AT A SAFE DISTANCE FROM ROAD AND HOT EXHAUST.
- ONLY OPERATE VEHICLE WITH RACK IN AN UPRIGHT, LOCKED POSITION
- BICYCLES SHOULD NEVER EXTEND BEYOND THE SIDE OF VEHICLE DURING TRANSPORT.
- REMOVE RACK FROM CAR WHEN NOT IN USE
PARTS LIST
QUANTITY DESCRIPTION HARDWARE KIT INCLUDING
- 8 M6 Bolts with Thread Lock Installed

- 12 M6 Washers

- 4 M6 Nylon Insert Lock Nut

- 4 M6 Carriage Bolts

- 1 4mm Hexhead tool (for rack assembly)

- 1 10mm Wrench tool (for rack assembly)

- 1 Set Keys (2) and Keychain

- Hitch Insert & U Support

- 2 Front wheel iray
Note: Wheel trays will be marked “Inner” and “Outer”. This is important for rack assembly - 2 Bike Support
Note: There are inner and outer supports. The Outer support will have the “Allen” logos. This is important for rack assembly
ASSEMBLY INSTRUCTION
Tools Required:
1-Hexhead wrench (included)
INSTALLING INNER BIKE SUPPORT
NOTE: THE INNER BIKE SUPPORT IS THE TRAY WITH NO “ALLEN” DECALS
- PLACE BIKE SUPPORT ONTO HITCH INSERT U-SUPPORT
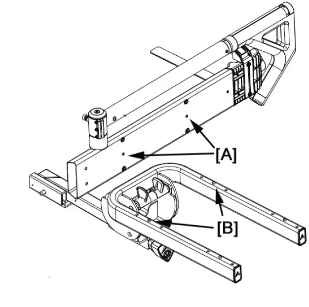
Place the alignment holes on bottom of the Bike Support [A] over the inner alignment posts [B] on the U Support
IMPORTANT Bike Support should be installed with Spar Arm [C]I toward the open end of the U Support
- SECURE BIKE SUPPORT TO HITCH INSERT U-SUPPORT
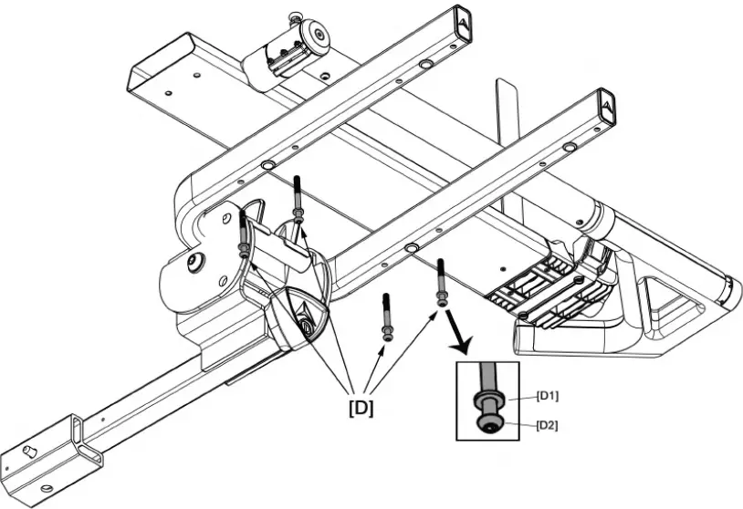
Place M6 washers [D1] on M6 bolts [D2] Making sure that the M6 Bolts [D] pass through the holes in the Hitch Insert U- Support, thread these four Bolts into the corresponding holes on the bottom of the Bike Support. Using the included hex-head tool, fully tighten the bolts so that the Wheel Tray is firmly held in place.
WARNING The bolts that secure the wheel tray have pre-installed thread-lock to hold them in place during use. If these bolts are removed at any time additional thread-lock will be required before they are reinstalled. Failing to do so could cause the Bike Support to dislodge during use, which could lead to an accident, bodily injury, or death.
INSTALLING OUTER BIKE SUPPORT ONTO HITCH INSERT U-SUPPORT
Note: THE OUTER WHEEL TRAY IS THE TRAY WITH THE “ALLEN” DECALS - SECURE BIKE SUPPORT ONTO HITCH INSERT U-SUPPORT
Place the alignment holes on bottom of the Outer Wheel Tray over the outer alignment posts on the U Support, like shown in Figure 1 above. Secure Bike Support to Hitch Insert as shown in Step 2, above.
IMPORTANT Bike Support should be installed with Spar Arm [E] toward the open end of the U Support - ATTACH FRONT WHEEL TRAYS TO BIKE SUPPORTS
IMPORTANT! There are Inner and Outer wheel trays, [F]. Wheel trays should be installed with strap release buckle, [G] located on the same side of Bike Support as Spar Arm, [E] above.
Slide Front Wheel Tray [F] into Bike Support Arm as shown. Secure tray to support using 2 x M6 Carriage Bolts, 2 x M6 Washers, and 2 x M6 Lock Nuts by passing bolts through holes in tray and support. Fully tighten nuts onto bolts using included wrench. Make sure that threads on carriage bolts fully pass through nylon locking inserts in bolts.
INSTALL RACK INTO RECEIVER HITCH - 2″ HITCH INSTALLATION
Making sure that 2″ Filler Plate is installed, insert rack into receiver hitch.
Depress pin on rack, insert rack into receiver hitch, making sure that the pin on the rack engages with the hole on your receiver hitch.
1 1/4″ HITCH INSTALLATION
Using a 4mm hex head wrench, remove the Filler Plate Screw holding the Filler Plate in place.
Depress pin on rack, insert rack into receiver hitch, making sure that the pin on the rack engages with the hole on your receiver hitch.
IMPORTANT! When installing rack into receiver hitch, do insert rack beyond where pin and hole in hitch align, as this can cause rack to become stuck in side of hitch.
NOTE:
After Filler Plate and Screw have been removed, the Filler Plate Screw can be stored in the threaded hole on the inside of the Filler Plate. Filler Plate and Screw should be saved for future 2″ hitch installation. - TIGHTENING AND LOCKING RACK TO YOUR HITCH
IMPORTANT! Tightening Knob will only tighten and loosen when Locking Cylinder inside knob is engaged. To engage locking cylinder, insert key into lock on the knob and turn key COUNTER-CLOCKWISE- Insert key into lock on the triangular knob and turn key counter-clockwise to engage knob.
- Turn knob CLOCKWISE to tighten the rack inside of the receiver hitch.
- Once rack is tight inside of receiver hitch turn the key CLOCKWISE to disengage the knob. This will lock the rack to your vehicle.
- To remove the rack from your vehicle, insert key into lock and turn key COUNTER- CLOCKWISE to engage the knob. Turn knob COUNTER-CLOCKWISE to loosen rack.
READYING AR200 TO INSTALL BICYLCES
- Raise Bike Spar Arm, lift pull pin [G] while rotating Spar Arm to its full forward position


- Making sure that Spar Arm Release is unlocked, push down Spar Arm release [| and fully extend Bicycle Spar [H]
Slide out Rear Bicycle Wheel Tray J] to approximate position to support bicycle rear wheel.
- To install bicycle in the Outer Wheel Tray, repeat Steps 7 and 8 above for the Outer Tray
INSTALLING BICYCLES ONTO AR200
Warning- Only carry bicycles with max weight of 40 LB each, 26″ to 29″ diameter wheels, tires up to 3.5″ wide, and a wheelbase of min. 35″ up to max. 48
- Load heaviest bike first.
- Always load first bicycle closest to vehicle.
- Bicycles should only be carried with front wheel installed in Front Wheel Tray.
- Never carry bicycles with flat or leaky tires.
- Never carry bicycles with front fenders installed. These should be removed before transport.
- Check that front and rear wheels are securely attached to bicycle – check that quick release skewers are faith
- Loading First Bicycle
- Place bicycle front wheel in Front Wheel Tray

- Rotate Bicycle Spar Arm up until hook rest 1 or less from brakes or front fark

- Firmly apply pressure against the hook [KJ to compress the honk against the wheel

- Feed Front Wheel Strap through the spokes, then thread strap through buckle and tighten

- Slide Rear Wheel Tray in or out so that tray [L] is centered at the bottom of the rear wheel

- Feed Rear Wheel Strap through the spokes, then thread strap through buckle and tighten

- Place bicycle front wheel in Front Wheel Tray
- LOADING SECOND BICYCLE
Load second bike in an alternate direction from first bike, and repeat Numbers 1 through 6 from above. - UNLOADING BICYCLES
- Release wheel tray straps by pulling on tab end [M while pressing release tab [N]. Tuck strap behind rear wheel. Pulling on the strap helps to release the buckle.
- Release Bicycle Spar Arm by pressing Spar Arm Release to remove bicycle

- LOCKING BICYCLES TO RACK
- With the Spar Arm fully tightened on front wheel, insert key into lock and turn to a locked position [O]. This will prevent the red release button from being released and bicycle being removed.
NOTE: For added security for your bicycles, it is recommended to use an additional locking cable to secure your bicycles to the rack. Cable should be threaded through the bicycle frame and wheels then locked to your vehicle’s receiver hitch.
FOLDING RACK AGAINST VEHICLE WHEN NOT IN USE
- With the Spar Arm fully tightened on front wheel, insert key into lock and turn to a locked position [O]. This will prevent the red release button from being released and bicycle being removed.
- FOLDING RACK AGAINST VEHICLE
To fold rack up against vehicle for storage when not in use- Fold down rack by sliding in Rear Wheel Trays, rotate Front Wheel Trays into closed position, retract Bicycle Spars, and place Spar Arms into horizontal (inlet) postion.
- While lifting rack slightly, squeeze the two red release tabs [P] together. Lift rack to fold up against vehicle. Rack will snap into place when vertical. Make sure that no part of the rack comes into contact with vehicle.
TILTING RACK BACK FOR VEHICLE ACCESS
- TILTING RACK BACK
- While lifting rack slightly, squeeze release tabs Once released, lower the rack in a controlled manner until the rack stops [Step1]. Open rear door
- IMPORTANT! When vehicle access is complete, Lift rack back to horizontal position, ensuring that rack “Snaps” back into place.
NOTE: DUE TO DIFFERENT BICYCLE AND HITCH DIMENSIONS, REAR DOOR MAY NOT FULLY CLEAR BICYCLES WHEN BEING OPENED, SO OPEN REAR DOOR WITH CAUTION TO AVOID POTENTIAL DAMAGE TO VEHICLE.









Note: Wheel trays will be marked “Inner” and “Outer”. This is important for rack assembly
Note: There are inner and outer supports. The Outer support will have the “Allen” logos. This is important for rack assembly
IMPORTANT Bike Support should be installed with Spar Arm [C]I toward the open end of the U Support
WARNING The bolts that secure the wheel tray have pre-installed thread-lock to hold them in place during use. If these bolts are removed at any time additional thread-lock will be required before they are reinstalled. Failing to do so could cause the Bike Support to dislodge during use, which could lead to an accident, bodily injury, or death.
IMPORTANT Bike Support should be installed with Spar Arm [E] toward the open end of the U Support
Slide Front Wheel Tray [F] into Bike Support Arm as shown. Secure tray to support using 2 x M6 Carriage Bolts, 2 x M6 Washers, and 2 x M6 Lock Nuts by passing bolts through holes in tray and support. Fully tighten nuts onto bolts using included wrench. Make sure that threads on carriage bolts fully pass through nylon locking inserts in bolts.
1 1/4″ HITCH INSTALLATION
IMPORTANT! When installing rack into receiver hitch, do insert rack beyond where pin and hole in hitch align, as this can cause rack to become stuck in side of hitch.
READYING AR200 TO INSTALL BICYLCES









NOTE: For added security for your bicycles, it is recommended to use an additional locking cable to secure your bicycles to the rack. Cable should be threaded through the bicycle frame and wheels then locked to your vehicle’s receiver hitch.
TILTING RACK BACK FOR VEHICLE ACCESS
NOTE: DUE TO DIFFERENT BICYCLE AND HITCH DIMENSIONS, REAR DOOR MAY NOT FULLY CLEAR BICYCLES WHEN BEING OPENED, SO OPEN REAR DOOR WITH CAUTION TO AVOID POTENTIAL DAMAGE TO VEHICLE.
















