MODEL ZN540
INSTRUCTIONS
ZN540 4-Bike Hitch Racks
PRODUCT REGISTRATION:
MAKE SURE TO REGISTER YOUR PURCHASE AT http://allensportsusa.com/about/product-registration TO QUALIFY FOR A PRODUCT WARRANTY AND TO
RECEIVE IMPORTANT PRODUCT NOTIFICATIONS
WARNING: Bikes or racks falling in the road can cause serious accidents resulting in bodily injury—do not use racks on any vehicle on which it can not be properly mounted as described in this instruction sheet.
- Rack should only be used on vehicles with 2” receiver hitches.
- NEVER use on trailers or in front of vehicles.
- Bikes must be tied to the rack using tie-downs, or additional straps if necessary.
- Check periodically during use that all bolts and pins are tight, and that rack and bicycles are secure.
- Never carry more than 4 bikes (max capacity 140 LB/ 35 lb per bike) – no tandems, mopeds, or recumbents. Car tail lights must remain visible.
- Drive conservatively, especially over bumps. Never use off-road.
- Do not use if any part of the rack is damaged, worn, or missing. Contact R. A. Allen Co., Inc. for replacement
CAUTION: Use Allen ZN540 only in accordance with a local motor vehicle and traffic regulations.
- Install rack and load bicycles only at a safe distance away from moving traffic.
- Make sure that all racks and bicycles are kept at a safe distance from the road and hot exhaust.
- Only operate a vehicle with the rack in an upright, locked position.
- Bicycles should never extend beyond the sides of the vehicle.
- Remove rack from a car, or fold carry arms down when not in use.
PARTES:
ZN540 BOX SHOULD CONTAIN THE FOLLOWING ITEMS:

ASSEMBLING RACK:
STEP 1
- INSERT LOWER PORTION OF RR POST INTO HITCH INSERT SO THAT THE HOLES AT THE BOTTOM OF EACH PART LINE UP.
- INSERT THE 3/8” X 3” BOLT THROUGH THE HOLE, AND THREAD 1—3/8” LOCK NUT ONTO THE END OF THE BOLT.
- PIVOT THE RR POST INTO THE UPRIGHT POSITION, SO THAT THE UPPER HOLES LINE UP. INSERT THE QR CLIP THROUGH THESE HOLES,
AND SECURE THE WIRE RETAINER CLIP. - TIGHTEN NUT AND BOLT FIRMLY USING TWO WRENCHES.

TOOLS REQUIRED: 2—9/16” WRENCH & 2—3/4” WRENCH; OR 2—ADJUSTABLE WRENCHES
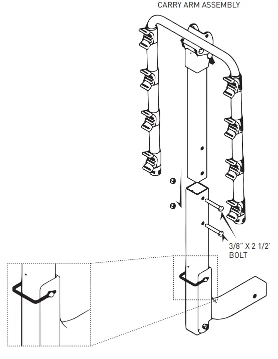
STEP 2
- INSERT CARRY ARM ASSEMBLY INTO UPPER PORTION OF THE RR POST, LINING UP THE HOLES IN EACH PART.
- INSERT THE 3/8” X 2 1/2” BOLTS THROUGH EACH HOLE, AND THREAD 1—3/8” LOCK NUT ONTO THE END OF THE BOLTS.
- TIGHTEN NUT AND BOLT FIRMLY USING TWO WRENCHES. NOTE: UPON COMPLETION, BOTH PARTS SHOULD BE FIRMLY JOINED TOGETHER.

IMPORTANT:
WHEN THE RACK IS IN AN UPRIGHT POSITION, THE WIRE RETAINER ON QR CLIP SHOULD ALWAYS BE IN A CLOSED POSITION TO KEEP RACK FROM FALLING OVER DURING USE.
INSTALLING RACK ONTO VEHICLE:
MODEL ZN540 SHOULD ONLY BE USED ON 2” RECEIVER HITCHES INSTALLED ON AUTOMOBILES. NEVER USE THIS RACK ON A TRAILER.
- WITH ARMS IN FOLDED POSITION, INSERT RACK INTO RECEIVER HITCH. LINE UP A HOLE IN THE BASE WITH A HOLE OF THE RECEIVER HITCH.
- INSERT A NO-WOBBLE BOLT INTO THE HOLE, MAKING SURE THAT THE SHOULDER OF THE BOLT COMES AGAINST THE RECEIVER RACK INSIDE OF HITCH.
- TIGHTEN FIRMLY USING TWO – 3/4” WRENCHES. THERE SHOULD NOT BE ANY MOVEMENT OF THE RACK INSIDE OF THE HITCH WHEN DONE.

FOLDING UP CARRY ARMS:
- TO FOLD UP CARRY ARMS, REMOVE THE QR CLIP FROM THE CARRY ARM ASSEMBLY, AND SWING THE CARRY ARMS INTO AN UPRIGHT POSITION.
- RE-INSTALL THE QR CLIP, MAKING SURE TO PROPERLY CLOSE THE WIRE RETAINER ON THE QR CLIP.
- IMPORTNANT: WIRE RETAINER MUST BE FULLY CLOSED TO KEEP THE CARRY ARMS IN AN UPRIGHT POSITION DURING USE. PLEASE SEE THE DRAWING IN STEP 2 ON PAGE 1.
ROTATE ARMS INTO UPRIGHT POSITION

LOADING BICYCLES ON RACK:
- REMOVE ALL LOOSE ITEMS FROM BICYCLES (PUMPS, BAGS, ETC.), AND CHECK THAT ALL QUICK-RELEASE HUBS ARE TIGHT.
- LOAD FIRST BICYCLE WITH ITS CHAIN AND GEARS FACING AWAY FROM RACK. MAKE SURE THAT BICYCLES DO NOT COME IN CONTACT WITH VEHICLE.
- LOAD SUBSEQUENT BICYCLES IN ALTERNATING DIRECTIONS. FOR BEST WEIGHT DISTRIBUTION, LOAD THE HEAVIEST BICYCLES FIRST, WITH LIGHTER BICYCLES ON THE OUTSIDE. ADD PADDING BETWEEN BICYCLE CONTACT POINTS, IF NECESSARY.
- AFTER BICYCLES ARE LOADED, CHECK THAT ENTIRE RACK IS SECURE AND THAT THE NO-WOBBLE BOLT IS TIGHT, AND THAT THE RACK IS STILL FIRMLY IN PLACE. VISION OUT OF REAR WINDOW MAY BE RESTRICTED—USE SIDE MIRRORS ACCORDINGLY WHEN BACKING UP.
SPECIAL NOTE ON INSTALLING WOMEN’S STYLE FRAMES:
PLACE ONE CARRY ARM UNDER THE FRONT TOP TUBE. WITH THE OTHER CARRY ARM, ROTATE TIE-DOWN CRADLE, AND PLACE THE CARRY-IN SPACE BEHIND SEAT TUBE AND BELOW REAR DOWN-STAY. THE ALLEN 900B ADAPTOR BAR IS ALSO RECOMMENDED FOR THIS APPLICATION.
SECURING BIKES TO RACK:
ALL BIKES MUST BE SECURELY TIED TO RACK. USE INDIVIDUAL TIE-DOWN STRAPS, OR ADDITIONAL STRAPS IF NECESSARY.
- PLACE BICYCLE IN CRADLE.

- THREAD STRAPS.

- PULL STRAP TIGHT.

- USE 70” STRAP (NOT INCLUDED) TO PULL ALL BICYCLES TOGETHER AROUND BOTTOM BRACKETS. THE STRAP SHOULD ALSO SECURE WHEELS.

ALLEN LIFETIME WARRANTY:
IF AN ALLEN BIKE RACK IS FOUND TO HAVE A DEFECT IN WORKMANSHIP OR MATERIAL OVER THE LIFETIME OF THE ORIGINAL PURCHASER, ALLEN WILL REPAIR OR REPLACE THE RACK FREE OF CHARGE. THE WARRANTY DOES NOT COVER DAMAGE OR WEAR WHICH OCCURS AS A RESULT OF DAY TO DAY USE OR GENERAL WEAR AND TEAR.
Get the lastest news, info, give-a-ways, and pics on our social media sites!
![]()
ALLEN SPORTS USA
505 BEACHLAND BLVD.
VERO BEACH, FL 32963, USA
[email protected]
WWW.ALLEN.BIKE
http://allensportsusa.com/products/hitch-carriers/deluxe-four-bike-542rr
©2022 R. A. ALLEN CO., INC., ALL RIGHTS RESERVED
V.9.21




















