ALLEN ZN522Q 2-Bike Spare Tire Rack
TOOLS REQUIRED
- 2-9/16″ WRENCH & 2-3/4″ WRENCH; OR 2-ADJUSTABLE WRENCHES
WARNING:
- Bikes or rack falling in road can cause serious accidents resulting in bodily injury-do not use rack on any vehicle on which it can not be properly mounted as described in this instruction sheet.
- Rack should only be used on vehicles with 1 1/4″ or 2″ receiver hitches.
- NEVER use on trailers or front of vehicles.
- Bikes must be tied to rack using tie-downs, or additional straps it necessary.
- Check periodicaly during use that all bolts and pins are tight, and that rack and bicycles are secure.
- Never carry more than 2 bikes (max capacity 70 LB) – no tandems, mopeds, or recumbents. Car tail lights must remain visible.
- Drive conservatively, especially over bumps. Never use off-road.
- Do not use if any part of the rack is damaged, worn, or missing. Contact R. A. Allen Co., Inc. for replacement parts.
CAUTION:
- Use Allen rack only in accordance with local motor vehicle and traffic regulations.
- Install rack and load bicycles only at a safe distance away from moving traffic.
- Make sure that all of rack and bicycles are kept at a safe distance from road and hot exhaust.
- Only operate vehicle with rack in an upright, locked position.
- Bicycles should never extend beyond sides of vehicle.
- Remove rack from car, or fold carry arms down when not in use.
PARTS
ASSEMBLING RACK
STEP 1
- INSERT LOWER PORTION OF QR POST INTO HITCH INSERT SO THAT THE HOLES AT THE BOTTOM OF EACH PART LINE UP.
- INSERT THE 3/8″ X3″ BOLT THROUGH THE HOLE, AND THREAD 1-3/8″ LOCK NUT ONTO THE END OF THE BOLT.
- PIVOT THE RR POST INTO THE UPRIGHT POSITION, SO THAT THE UPPER HOLES LINE UP. INSERT THE QR CLIP THROUGH THESE HOLES, AND SECURE THE WIRE RETAINER CLIP
- TIGHTEN NUT AND BOLT FIRMLY USING TWO WRENCHES.

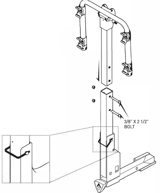
STEP 2
- INSERT CARRY ARM ASSEMBLY INTO UPPER PORTION OF QR POST, LINING UP THE HOLES IN EACH PART.
- INSERT THE 3/8″ X2 1/2″BOLTS THROUGH EACH HOLE, AND THREAD 1-3/8″ LOCK NUT ONTO THE END OF THE BOLTS.
- TIGHTEN NUT AND BOLT FIRMLY USING TwO WRENCHES.

NOTE: UPON COMPLETION, BOTH PARTS SHOULD BE FIRMLY J0INED TOGETHER
INSTALLING RACK ONTO VEHICLE
THIS RACK SHOULD ONLY BE USED ON CLASs II 1 1/4″ 0R CLASS II OR IV 2″ RECEIVER HITCHES PROFESSIONALLY INSTALLED ON AUTOMOBILES. NEVER USE THIS RACK ON A TRAILER OF ANY KIND. HITCH INSERT SHOULD BE ADJUSTED FOR THE CORRECT HITCH SIZE DEPENDING ON YOUR VEHICLE FOR 2″ HITCHES THE FILLER PLATE SHOULD BE INSTALLED WITH FILLER PLATE SCREW BEFORE INSTALLING THE RACK ONT0 YOUR VEHICLE FOR 1 1/4″ HITCHES REMOVE THE FILLER PLATE AND SCREW. NOTE THAT THERE ISA HOLE ON THE FILLER PLATE WHERE THE SCREW CAN BE STORED. SAVE THESE PARTS FOR FUTURE USE.
- STEP 1: INSERT KEY INTO LOCK AND TURN KEY COUNTER-CLOCKWISE SO THAT LOCKING KNOB CAN TIGHTEN/ LOOSEN THE HITCH INSERT WEDGE.
- STEP 2: R0TATE LOCKING KNOB CoUNTER CLOCKWISE TO LOOSEN THE HITCH INSERT WEDGE.

- STEP 3: DEPRESS HITCH SPRING PIN AND INSERT RACK INTO RECEIVER HITCH UNTIL HITCH SPRING PIN ENGAGES HOLE IN VEHICLE RECEIVER HITCH
- STEP 4: TURN THE LOCKING KNOB CLOCKWISE TO TIGHTEN THE RACK INSIDE OF THE RECEIVER HITCH. BE CAREFUL NOT TO OVER TIGHTEN; A PROPERLY SECURED RACK SHOULD BE FREE OF ANY MOVEMENT INSIDE OF THE RECEIVER HITCH.
- STEP 5 (OPTIONAL): INSERT KEY AND ROTATE CLOCKWISE TO THAT LOCKING KNOB CAN SPIN FREELY. THIS WILL LOCK YOUR RACK TO YOUR VEHICLE TO REMOVE RACK FROM VEHICLE, FOLLOw STEPS 1 THROUGH 3 ABOVE

FOLDING UP CARRY ARMS
- TO FOLD UP CARRY ARMS, REMOVE THE QR CLIP FROM
- THE CARRY ARM ASSEMBLY, AND SWING CARRY ARMS
- INTO UPRIGHT POSITION. RE-INSTALL THE QR CLIP
- MAKING SURE TO PROPERLY CLOSE THE WIRE RETAINER ON THE QR CLIP
- IMPORTNANT: WIRE RETAINER MUST BE FULLY CLOSED TO KEEP
- THE CARRY ARMS IN AN UPRIGHT POSITION DURING USE. PLEASE SEE DRAWING IN STEP 2 ON PAGE 1.

LOADING BICYCLES ON RACK
- REMOVE ALL LOOSE ITEMS FROM BICYCLES (PUMPS, BAGS, ETC.), AND CHECK THAT ALL QUICK RELEASE HUBS ARE TIGHT.
- LOAD FIRST BICYCLE WITH ITS CHAIN AND GEARS FACING AWAY FROM RACK MAKE SURE THAT BICYCLES D0 NOT COME IN CONTACT WITH VEHICLE.
- LOAD SUBSEQUENT BICYCLES IN ALTERNATING DIRECTIONS. FOR BEST WEIGHT DISTRIBUTION, LOAD HEAVIEST BICYCLES FIRST, WITH LIGHTER BICYCLES ON THE OUTSIDE. ADD PADDING BETWEEN BICYCLE CONTACT POINTS, IF NECESSARY.
- AFTER BICYCLES ARE LOADED, CHECK THAT ENTIRE RACK IS SECURE AND THAT NO-WOBBLE BOLT IS TIGHT, AND THAT THE RACK IS STILL FIRMLY IN PLACE. VISION OUT OF REAR WINDOW MAY BE RESTRICTED-USE SIDE MIRRORS ACCORDINGLY WHEN BACKING UP.
SPECIAL NOTE ON INsTALLING wOMEN’S STYLE FRAMES:
PLACE ONE CARRY ARM UNDER FRONT TOP TUBE. WITH THE OTHER CARRY ARM, ROTATE TIE-DOWN CRADLE, AND PLACE CARRY IN SPACE BEHIND SEAT TUBE AND BELOW REAR DOWN-STAY. THE ALLEN 900B ADAPTOR BAR IS ALSO RECOMMENDED FOR THIS APPLICATION.
SECURING BIKES TO RACK
- PLACE BICYCLE IN CRADLE.
- THREAD STRAPS.
- PULL STRAP TIGHT.
- USE 70″ STRAP (NOT INCLUDED) TO PULL ALL BICYCLES TOGETHER AROUND BOTTOM BRACKETS STRAP SHOULD ALSO SECURE WHEELS.

ALLEN LIFETIME WARRANTY:
IF AN ALLEN BIKE RACK IS FOUND TO HAVE A DEFECT IN WORKMANSHIP OR MATERIAL OVER THE LIFETIME OF THE ORIGINAL PURCHASER, ALLEN WILL REPAIR OR REPLACE THE RACK FREE OF CHARGE. THE WARRANTY DOES NOT COVER DAMAGE OR WEAR WHICH OCCURS AS A RESULT OF DAY TO DAY USE OR GENERAL WEAR AND TEAR.
Get the lastest news, info give-a-ways and pics on our social media sites!
ALLEN SPORTS
- 505 BEACHLAND BLVD.
- SUITE 1 – 1002
- VERO BEACH, FL 32963
- www.ALLEN.BIKE
- [email protected]

























