DOYLE 58880 6 Inch Hitch Vise

Product Information
Hitch-Mounted Vise
The Hitch-Mounted Vise is a portable vise that can be mounted onto a vehicle’s hitch receiver for convenient use. It has a maximum jaw opening of 5.75 inches and a throat depth of 5 inches. The vise also has pipe jaw capacity ranging from 0.5 to 3.5 inches.
Specifications
- Required Hitch Receiver Jaw Width: 2 Square
- Maximum Jaw Opening: 5.75 inches
- Throat Depth: 5 inches
- Pipe Jaw Capacity: 0.5 – 3.5 inches
Important Safety Information:
- Mount before use according to the instructions provided. Improper mounting can create hazards.
- Wear ANSI-approved safety goggles and heavy-duty work gloves during mounting and use.
- Park the vehicle, turn off ignition, and chock wheels before installing or using the vise.
- Do not sit or stand on the vise.
- Do not exceed the receiver’s rated capacity.
- Remove the vise from the vehicle after use.
- Keep the work area clean and well-lit.
- Keep bystanders out of the area during use.
- Verify that the installation surface has no hidden utility lines before drilling or driving bolts.
- Inspect before every use; do not use if parts are loose or damaged.
- Maintain product labels and nameplates. These carry important safety information. If unreadable or missing, contact Harbor Freight Tools for a replacement.
- Damage could occur to your vise and/or workpiece if you overtighten the handle.
Product Usage Instructions
When unpacking the product, make sure that it is intact and undamaged. If any parts are missing or broken, please call 1-888-866-5797 as soon as possible. Tools required for assembly and service may not be included.
Before using the product, read the manual carefully. Failure to do so can result in serious injury. Write the product’s serial number in the back of the manual near the assembly diagram (or month and year of purchase if the product has no number). Keep this manual and the receipt in a safe and dry place for future reference.
To mount the vise onto a vehicle’s hitch receiver, follow these instructions:
- Insert the tube into the receiver.
- Wiggle the vise inside the receiver. If the vise is loose, remove it and adjust set screws with a hex key (sold separately).
- Reinsert the tube, aligning the hole in the tube with the hole in the receiver.
- Insert the hitch pin through the hole.
- Insert the R-clip through the hole in the hitch pin.
To mount the vise onto a surface, follow these instructions:
- Place the vise on a flat, solid surface capable of supporting the weight of the vise and workpiece.
- Using the vise as a template, mark two mounting holes.
- Drill appropriate-sized holes for bolts (sold separately).
- Secure the vise with appropriate bolts, washers, and nuts (sold separately).
Remember to inspect the vise before every use and do not use it if parts are loose or damaged. Remove the vise before moving the vehicle. Also, do not use the vise as a step, and do not allow children to play with or near this item.
Safety Instructions
- Save This Manual Keep this manual for the safety warnings and precautions, assembly, operating, inspection, maintenance and cleaning procedures. Write the product’s serial number in the back of the manual near the assembly diagram (or month and year of purchase if product has no number). Keep this manual and the receipt in a safe and dry place for future reference.
- When unpacking, make sure that the product is intact and undamaged. If any parts are missing or broken, please call 1-888-866-5797 as soon as possible.
- Copyright© 2021 by Harbor Freight Tools®. All rights reserved.
- No portion of this manual or any artwork contained herein may be reproduced in any shape or form without the express written consent of Harbor Freight Tools.
- Diagrams within this manual may not be drawn proportionally. Due to continuing improvements, actual product may differ slightly from the product described herein.
- Tools required for assembly and service may not be included.
- WARNING: Read this material before using this product. Failure to do so can result in serious injury. SAVE THIS MANUAL.
Specifications
| Required Hitch Receiver | 2″ Square |
| Jaw Width | 6″ |
| Maximum Jaw Opening | 5.75″ Maximum |
| Throat Depth | 5″ |
| Pipe Jaw Capacity | 0.5 – 3.5 in |
Important Safety Information
- Mount before use according to these instructions. Improper mounting can create hazards.
- Wear ANSI-approved safety goggles and heavy-duty work gloves during mounting and use.
- Park vehicle, turn off ignition and chock wheels before installing or using Vise.
- Do not sit or stand on Vise. Do not use vise as a step.
- Do not exceed receiver’s rated capacity.
- Remove Vise from vehicle after use.
- Keep work area clean and well lit.
- Keep bystanders out of the area during use.
- Verify that installation surface has no hidden utility lines before drilling or driving bolts.
- Do not assemble when tired or when under the influence of drugs or medication.
- Do not use when tired or when under the influence of alcohol, drugs or medication.
- This product is not a toy. Do not allow children to play with or near this item.
- Use as intended only.
- This product is NOT designed to pull, tow or push.
- Remove vise before moving vehicle.
- Inspect before every use; do not use if parts are loose or damaged.
- Maintain product labels and nameplates. These carry important safety information. If unreadable or missing, contact Harbor Freight Tools for a replacement.
- Damage could occur to your vise and/or workpiece if you overtighten the Handle.
SAVE THESE INSTRUCTIONS
Mounting Instructions
WARNING! TO PREVENT SERIOUS INJURY: Verify that installation surface has no hidden utility lines before drilling or driving bolts.
Mount to Receiver
- Insert Tube into receiver.
- Wiggle Vise inside receiver. If Vise is loose, remove it and adjust Set Screws with hex key (sold separately).
- Reinsert Tube, aligning hole in Tube with hole in receiver.
- Insert Hitch Pin through hole.
- Insert R-Clip through hole in Hitch Pin.

Mount to Surface
- Place Vise on flat, solid surface capable of supporting weight of Vise and work piece.
- Using Vise as template, mark two mounting holes.
- Drill appropriated size holes for bolts (sold separately).
- Secure Vise with appropriate bolts, washers and nuts (sold separately).
Operating Instructions
- Turn Handle counterclockwise to open Jaws.
- Place work piece inside Jaws.
CAUTION! Keep fingers away from Jaws while tightening them. - Turn Handle clockwise to tighten Jaws against work piece until it is held securely. Do not overtighten.
- After use, remove vise from vehicle. Store indoors out of children’s reach.
Maintenance
- Keep moving parts lubricated. Wipe off excess lubricant on Handle and Jaws.
- Keep Jaws clean. Remove Jaw Inserts for cleaning by removing Jaw Insert Screws.
- Periodically, check and tighten mounting hardware.
PLEASE READ THE FOLLOWING CAREFULLY
- THE MANUFACTURER AND/OR DISTRIBUTOR HAS PROVIDED THE PARTS LIST AND ASSEMBLY DIAGRAM IN THIS DOCUMENT AS A REFERENCE TOOL ONLY. NEITHER THE MANUFACTURER OR DISTRIBUTOR MAKES ANY REPRESENTATION OR WARRANTY OF ANY KIND TO
- THE BUYER THAT HE OR SHE IS QUALIFIED TO MAKE ANY REPAIRS TO THE PRODUCT, OR
- THAT HE OR SHE IS QUALIFIED TO REPLACE ANY PARTS OF THE PRODUCT. IN FACT, THE MANUFACTURER AND/OR DISTRIBUTOR EXPRESSLY STATES THAT ALL REPAIRS AND PARTS REPLACEMENTS SHOULD BE UNDERTAKEN BY CERTIFIED AND LICENSED TECHNICIANS, AND NOT BY THE BUYER. THE BUYER ASSUMES ALL RISK AND LIABILITY ARISING OUT OF HIS OR HER REPAIRS TO THE ORIGINAL PRODUCT OR REPLACEMENT PARTS THERETO, OR ARISING OUT OF HIS OR HER INSTALLATION OF REPLACEMENT PARTS THERETO.
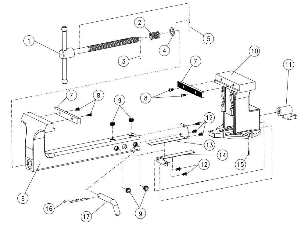
Parts List
| Part | Description | Qty | Part | Description | Qty | |
| 1 | Spindle & Handle | 1 | 10 | Stationary Body | 1 | |
| 2 | Spindle Spring | 1 | 11 | Spindle Nut | 1 | |
| 3 | Cylinder Pin | 1 | 12 | Sliding Plate Screw | 5 | |
| 4 | Washer | 1 | 13 | Static Sliding Plate | 1 | |
| 5 | Cylinder Pin | 1 | 14 | Active Sliding Plate | 1 | |
| 6 | Tube | 1 | 15 | Knurled Cylindrical Pin | 1 | |
| 7 | Jaw Insert | 2 | 16 | R Clip | 1 | |
| 8 | Jaw Insert Screw | 4 | 17 | Hitch Pin | 1 | |
| 9 | Set Screw | 4 | ||||
Record Serial Number Here:
Note: If product has no serial number, record month and year of purchase instead.
Note: Some parts are listed and shown for illustration purposes only, and are not available individually as replacement parts. Specify number when ordering.193175448149.
Assembly Diagram
Limited 90-Day Warranty
- Harbor Freight Tools Co. makes every effort to assure that its products meet high quality and durability standards, and warrants to the original purchaser that this product is free from defects in materials and workmanship for the period of 90 days from the date of purchase. This warranty does not apply to damage due directly or indirectly,
to misuse, abuse, negligence or accidents, repairs or alterations outside our facilities, criminal activity, improper installation, normal wear and tear, or to lack of maintenance. - We shall in no event be liable for death, injuries to persons or property, or for incidental, contingent, special or consequential damages arising from the use of
our product. Some states do not allow the exclusion or limitation of incidental or consequential damages, so the above limitation of exclusion may not apply to you. - THIS WARRANTY IS EXPRESSLY IN LIEU OF ALL OTHER WARRANTIES, EXPRESS OR IMPLIED, INCLUDING THE WARRANTIES OF MERCHANTABILITY AND FITNESS.
- To take advantage of this warranty, the product or part must be returned to us with transportation charges prepaid. Proof of purchase date and an explanation of the complaint must accompany the merchandise.
- If our inspection verifies the defect, we will either repair or replace the product at our election or we may elect to refund the purchase price if we cannot readily and quickly provide you with a replacement.
- We will return repaired products at our expense, but if we determine there is no defect, or that the defect resulted from causes not within the scope of our warranty, then you must bear the cost of returning the product.
- This warranty gives you specific legal rights and you may also have other rights which vary from state to state.
- 26677 Agoura Road
- Calabasas, CA 91302
- 1-888-866-5797
- Visit our website at: http://www.harborfreight.com
- Email our technical support at: [email protected]






















