Blue Flame BRJW350BFE, 350HFE Instantaneous Gas Water Heater

COMPONENTS AND PARTS NAMES

SPECIFICATION

- In case of exhaust airflow less than 70m’hr for a short instant that overheats sensor (OHS) is not triggered hv spillover of exhaust air. operation is still normal.
Instructions
Hot water at the proper rated temperature flows out when the cock is turned open
- Control the volume flow of the hot water by adjusting the hot water cock.
- Close the hot water cock after use, and the burner will be off automatically.
- When the hot water cock is turned open next time, the burner will be ignited again.
Note
- Rated temperature refers to the temperature preset for the heater. The temperature from the hot water cock may vary depending on the season and the length of the pipe. Therefore, the rated temperature here is only for reference.
- When the water supplied is of a high temperature, the temperature of the hot water from the cock may be higher than the rated temperature. ln this case, please tum the water supply cock (near the compound cock) open and adjust for the proper temperature.
- When the hot water volume flow is under 2 liters per minute, the burner automatically shuts down.
The function of Air Filter
- Air filter prevents oil mist from going into water heater and makes appliance lifetime longer. In case air filter becomes dirty, please clean air filter.
Caution
- Air filter has to be set on the front cover. (Water heater does not work if without air filter or air filter is not set properly)
- Do not put used air filter close to fire. This is to avoid the possibility that oil mist on the air filter may catch fire.
The procedure of Cleaning Air Filter
Caution
- To keep the unit operating correctly, inspect the air filter regularly, cleaning at least once a month.
- To remove light dust or lint, a vacuum cleaner may be used.
- Do not tap or strike the air filter to remove contaminants.
- If the air filter is severely clogged, use water to remove contaminants.
- If the air filter was not cleaned, it might cause to reduce the life expectancy of the appliance.
- Use water and a brush.
- Be sure that the air filter is completely dry before attempting to replace it.
- Do not use any solvents or insecticide sprays
- Do not operate the appliance without the air filter or with an air filter which has not been dried completely.
- It may bring trouble.
Clean air filter when “I5” flashed on the temperature display.
How to remove filters

- Take off the screw ~f filter A.
- Pull filter A and filter B together.
- Take off filter A and filter B together from the front cover.
- Separate filter A and filter B.
- Take off filter B from filter A.
- How to put the filters back
- Fit filter B in filter A.
- Put filter B on filter A.
- Fit filter A and filter Bin the gap of the front cover together.
- Return filter A and filter B to the original position together.
- Tighten the screw of filter A.
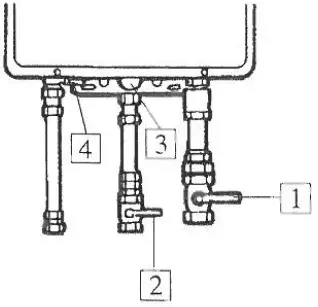
Discharge the water inside the heater
- Please do discharge the water inside the heater when the heater will not be used for a long time.

- Turn off the gas valve [I] and the main water supply valve [1].
- Disconnect the electrical power plug ( or tum off the switch of the distributor block).
- Fully open the hot water cock.
- Subsequently, open the water-supply pipe discharging valve [1] and the pressure relief valve 4.
INSTALLATION
- Water heater installation has to be carried out by Registered Gas Installer (RGI).
- Single Flue Connection

- Common Flue Connection to Central Exhaust System (CES)

Cautions for connection to common flue duct
- Power supply to water heater must be interlocked with common flue exhaust fan when water heater flue outlet is connected to common flue duct.
- Connect with exclusive draught diverter when water heater is connected with common flue duct.
- Set 70m’/hr (@-125Pa) or above for exhaust air flow from each water heater exhaust pipe before connecting with draught diverter. (In case of exhaust air flow less than 70m’/hr for a short instant that overheat sensor (OHS) is not triggered by the spillover of exhaust air, operation is still normal.)
- To confirm exhaust air flow, after connecting exhaust pipe with draught diverter, confirm exhaust pipe surface temperature is 50~ 100°C at maximum capacity at 300mm downstream from draught diverter.
- For direct flue to outside air, maximum length of flue pipe is 7 meters plus 3 Nos. of bend (1 bend is equivalent to 0.5 meter). For CES connection, flue extraction rate shall generally not be less than 70m’hr (a – 125Pa).
Interlock System
Where a gas appliance is installed with flue gas vented to outside air via a pipe/duct for connection to a Central Exhaust System (CES), an interlock shall be provided to ensure the gas appliance is not operated unless the CES is in normal operation.
In general, normal operation signal of exhaust fan is transmitted to interlock device which will send signal to allow to electrically power up the gas water heater. In case any abnormal signal generated from exhaust fan, the interlock device will cease to send signal and stop electricity supply to gas water heater. Meanwhile, the indication lamp on the connection box for gas water heater will be unlit, and inspection for CES is required. The interlock, being part of the gas installation in connection with the operation with the CES, shall be inspected and serviced regularly (by Authorized Person to ensure it is in proper, reliable and safe working order for con- trolled operation of CES. It detects internal pressure when the internal pressure becomes over 0.5 in WG (-125Pa) interlock is activated.
Typical installation and arrangement of interlocking system

Note: This is for reference only. Actual installation and arrangement will be subject to site conditions.
Packaged installation with other optioned equipment
Dishwashers
- BRJW350BFE gas water heater can be selected to connect with dishwashers as a pre-heater to provide adequate hot water for washing or rinsing process.
- Hot water is drawn out from BRJW350BFE and delivered to dishwasher through an appropriate plumbing system.
- BRJW350BFE shall be turned on before the dishwasher is in operation.
- Please ensure water flow through water heater to dishwasher during dishwashing.
Tea Boiler System
- BRJW350BFE gas water heater can be selected to connect with electric tea boiler as pre-heater to provide adequate very hot water of above 92°C for making tea or hot beverage.
- 80°C hot water is drawn out from BRJW350BFE and delivered to electric tea boiler under water output pressure of the heater.
- BRJW350BFE shall be turned on before filling the water to tea boiler.
- Please ensure water flow through water heater to tea boiler during hot water draw-off from tea boiler tap.
The wake pip: linked between water heater and equipment shall be as short as possible in order to minimize the pressure loss. The pipe length is suggested to be less than 6 meters. Hot water temperature can appropriately be adjusted subject to system conditions. For detail arrangements of the above, please contact The Hong Kong and China Gas Company Limited at 2963 3300.
INSTRUCTIONS FOR MAINTENANCE
INSTRUCTIONS FOR INSPECTION AND MAINTENANCE
Matters need attention regarding inspection and maintenance:
- Regular inspection and maintenance is recommended for safe operation.
- When conducting inspection and maintenance, please (1 turn off the gas valve 2 disconnect the electrical power supply, and 3 wait till the heater cools down.
- Make sure not to dismantle the front cover.
Matters need attention regarding inspection:
- ls there any abnormal sound during the operation of the heater?
- Is there any abnormality in the exterior look of the heater?
- ls there any inflammable substance near the heater or the exhaustion tube?
- Is there a dirt inside the front part of the hot water cock? Please frequently clean the metal strainer inside:.
- Is there a normal operation of exhaust extraction and ventilation?
Note: This appliance shall be serviced at least once a year by Registered Gas Installer (RGI). Recommended at least once a year.
Instruction for maintenance

- If there is fouling on the surface of the heater, please gently wipe with a wet piece of cloth that has been twisted dry. Never use any detergent, thinner or benzine to remove the fouling.
- If any dirt accumulates in the front of the water-supply discharging cock, the hot water flow volume may be
reduced. - In this case, please close the main water supply valve first, dismantle the water-supply discharging cock, and then remove the dirt on the strainer. Especially, if there has been any runner water piping works recently, closer attention may be required to clean the strainer.
- Please close the main water supply valve before cleaning the strainer.
TROUBLESHOOTING
WAYS TO IDENTIFY ABNORMALITY AND TROUBLESHOOTING
The following situations should not be considered as malfunctions

Note: If not effective after the remedial actions. please call Towneas Customer Services Hotline at 2880-6988.
Please check the corresponding part in the following cases:
CASE/ PART TO BE CHECKED

- If still no hot water comes out after the above items are checked, please disconnect ( or tum off the switch on the distributor block), and then plug the heater and conduct the operational steps once more. If still no hot water comes out, please contact THE HONG KONG AND CHINA GAS CO LTD.
Note: Don’t use water that has been stored inside the appliance for a long time for drinking and cooking.
CAUTION SAFETY
- The temperature of output water is preset to 80°C (BRJW350BFE), 60°C (BRJW350HFE) caution hot.
- When using this appliance connected to Central Exhaust System (CES), please switch on the System to ensure adequate ventilation.
- No matter this appliance is connected with flue to CES or directly to outside, please make sure adequate ventilation naturally/mechanical, refering to local statutory requirements.
- Under normal use, to avoid accident and ensure water heater safety, we recommend regular inspection at least once a year by authorized person.
Error messages
Safety Controls will monitor the operation of water heater continuously. If a fault occurs, an Enor message will flash on the Temperature Display. This assists with diagnosing the fault, and may enable you to overcome a problem without a service call. Please quote the code displayed when enquiring about service.

NOTE: In some cases, you may be able to clear the Error message simply by turning the hot water tap OFF. then ON again. lf this does not clear the Error message. Please call Towngas Customer Service Hotline at 2880-6988.






















