BLUMFELDT 10035960 Gas Patio Heater User Manual
Dear Customer,
Congratulations on purchasing this device. Please read the following instructions carefully and follow them to prevent possible damages. We assume no liability for damage caused by disregard of the instructions and improper use. Scan the QR code to get access to the latest user manual and more product information.
TECHNICAL DATA
| Item number | 10035960, 10035961, 10035962 |
| Gas category | I3B / P(50) |
| Gas pressure | 50 mbar |
| Gas type | Butane, Propane and their mixture |
| Injector size | 1.4 mm |
SAFETY INSTRUCTIONS
- Please read the instructions carefully before installation and use of the appliance and keep the manual for future reference.
- This appliance must be used outdoors or in a well ventilated area, and should not be installed or used indoors.
- Change the gas cylinder in a well ventilated area, away from any inflammation sources.
- The cylinder must be stored outdoors or in a well ventilated area.
- Storage this appliance indoors is permissible only if gas cylinder is disconnected and removed from the appliance.
- Do not move this appliance when in operation, or after it has been turned off before the temperature has cooled down.
- Do not attempt to alter the appliance in any manner. Do not paint the radiant screen, control panel or reflector
- Do not obstruct the ventilation holes of the cylinder housing.
- The appliance must be installed and gas cylinder stored in accordance with local gas fitting regulations.
- Shut off the valve at the gas cylinder or the regulator before moving the appliance.
- Repairs should be done by a qualified person.
- In case of violent wind, particular attention must be taken against tilting of the appliance.
- Check that the regulator seal is correctly fitted and able to fulfil its function.
- Close the gas supply at the valve of the gas cylinder or the regulator after use.
- Do not use this appliance until all connections have been leak tested.
- In the event of gas leakage, the appliance shall not be used or if alight, the gas supply shall be shut off and the appliance shall be investigated and rectified before it is used again.
- Check the tubing or the flexible hose at least once per month and each time the cylinder is changed.
- The tubing or the flexible hose must be changed within the prescribed intervals or within one year.
- The hose assembly must be replaced prior to the appliance being put into operation if there is evidence of excessive abrasion or wear, or if the hose is damaged, and that the replacement hose assembly shall be that specified by the manufacturer.
- The heater should be inspected before use and at least annually by a qualified service person. More frequent cleaning may be required as necessary. It is imperative that control compartment, burners and circulating air passageways of the appliance be kept clean.
- Shut off and check heater immediately if any of the following conditions exist:
- The smell of gas in conjunction with extreme yellow tipping of the burner flames.
- Heater does not reach a proper temperature. A temperature less than 5 °C will cause restricted heat flow and the appliance will not work properly.
- The appliance starts making popping noises during use (a slight popping noise is normal when the appliance is extinguished).
- The regulator and hose assembly must be located out of pathways where people may trip over it or in area where the hose will not be subject to accidental damage.
- Any guard or other protective device removed for servicing the heater must be replaced before operating the heater.
- Children and adults should be warned of the hazards of high surface temperatures and should stay away to avoid burns or clothing ignition.
- Young children and pets should be carefully supervised when they are in the area of the heater.
- Clothing or other flammable materials should not be hung from the appliance, or placed on or near the appliance.
- Do not place articles on or against this appliance. Certain material or items when stored under or near this appliance will be subjected to radiant heat and could be seriously damaged.
- Do not use or store flammable materials near this appliance.
- Do not spray aerosols in the vicinity of this appliance while it is in operation.
- Always maintain a minimum clearance of 1 meter from combustible materials.
- Always position the appliance on a firm level surface. An amply ventilated area must have a minimum of 25 % of the surface area open. The surface area is the sum of the walls surface.
- The use of this appliance in enclosed areas can be dangerous and is PROHIBITED.
- Do not use the appliance until it has been fully assembled.
- The appliance must not be used at temperatures below 5 °C.
- This item should not be used in rain.
CAUTION
Risk of burns and fire! The appliance becomes very hot during use. Do not touch it! Keep children, clothing, furniture, gasoline and other liquids with flammable vapours away from the appliance.
DEVICE OVERVIEW AND PARTS LIST

| No. | Part name | QTY |
| 1 | Reflector | 1 |
| 2 | Protection grid | 1 |
| 3 | Flame screen | 1 |
| 4 | Flame screen support | 1 |
| 5 | Diamond protection grid | 1 |
| 6 | Bottom plate of diamond grid | 1 |
| 7 | Glass tube | 1 |
| 8 | Rubber ring | 1 |
| 9 | Table | 1 |
| 10 | Burner head | 1 |
| 11 | Rear of tank housing assembly | 1 |
| 12 | Door | 1 |
| 13 | Wheels set | 1 |
| 14 | Base | 1 |
| No. | Part name | Illustration | QTY |
| AA | M6 Cap Nut |
| 4 |
| BB | Ø6 Washer |
| 4 |
| CC | M4x12 Screw |
| 6 |
| DD | M8x16 Bolt |
| 2 |
| EE | M8 Flange nut |
| 2 |
| FF | M5x12 Screw |
| 12 |
ASSEMBLY
Required tools (not supplied): Phillips screwdriver
Leak detection solution: 1 part detergent + 3 parts water
- Assemble all nuts and bolts loosely at first. Tighten all connections after completion of assembly. This eases your work and increase the stability of the appliance.
- Before assembly, make sure all packing material and any transmit protection must be removed.
- Small deviations in equipment may occur. This is no lack of quality but subject to improvements.
- If any part is missing or damaged, do not attempt to assembly this product, Contact customer service for replacement parts.
- Assembly should be performed on a flat, level, non-abrasive surface.
- To improve stability, the preassembled base can be filled with sand (not included).
- Estimated assembly time: 30 minutes.
INSTALLATION
Important installation and operating instructions
- For use outdoors or in amply ventilated areas.
- An amply ventilated area must have a minimum of 25 % of the surface area open. The surface area is the sum of the walls surface.
- The use of this appliance in enclosed areas can be dangerous and is
PROHIBITED. - Children and adults should be aware of the high operating temperatures of areas above the post when operating this heater. Children should be carefully supervised when in the vicinity of the heater.
- NEVER hang anything, including clothes or any other flammable items, on this heater.
- DO NOT operate this heater unless it is fully assembled with its reflector in place.
- Respect the minimum clearances from combustible materials
Distance
Step 1
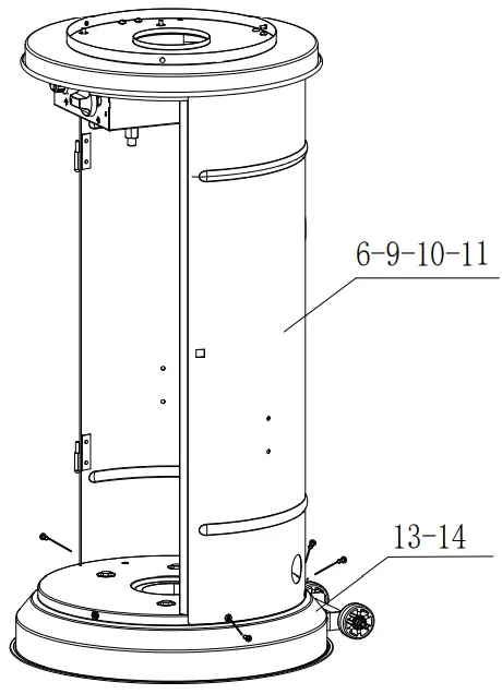
Line up holes on the bracket of wheel assembly (13) with the corresponding holes on base (14), then insert 2pcs M8 x 16 mm bolts (DD) through holes. Hand tighten with 2pcs M8 flange nuts (EE).
Step 2
Keep the burner with the igniter side up. Fix the burner assembly (10) to the assembled table and rear of tank housing (6-9-11) using 4pcs M5x12 screws and washers (FF).
Step 3
Put and fix the assembled table and rear of tank housing on the base (14) using 4pcs M5x12 screws (FF).
Step 4
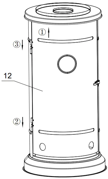
Pay attention to fix door according to above steps 1-3 carefully.
- Insert the door (12) under the assembled base and rear of the gas cylinder housing.
- Insert the lower door pin in advance.
- Insert the upper door pin.
Step 5
Fix the diamond protection grid (5) on the bottom plate of diamond grid (6) using 3pcs M4x12 screws (CC).
Step 6
Fix Diamond protection grid (5) on the Bottom plate of diamond grid (6) using 3pcs M4x12 screws (CC).
Step 7
Place Flame screen with supports (3-4), Protection grid (2) in order, then fix these parts using 3pcs M4x12 screws (CC). Place reflector on the top using 4pcs Ø6 washers (BB) and M6 cap nuts (AA).
CONNECT GAS CYLINDER
Gas requirements
- You will need to purchase suitable gas hose and regulator from your local gas dealer if the appliance does not include gas hose and regulator. The appliance must use an EN16129 approved gas regulator and EN16436-1 approved gas hose with a length of 50 cm.
- Refer to the technical data. It is strictly prohibited to use adjustable pressure.
- The life expectancy of the regulator is estimated as 10 years. It is recommended that the regulator is changed within 10 years of the date of manufacture or the national conditions require it.
- The hose used must conform to the relevant standard for the country of use. Worn or damaged hose must be replaced. Ensure that the hose is not obstructed nor kinked. It is recommended that the hose is changed within 1 year of the date of manufacture or the national conditions require it.
- Never connect this appliance to an unregulated gas source.
- Always perform a leak test on gas connections whenever a cylinder is connected. If bubbles form in the leak test solution, do not use. Never use a flame to test for leaks.
Using 30 mbar butane regulator for butane of I3B/P(30) or butane of I3+.
Using 30 mbar propane regulator for propane or butane/propane mixture of I3B/P(30).
Using 37 mbar butane regulator for butane of I3B/P(37).
Using 37 mbar propane regulator for propane or butane/propane mixture of I3B/P(37) or I3P(37).
Using 50 mbar butane regulator for butane of I3B/P(50).
Using 50 mbar propane regulator for propane or butane/propane mixture of I3B/P(50) or I3P(50)
Connecting to a gas cylinder
- Recommended to use max. 15 kg or smaller gas cylinder (maximum height 65 cm) refer to your local gas supplier for suitable gas cylinder.
- Never use a gas cylinder with a damaged body, valve, collar, or foot ring. A dented or rusty gas tank may be hazardous and should be checked out by a gas supplier.
- When the appliance is not in use, turn the gas cylinder OFF.
- Only change gas cylinders outdoors or in a well ventilated area away from naked flames and any other source of ignition (candle, cigarettes, other flame producing appliance etc.).
- The gas cylinder must always be used in an upright position.
- Tighten all connections firmly and with a spanner where appropriate.
- The cylinder should be located on the cylinder base.

- Fix both Velcro tapes onto rear of tank housing using preassembled four M5x12 screws, Ø5 washers, M5 nuts.
- Position a gas cylinder inside the tank housing.
- Close the gas cylinder tap, then connect the gas cylinder with a regulator. Please refer to the instructions attached with the regulator on how to connect a regulator with the gas cylinder.
- Stick Velcro tapes together as illustrated. The tapes must be in a proper tightness for the gas cylinder.
Note: Please take care that the Velcro tapes, do not strain the regulator assembly!
CAUTION
Risk of fire! Check for leaks at all joints using soapy water. If a leak is found, tighten the joint and then re-test.
Leak testing
WARNING
Risk of explosion! Never use a naked flame to check for leaks. Never smoke during a leak test.
- The gas connections on this appliance are leak tested at the factory prior to shipment.
- This appliance needs to be periodically checked for leaks and an immediate check is required if the smell of gas is detected.
- Make a soap solution using 1 part of liquid dish-washing soap to 3 parts water. The soap solution can be applied with a soap bottle, brush, or rag to the leak tested points shown in the figure (right).
- The valve of the gas cylinder should be in the “OFF” position at this point
of the leak test. Once the soapy solution is applied to the gas connections, the valve of the gas cylinder needs to be turned to the “ON” position. - Soap bubbles will begin to form in the soapy solution if a leak is present.
- In case of a leak, turn off the gas supply. Tighten any leaking fittings, then turn the gas supply on and recheck.
OPERATION
Before first use and after every gas cylinder change, gas delivery system must be purged of air before igniting! To do this, turn the control knob anticlockwise to the pilot setting. Press knob in and hold for about 3 minutes before attempting ignition.
Battery replacement
Remove impulse ignition cap from Burner Assembly (15) by turning cap counterclockwise. Install 1 AAA battery. Negative end of battery goes in first, then replace impulse ignition cap by turning cap clockwise.
To light the pilot
- Check all connections prior to each use.
- Turn on main gas supply at source.
- Press to turn control knob anti-clockwise to PILOT, see right photo.
- Hold knob depressed, press IGNITION button repeatedly until pilot flame is lit, then continue to hold the knob depressed for 10 seconds until the pilot remains it after releasing knob.
- If pilot fails to ignite or alight, press to turn knob clockwise to OFF and repeat.
To light the patio heater
- The pilot should be lit and the knob set to PILOT.

- Hold knob depressed gently and turn anti-clockwise to LOW.
- When mesh glows lit, turn knob clockwise from Low to HIGH as needed.
Note: The burner may be noisy when initially turned on. To eliminate excessive noise from the burner, turn the control knob to the pilot position. Then turn the knob to the level of heat desired.
Re-lighting
- Turn Control Knob to OFF.
- Wait at least 5 minutes, to let gas dissipate, before attempting to re-light pilot.
- Repeat the “Lighting” steps.
To extinguish
- Hold knob depressed & turn the knob clockwise to ‘OFF’
- Close the valve of the gas cylinder or the regulator after use.
- Close the gas bottle and allow this appliance to cool before moving the appliance.
Note: After use, some discoloration of the emitter screen is normal. Close regulator after use, allow the appliance to cool before moving.
CLEANING AND MAINTENANCE
Perform the following cleaning and maintenance activities on a regular basis.
Cleaning
- Keep exterior surfaces clean.
- Use warm soapy water for cleaning. Never use flammable or corrosive cleaning agents.
- While washing your unit, be sure to keep the area around the burner and pilot assembly dry at all times. If the gas control is exposed to water in any way, DO NOT try to use it. It must be replaced.
- Airflow must be unobstructed. Keep controls, burner and circulation air passageways clean. Signs of possible blockage include:
- Gas odor with extreme yellow tipping of flame.
- Heater does NOT reach the desired temperature.
- Heater glow is excessively uneven.
- Heater makes popping noises.
- Spiders and insects can nest in burner or orifices. This dangerous condition can damage the heater and render it unsafe for use. Clean burner holes by using a heavy duty pipe cleaner. Compressed air may help clear away smaller particles.
- Carbon deposits may create a fire hazard. If any carbon deposits develop, clean dome and engine with warm soapy water.
Note: In a salt-air environment (such as near the sea), corrosion occurs more quickly than normal. Frequently check the corroded areas and repair them promptly.
Maintenance
- Contact manufacturer or costumer service for servicing this appliance and replacement of its parts. Maintenance of the appliance may only be carried out by qualified personnel.
- Do not use unauthorized parts or components for this appliance, only use original equipment replacement parts and components. The use of unauthorized parts or components will void the warranty and can create an unsafe condition.
Storage
- There is no limitation on the storage of the appliance indoors provided that the cylinder is removed from the appliance.
Between uses:
- Turn control knob to “OFF”.
- Turn gas cylinder OFF.
- Store heater upright in an area sheltered from direct contact with inclement weather (such as rain, sleet, hail, snow, dust and debris).
- If desired, cover to protect exterior surfaces and to prevent build up in air passages.
Note: Wait until heater is cool before covering.
During periods of extended inactivity or when transporting:
- Turn control knob to “OFF”.
- Disconnect gas cylinder and move to a secure, well ventilated location outdoors. DO NOT store in a location that will exceed 50 °C.
- Store heater upright in an area sheltered from direct contact with inclement weather (such as rain, sleet, hail, snow, dust and debris).
- If desired, cover heater to protect exterior surfaces and to prevent build up in air passages
Note: Wait until heater is cool before covering.
Problem Cause / Condition Burner flame is low. Note: Do not operate heater below 5 °C (40 °F).Gas pressure is low.
| Problem | Cause / Condition | Solution |
| Pilot won’t light. | Gas cylinder valve is closed. | Open valve. |
| Blockage in orifice or pilot tube | Clean or replace orifice or pilot tube. | |
| Air in the gas line. | Open gas line and bleed it (pressing control knob in) for not more than 1-2 minutes or until you smell gas. | |
| Low gas pressure. | Gas cylinder is low or empty. Replace gas cylinder. | |
| Igniter fails. | Use match to light pilot, and obtain new igniter and replace. | |
| Solution | ||
| Pilot won’t stay lit. | Dirt build up around pilot. | Clean dirt from around pilot. |
| Connection between gas valve and pilot assembly is loose. | Tighten connection and perform leak test. | |
| Bad thermocouple | Replace thermocouple. | |
| Burner won’t light. | Gas pressure is low. | Replace gas cylinder. |
| Blockage in orifice | Clear blockage | |
| Control knob is not in “LOW“ or “HIGH“ position. | Turn control knob to “LOW“ or “HIGH” position. | |
| Replace gas cylinder. | ||
| Outdoor temperature is higher than 5 °C (40 °F) and tank is less than 25 % full. | Replace gas cylinder | |
| Supply hose is bent or kinked . | Straighten hose and perform leak test on hose. | |
| The control knob is in “HIGH“ position. | Turn control knob to “OFF“, let it cool to room temperature and check burner and orifices for blockage | |
| Emitter glows uneven. Note: Bottom 2.5 cm of emitter normally does not glow. | Gas pressure is low. | Replace gas cylinder. |
| Base is not on a level surface. | Place heater on a level surface. | |
| Heater is not level. | Level heater. | |
| Carbon build-up | Dirt or film on reflector and emitter. | Clean reflector and emitter. |
| Thick black smoke | Blockage in burner. | Turn control knob to “OFF“, let it cool to room temperature, remove blockage and clean burner inside and outside. |
HINTS ON DISPOSAL
According to the European waste regulation 2012/19/EU this symbol on the product or on its packaging indicates that this product may not be treated as household waste. Instead it should be taken to the appropriate collection point for the recycling of electrical and electronic equipment. By ensuring this product is disposed of correctly, you will help prevent potential negative consequences for the Environment and human health, which could otherwise be caused by inappropriate waste handling of this product. For more detailed information about recycling of this product, please contact your local council or your household waste disposal service.
Your product contains batteries covered by the European Directive. 2006/66/EC, which cannot be disposed of with normal household waste. Please check local rules on separate collection of batteries. The correct disposal of batteries helps prevent potentially negative consequences on the environment and human health.
PRODUCER
Chalk-Tec GmbH, Wall strafe 16, 10179 Berlin, Germany.
PRODUCT DATA SHEET
| Item number | 10035960, 10035961, 10035962 | ||||||
| PIN code | 0063CO7365 | ||||||
| Gas Heat Input | ∑Qn(Hs)=11.2 kW | ||||||
| Gas Consumption | 815 g/h | ||||||
| Gas Category | I3+(28-30/37) | I3B/P(30) | I3B/P(50) | I3B/P(37) | I3P(37) | I3P(50) | |
| Gas Pressure | 28-30 mbar | 37 mbar | 30 mbar | 50 mbar | 37 mbar | 37 mbar | 50 mbar |
| Type of Gas | Butane | Propane | Butane, Propane and their mixture | Butane, Propane and their mixture | Butane, Propane and their mixture | Propane | Propane |
| Destination Countries | BE-CY-CH-CZ-FR- ES-GB-GR-IE-IT- PT-SK-SI-TR | BE-CY- CZ-DK- EE-FI- GR-IT-LT- LV-MT- NL-NO- SE-SI-SK- BG-RO- TR | AT-CH- DE | PL | CZ-FR-GB-GR- IE-PT | AT-CH- DE-NL | |
| Injector Size | 1.6 mm (1.6) | 1.6 mm (1.6) | 1.4 mm (1.4) | 1.5 mm (1.5) | 1.6 mm (1.6) | 1.5 mm (1.5) | |
WARNINGS:
| ![]() | ||||||
Chal-Tec GmbH Wallstraße 16 10179 Berlin Germany 063-21 | |||||||









063-21

















