JOCEL JAT007445 Patio Heater

SAFETY WARNINGS
- For use outdoors or in amply ventilated areas.
- An amply ventilated area must have a minimum of 25% of the surface area open.
- The surface area is the sum of the walls surface.
- This appliance is not fitted with “Atmosphere sensing device”.
- WARNING: The use of this appliance in enclosed areas can be dangerous and is prohibited.
- WARNING: Read the instructions before installation and use.
- WARNING: This appliance must be installed and the gas cylinder stored in accordance with the regulations in force.
- WARNING: Use only the type of gas and the type of cylinder specified in these instructions.
- WARNING: Do not obstruct the ventilation holes of the cylinder housing.
- WARNING: In case of violent wind particular attention must be taken against tilting of the appliance.
- WARNING: Do not move the appliance when in operation.
- WARNING: Shut off the valve at the gas cylinder or the regulator before moving the appliance.
- WARNING: The tubing or the flexible hose must be changed within the prescribed intervals.
- WARNING: Do not connect the gas cylinder directly to the appliance without regulator.

IMPORTANT INFORMATION
- LPG cylinder not provided. The appliance is designed to operate with a cylinder size no more than Ø31.8 x 58 cm.
- This appliance requires a 15 kg butane LPG cylinder or a 13 kg propane LPG cylinder. Gas regulator should be the correct one and be set according to specific gas category (see Technical data on page 3).
- Gas regulator should be approved according to EN 16129:2013 with proper capacity (g/h), pressure, working temperature and inlet + outlet connection for the country of destination.
- The regulator illustrated on the manual is for United Kingdom, the regulator in your country maybe different with the one on the illustration.
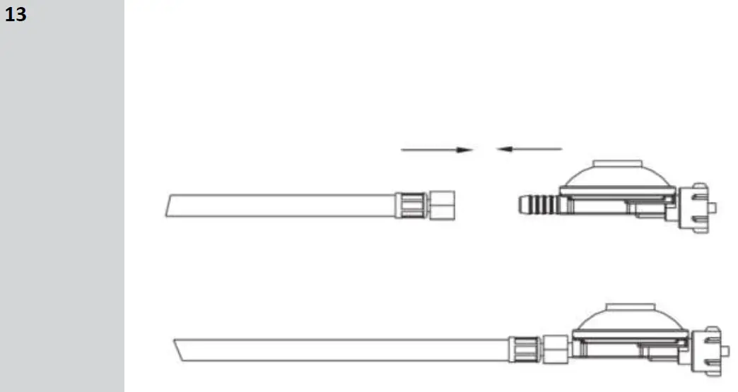
- Flexible gas rubber pipe should be approved according to 16436-1:2014 with proper inner Ø to match pipe holders of gas circuit and gas regulator, pressure and working emperature.
- The length of the hose is 1.5 m and it should not exceed 1.5 m. The hose shall be readily visible across its entire length for inspection after installation.
- The injector in this appliance is not removable and the injector is only assembled by manufacturer. This appliance is forbidden to convert from one gas pressure to another pressure.
DANGER! You must have the proper regulator and cylinder in order for the appliance to operate safely and efficiently. Use of an incorrect or faulty regulator is dangerous and will invalidate any warranty.
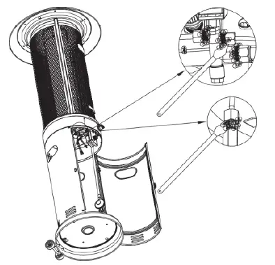
INSTRUCTIONS FOR PLACING AND REMOVING GAS BOTTLE
CONNECT LP GAS CYLINDER
- Before connecting, be sure that there is no debris caught in the head of the LP tank, head of the regulator valve or in the head of the burner and burner ports.
- Connect gas line to tank by turning knob clockwise until it stops, make sure that the tube is not subject to twisting.
- After connecting to gas cylinder, a leak testing is necessary.
DISCONNECT LP GAS CYLINDER
- Before disconnecting make sure the LP gas tank valve in “CLOSED”. Disconnect gas line from LP gas cylinder by turning knob counterclockwise until it is loose.
- For storage and cylinder exchange, disconnect hose at the cylinder only, DO NOT disconnect hose from appliance.
- To change the gas cylinder in an amply ventilated area, away from any ignition source (candle, cigarettes, other flame producing appliances…).
LEAKAGE TESTS
Your Outdoor Patio Heater has been checked for leaks at all the factory-made connections. To check the connection of the gas hose/regulator/LPG cylinder.
- Make leak test solution by mixing 1 part washing up liquid and 3 parts waters.
- Spoon several drops (or use squirt bottle) of the solution onto the gas hose/regulator and regulator/LPG cylinder connection.
- Inspect the connections and look for bubbles.
- If no bubbles appear, the connection is safe.
- If bubbles appear, there is leak, loosen and re-tighten this connection. Repeat the test. If bubbles form again, stop trying; contact your local dealer for assistance
- Leak test annually, and whenever the gas cylinder is removed or replaced.
NOTE: In the event of gas leakage, the appliance must not be used or if already alight, the gas supply must be shut off and the appliance investigated and rectified before it is used again.
DISTANCE FROM SURFACES
- This heater is primarily used for the heating of outdoor patios (decks, spas, pools and open working areas).
- Combustible materials are considered to be wood, compressed agglomerates, plant fibers, plastic or other materials that are capable of being ignited and burned.
- Always make sure that adequate fresh air ventilation is provided. Follow the spacing tolerances shown in the following figure right at all times.
- This heater must be placed on level, firm ground.
- Never operate in an explosive atmosphere. Keep away from areas where gasoline or other flammable liquids or vapors are stored or used.
CONNECTING INSTRUCTIONS
- Turn the control knob OFF. Slowly open the gas cylinder valve.
- Push in and turn control knob anti-clockwise to IGNITE.
- Keep control knob depressed for up to 30 seconds until pilot is lit.
- If pilot does not light, turn control knob to OFF and wait 2 minutes between ignition attempts for gas to dissipate.
- Failure to do this may result in flame roll out beyond the emitter grid.
Note: it is possible to light the appliance using a long match, by lighting the burner through the hole of guard mesh. - When the pilot is lit keep knob pressed for up to 20 seconds to heat the thermocouple flame sensor, then release it (first ignition generally takes more time, because the gas circuit is full of air).
- If the pilot does not stay lit, repeat steps 2 – 4.
- Turn knob to LOW position.
- Adjust the heat input by turning the knob from the LOW position, to the HIGH position, as required.
- After lighting, turn knob from LOW to HIGH, position and back, to check flame stability.
- In case of accidental break down of the flame (due to wind or other reasons), a Flame Safely Device (FSD) will automatically shut-off gas supply within 90 seconds.
WARNING These lighting instructions must be followed. An unsafe condition can occur if they are not followed correctly.
FLAME CHARACTERISTICS
- The flame pattern at the emitter screen should be visually checked whenever heater is operated. Normally the burner flame is blue, but little yellow flame is acceptable.
- If flames extend beyond surface of the emitter grid, or the phenomena of flame lift or light back, or black soot is accumulating on the emitter grid or reflector, the heater should be turned off immediately. The heater should not be operated again until the unit is serviced and or repaired.
OPERATING INSTRUCTIONS
NOTE: The burner may be noisy when initially turned on, to eliminate excessive noise from the burner, turn the control knob to the LOW position. Then, turn the knob to the level of heat desired.
WHEN HEATER IS ON:
Emitter screen will become bright red due to intense heat. The color is more visible at night. Burner will display tongues of blue flame. These flames should not be yellow or produce thick black smoke, indicating an obstruction of airflow through the burners.
OPERATION PRESSURE CHECKED:
- If the flame is very small, this is because the supply pressure is not enough. Please refill gas cylinder.
RE-LIGHT:
- Turn the control knob to OFF position.
- Wait five (5) minutes before attempting to relight burner.
- Repeat steps beginning with step 2 of the lighting instruction above.
SHUT DOWN INSTRUCTIONS:
- Push in and turn control knob clockwise to OFF position.
- Turn LPG cylinder gas valve clockwise to OFF position when heater is not in use.
NOTE: After use, some discoloration of the emitter screen is normal.
THE EVENT OF GAS LEAKAGE:
- Turn the control knob to OFF position.
- Turn LPG cylinder valve to OFF position.
- Wait 5 minutes to allow gas to dissipate.
- If odor continues, immediately call gas supplier.
Warning: Heater will be hot after use. Handle with extreme care.
ASSEMBLY INSTRUCTIONS
Number of people required to assemble: Two person Time to assemble: 60 min. ![]()
- Find a large, clean area to assemble your appliance. Please refer to the parts list and assembly diagram as necessary.
- Please use protective gloves when assembling this product.
- To avoid losing any small component or hardware, assemble your product on a hard level surface that does not have cracks or openings.
- To avoid damage to soft floor or carpet, do not assemble or move the appliance on soft floor or carpet.
- Follow all steps in order to properly assemble your product.
- Make sure all the plastic protection rips off before assembling.
- 7. Do not force parts together as this can result in personal injury or damage to the product. When applicable, tighten all hardware connections by hand first, once the step is completed, go back and full tighten all hardware.
CAUTION: Whilst every effort has made in manufacture of your appliance to remove any sharp edge, you should handle all components with care to avoid accidental injury.
Tools required (not included):
COMPONENTS – EXPLODED VIEW
LIST OF COMPONENTS 
ASSEMBLY INSTRUCTIONS 














ISSUE CHECKLIST 
CLEANING AND MAINTENANCE
To enjoy years of excellent heater performance, be sure to perform the following maintenance activities regularly:
- Keep exterior surfaces clean
- Use warm soapy water for cleaning. Never use flammable or corrosive cleaning products.
- While washing the heater, be sure to keep the area around the burner dry at all times.
- If the gas control is exposed to water in any way, DO NOT try to use it. It must be replaced.
- Air circulation must not be obstructed. Keep controls, burner and circulating air passages clean. Signs of possible blockages include:
- Extreme yellow flame tip and gas odor.
- The appliance does NOT reach the desired temperature.
- The glow of the device is excessively uneven.
- The appliance makes popping noises.
- Spiders and insects’ nest in burners or orifices; this dangerous situation can damage the heater and make it unsafe to use. Clean the burner holes using a heavy-duty pipe brush. Compressed air can also help eliminate small particles.
- Carbon deposits can create a fire hazard. Clean the heater dome with warm soapy water if any carbon deposits develop.
- Check the tubing or flexible hose (at least once a month and every time the gas bottle is replaced). If it shows signs of breakage, cracks or other deterioration, it should be replaced with new tubing of the same length and of equivalent quality.
STORAGE
BETWEEN USES:
- Turn the control knob to OFF position.
- Turn LPG cylinder to OFF position.
- Store appliance upright in an area sheltered from direct contact with inclement weather (such as rain, sleet, hail, snow, dust and debris).
- If desired, cover appliance to protect exterior surfaces and to help prevent debris in air passages.
DURING PERIODS OF PROLONGED INACTIVITY OR DURING TRANSPORTATION:
- Turn the control knob to the OFF position before covering the appliance.
- Unplug the LPG bottle and move it to a safe, well-ventilated location in the open air. DO NOT store in a location exceeding 50°C.
- The LPG bottle must be kept out of reach of children, and never in a building, garage or any other closed area.
- Place the device in an upright position in an area protected from direct contact with meteorological elements (such as rain, hail, snow, dust and debris)
- If desired, cover the appliance to protect the exterior surfaces and help prevent debris depositing in the air passages.
TECHNICAL SPECIFICATIONS
GENERAL WARRANTY TERMS
- The warranty is valid only on presentation of invoice of purchase.
- This WARRANTY is limited exclusively to parts substitution ineffective due to faulty manufacture, made in our workshops.
- The elimination of several faults of the scope of the guarantee is made for repair or replacement of defective parts, according to the discretion of our technical services. Defective parts are our property.
- Are not covered under warranty damage caused by transportation, neglect or poor use, improper assembly or installation, as well as external influences such as: lightning strikes or power, flooding, humidity, etc.
- Lose warranty, all appliances that are not being used according to the instructions, or connected to FEEDING NETWORKS not guarantee a constant voltage of 220/240V.
- The warranty does not cover damages for personal injury or damage caused directly or indirectly in any capacity whatsoever.
- This warranty terminates when it is found to have been undergoing repairs, alterations or interventions by any person not authorized by Jocel.
THE WARRANTY EXPIRES
- If the appliance has not been installed by an Accredited Technician.
- Exceeded the period of 2 years for home appliances and 06 months for industrial appliances, warranty expires and assistance will be made by charging the costs of manpower, according to current fees
- With the modification or disappearance of the nameplate of the appliance.
TECHNICAL ASSISTANCE
- For technical assistance request, our services are available through the following contacts:
- Telef. 00 351 252910351
- Fax: 00 351 252910367
- E-mail: [email protected]
- http://www.jocel.pt
- HEADQUARTERS:
Rua Alto do Curro, n.º 280 4770-569 S. COSME DO VALE V.N. de FAMALICÃO - Telef: 252 910 350/2 Fax: 252 910 368/9 email: [email protected] http://www.jocel.pt
- DECLARATION OF CONFORMITY
- We declare on our own responsibility that the machine indicated below
- Complies with the following European directives and standards implementation
- Gas Appliances
- (EU) 2016/426
- EN 14543:2017
- Country of Origin: R.P.C







































