PH-126184.1
Patio heater![]()
Instruction manual
SAFETY INSTRUCTIONS
Before use make sure to read all of the below instructions in order to avoid injury or damage, and to get the best results from the appliance. Make sure to keep this manual in a safe place. If you give or transfer this appliance to someone else make sure to also include this manual.
In case of damage caused by user failing to follow the instructions in this manual, the warranty will be void. The manufacturer/importer accepts no liability for damages caused by failure to follow the manual, negligent use or use not in accordance with the requirements of this manual.
- This appliance can be used by children aged from 8 years and above and persons with reduced physical, sensory or mental capabilities or lack of experience and knowledge if they have been given supervision or instruction concerning use of the appliance in a safe way and understand the hazards involved.
- Children shall not play with the appliance.
- Cleaning and user maintenance shall not be made by children without supervision.
- Children of less than 3 years should be kept away unless continuously supervised.
- Children aged from 3 years and less than 8 years shall only switch on/off the appliance provided that it has been placed or installed in its intended normal operating position and they have been given supervision or instruction concerning use of the appliance in a safe way and understand the hazards involved. Children aged from 3 years and less than 8 years shall not plug in, regulate and clean the appliance or perform user maintenance.
- CAUTION — Some parts of this product can become very hot and cause burns. Particular attention has to be given where children and vulnerable people are present.
- If the supply cord is damaged, it must be replaced by the manufacturer, its service agent or similarly qualified persons in order to avoid a hazard.
- Do not use this heater in the immediate surroundings of a bath, a shower or a swimming pool.
- The heater must not be located immediately below a socket-outlet.
- WARNING: In order to avoid overheating, do not cover the heater.
- Do not use this heater with a programmer, timer, separate remote-control system or any other device that switches the heater on automatically, since a fire risk exists if the heater is covered or positioned incorrectly.
- WARNING: This heater is not equipped with a device to control the room temperature. Do not use this heater in small rooms when they are occupied by persons not capable of leaving the room on their own, unless constant supervision is provided.
- This heater is hot when in use. To avoid burns, do not let bare skin touch hot surfaces.
- Position the appliance at least 1m away from highly combustible materials such as furniture, trees, leaves, dry grass and bushes.
- Never leave the appliance unattended while in operation. Always unplug the appliance when not in use.
- Do not replace or attempt to replace the element in this product.
- This product is suitable for outdoor use only. Do not operate the appliance in direct sunlight, near heat sources, humid environments or in places near water or other liquids such as bathrooms, showers or swimming pool.
- This product must not be left outdoors exposed to the sun, wind or rain for long periods of time.
- Do not operate with wet hands or spill water or other liquids onto the appliance, the mains cable or plug. Never use the appliance if the appliance or the cord is damaged. Risk of injury!
- Do not run the power cable under carpeting. Do not cover the power cable with rugs or similar coverings. Arrange the power cable away from foot traffic and where it will not be tripped over.
- Do not wind the power cable around the unit.
- Do not insert or allow foreign objects to enter any ventilation or opening on the heater, as this may result in electric shock, fire, or damage to the heater.
- To prevent a possible fire, do not block the air vents.
- Do not use the appliance in areas where petrol, paints, or other flammable substances are used or stored.
- Where possible, avoid the use of an extension cable as this may overheat and cause a fire. However, if you have to use an extension cable, ensure it is suitable for the purpose, has been tested for outdoor use, and preferably has an RCD device fitted or attached.
- Always ensure the heater is plugged into an earthed plug socket, one that is tested for outdoor use.
- Always unplug the unit and ensure the unit is completely cold before moving, cleaning or storing.
- This appliance is not for drying clothes. Keep children and pets at a safe distance from the appliance.
- Do not attempt to repair or adjust any electrical or mechanical functions on this unit. The unit does not contain any user-serviceable parts. Only a qualified
electrician should perform servicing or repairs. Attempting to repair the unit yourself will void your warranty. - Keep the unit away from heated surfaces and open flames.
- Always use on a dry, suitably strong, stable, flat and level surface.
- Do not move the unit when in use. Wait until the heater is completely cool before moving and check that it has been unplugged from the power supply.
- Regarding the information pertaining to the installation, please refer to the below paragraph of the manual.
- Means
“ DO NOT COVER “. - The heating lamps are fragile so handle the appliance with care. Avoid knocking the appliance, letting it fall, etc.
- Switch off the appliance and unplug it before moving or cleaning.
- The appliance must be mounted at least 1.8m height from the floor and at least 350mm from the ceiling and any adjacent wall.
PACKAGING
- After unpacking the appliance, check for transport damage and completeness!
- Do not discard the original box! It can be used for storage and dispatch in order to avoid transport damage.
- Dispose of the packing material in a proper manner. Plastic bags should be kept away from children.
DESCRIPTION OF THE APPLIANCE

| 1. Heater housing | 10. Post lock |
| 2. Grille | 11. Screws M5 x 8mm (8pc) |
| 3. Heating element | 12. Base |
| 4. Control panel | 13. Base Cover |
| 5. Heater body | 14. Cable clips |
| 6. Adjustable post | 15. Set screw |
| 7. Top post | 16. Head tilt screw |
| 8. Middle post | |
| 9. Bottom post | |
TO ASSEMBLE, FOLLOW THESE INSTRUCTIONS
- Fix the bottom post (9) onto the base (12). Secure with the screw and washer (a and b in accessory pack) from the underside of the base. Put the foot pads (c in accessory pack) on the base.
- Place the assembly back into the upright position and slide the base cover (13) down.
- Loosen four screws (11) on one side of the middle post (8). Place the middle post (8) over the bottom post (9). Once the screw holes on both posts have aligned, secure with the four screws.
- Pull out the adjustable post (6) from the top post (7), slide through and secure firmly with the pole lock (10 ). Tighten the stopper screw (D in accessory pack) firmly.
- Loosen four screws (11) on another side of the middle post (8). Place the top post assembly over the middle post and secure with the four screws.
- Loosen the set screw (15) from the heater housing. Slide the heater housing over the adjustable post (6) so that the set screw falls into the recess on the stand. Tighten the set screw firmly.
- Route the power cord along the heater stand, and secure with the included cable clips (14).
To tilt the angle of the heating head
Note: Ensure that the appliance is switched off, disconnected from the power and cold to touch. If the appliance has been recently used, allow the appliance to cool for a minimum of 30 minutes before tilting the head.
- Loosen the head tilt screw (16); do not remove.
- Head can be tilted to a maximum of 35°.
- Tighten the head tilt screw when the desired angle has been reached.
OPERATION OF THE HEATER

A. Power on/off button
B. Timer button
C. Main switch
D. Signal receiver to the remote control
E. Indicator light of the standby status
F. Indicator light of the working status
G. Indicator light of the timer
- Plug in the appliance.
- Press the main switch to position “I”. The indicator light of the standby status is on.
- Press the power on/off button to turn on the appliance. The indicator light of the standby status is off; the indicator light of the working status is on. The appliance starts to work.
- Press the timer button to choose your desired working time from 1 to 7 hours. The corresponding indicator lights will be on.
- After use, press the power on/off button to turn off the appliance. The indicator light of the working status is off; the indicator light of the standby status is on. Press the main switch to position “O” and then unplug the appliance.
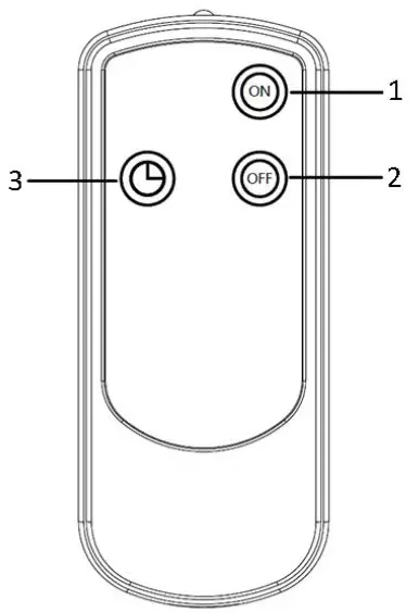
To use the remote control:
This unit has a remote control. Please use 2×1.5V AAA batteries for this remote control. Please insert the batteries to the remote control tightly. If it is not in use for a long time, please take the batteries out of the remote control. The remote control should be pointed at the signal receiver on the control panel to maximize the remote control signal. Effective distance: 6M
- Power on button (Press this button to turn on the appliance.)
- Power off button (Press this button to turn off the appliance.)
- Timer button (The function of this button is the same as the function of the timer button on the control panel.)
This appliance is equipped with a safeguard device, which turns the heater off if it is knocked over.
CLEANING AND MAINTENANCE
- Before cleaning the appliance, switch it off, remove the plug from the power outlet and let it cool down completely.
- Protect the radiant part from dust to preserve its reflectivity.
- To clean the base, use a slightly damp, soft cloth; do not use scouring pads or abrasive products.
- To clean the radiant part, use a slightly damp, soft cloth; do not use metal scouring pads or abrasive products, water or other liquids; do not immerse in water or other liquids.
- When not used, cover the appliance and put it in a dry place; you may also pack it into the original packaging to protect it from dust and humidity.
- Make sure that the appliance is dry before plugging it back into the power outlet.
TECHNICAL DATA:
Operating voltage: 220-240V ~ 50-60Hz
Power consumption: 1750-2000W
IP24
GUARANTEE AND CUSTOMER SERVICE
Before delivery, our devices are subjected to rigorous quality control. If, despite all care, the damage has occurred during production or transportation, please return the device to your dealer. In addition to statutory legal rights, the purchaser has an option to claim under the terms of the following guarantee: For the purchased device we provide 2 years guarantee, commencing from the day of sale. If you have a defective product, you can directly go back to the point of purchase.
Defects that arise due to improper handling of the device and malfunctions due to interventions and repairs by third parties or the fitting of non-original parts are not covered by this guarantee. Always keep your receipt, without the receipt you can’t claim any form of warranty. Damage caused by not following the instruction manual will lead to a void of warranty, if this results in inconsequential damages then we will not be liable. Neither can we hold responsible for material damage or personal injury caused by improper use if the instruction manual is not properly executed? Damage to accessories does not mean free replacement of the whole appliance. In such case please contact our service department. Broken glass or breakage of plastic parts is always subject to a charge. Defects to consumables or parts subjected to wearing, as well as cleaning, maintenance, replacement of said parts or shipping and transportation costs to and from any place of repair are not covered by the warranty and are to be paid.
ENVIRONMENT-FRIENDLY DISPOSAL
Recycling – European Directive 2012/19/EU
This marking indicates that this product should not be disposed of with other household wastes. To prevent possible harm to the environment or human health from uncontrolled waste disposal, recycle it responsibly to promote the sustainable reuse of material resources. To return your used device, please use the return and collection systems or contact the retailer where the product was purchased. They can take this product for environmentally safe recycling. THE
THE BATTERY MUST BE RECYCLED OR DISPOSED OF PROPERLY. DO NOT OPEN. DO NOT DISPOSE OF IT IN FIRE OR SHORT CIRCUIT.
Emerio Switzerland AG
Industriestrasse 47
6300 Zug
Switzerland



















