emerio PH-121951.1 Patio Heater Instruction Manual
SAFETY INSTRUCTIONS
Before use make sure to read all of the below instructions in order to avoid injury or damage, and to get the best results from the appliance. Make sure to keep this manual in a safe place. If you give or transfer this appliance to someone else
make sure to also include this manual. In case of damage caused by user failing to follow the instructions in this manual the warranty will be void. The manufacturer/importer accepts no liability for damages caused by failure to follow the manual, a negligent use or use not in accordance with the requirements of this manual.
- This appliance can be used by children aged from 8 years and above and persons with reduced physical, sensory or mental capabilities or lack of experience and knowledge if they have been given supervision or instruction concerning use of the appliance in a safe way and understand the hazards involved.
- Children shall not play with the appliance.
- Cleaning and user maintenance shall not be made by children without supervision.
- Children of less than 3 years should be kept away unless continuously supervised.
- Children aged from 3 years and less than 8 years shall only switch on/off the appliance provided that it has been placed or installed in its intended normal operating position and they have been given supervision or instruction concerning use of the appliance in a safe way and understand the hazards involved. Children aged from 3 years and less than 8 years shall not plug in, regulate and clean the appliance or perform user maintenance.
- CAUTION: Some parts of this product can become very hot and cause burns. Particular attention has to be given where children and vulnerable people are present.
- If the supply cord is damaged, it must be replaced by the manufacturer, its service agent or similarly qualified persons in order to avoid a hazard.
- Do not use this heater in the immediate surroundings of a bath, a shower or a swimming pool.
- The heater must not be located immediately below a socket-outlet.
- WARNING: In order to avoid overheating, do not cover the heater.
- Do not use this heater with a programmer, timer, separate remote-control system or any other device that switches the heater on automatically, since a fire risk exists if the heater is covered or positioned incorrectly.
- WARNING: This heater is not equipped with a device to control the room temperature. Do not use this heater in small rooms when they are occupied by persons not capable of leaving the room on their own, unless constant supervision is provided.
- Never rotate the heating part of the appliance during operation. If you want to change the tilt angle of the heating part, switch off the appliance and wait for 15 minutes.
- This heater is hot when in use. To avoid burns, do not let bare skin touch hot surfaces.
- Position the appliance at least 1m away from highly combustible materials such as furniture, trees, leaves, dry grass and bushes.
- Never leave the appliance unattended while in operation. Always unplug the appliance when not in use.
- Do not replace or attempt to replace the element in this product.
- This product is suitable for outdoor use only. Do not operate the appliance in direct sunlight, near heat sources, humid environments or in places near water or other liquids such as bathrooms, shower or swimming pool.
- 19. This product must not be left outdoors exposed to the sun, wind or rain for long periods of time.
- Do not operate with wet hands or spill water or other liquids on to the appliance, the mains cable or plug. Never use the appliance if the appliance or the cord is damaged. Risk of injury!
- Do not run the power cable under carpeting. Do not cover the power cable with rugs, runner, or similar coverings. Arrange the power cable away from foot traffic and where it will not be tripped over.
- Do not wind the power cable around the unit.
- Do not insert or allow foreign objects to enter any ventilation or opening on the heater, as this may result in electric shock, fire, or damage to the heater.
- To prevent a possible fire, do not block the air vents.
- Do not use the appliance in areas where petrol, paints or other flammable substances are used or stored.
- Always ensure the heater is plugged into an earthed plug socket, one that is tested for outdoor use.
- Always unplug the unit and ensure the unit is completely cold before moving, cleaning or storing.
- This appliance is not for drying clothes. Keep children and pets at a safe distance from the appliance.
- Do not attempt to repair or adjust any electrical or mechanical functions on this unit. The unit does not contain any user serviceable parts. Only a qualified electrician should perform servicing or repairs. Attempting to repair the unit yourself will void your warranty.
- Keep unit away from heated surfaces and open flames.
- To disconnect the appliance, pull the switch to turn off the appliance, and then remove the plug from the power socket. Do not unplug by pulling the power cable.
- Always use on a dry, suitably strong, stable, flat and level surface. – 5 –
- The height of this appliance is adjustable. The height range is 1.8-2.1m. For safe use of the product, the product installation position should have a minimum height of 1.8 m from the ground, and a minimum distance of 0.5 m from ceiling, roof and both sides walls.
- The appliance must not face with the heating element pointing upwards towards a ceiling. The heating element must be facing the area where it is to heat.
- Do not handle the element with bare hands. If it is inadvertently touched, remove finger marks with a soft cloth and mentholated spirits or alcohol, otherwise the marks will burn into the element causing premature heater failure.
- Always position the appliance with the mains plug in an accessible position and avoid the use of extension cables as they may overheat and create a potential fire risk.
- This appliance is intended for domestic use only and should not be used commercially for contract purposes. Any alternative use, not recommended by the manufacturer, may result in fire, electric shock, or injury to persons.
- Regarding the information pertaining to the installation, please refer to the below paragraph of the manual.
PACKAGING
- After unpacking the appliance, check for transport damage and completeness!
- Do not discard the original box! It can be used for storage and dispatch in order to avoid transport damage.
- Dispose of the packing material in a proper manner. Plastic bags should be kept away from children.
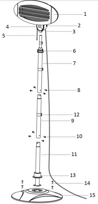
DESCRIPTION OF THE APPLIANCE
- Heating element
- Fixing knob
- Power cord
- Power level display
- Pull switch
- Tube locking ring
- Upper telescoping tube
- M5 X 6 screws
- Middle tube
- M5 X 6 screws
- Lower tube
- Power cord buckle
- Decorative cover
- M6 X 30 screws
- Base

TO ASSEMBLE, FOLLOW THESE INSTRUCTIONS
- Loosen the 4 pieces of M6 X 30 screws from the base, insert the lower tube into the base and then secure it with the 4 pieces of M6 X 30 screws

- Loosen the 4 pieces of M5 X 6 screws; put the power cord buckle onto the middle tube. Fix the middle tube onto the lower tube using the 4 pieces of M5 X 6 screw

- Loosen the tube locking ring on the upper telescoping tube. Adjust the length by pulling out the tube inside it. Fasten back the tube locking ring.
Loosen the 4 pieces of M5 X 6 screws; put the power cord buckle onto the upper telescoping tube. Fix the upper telescoping tube onto the middle tube using the 4 pieces of M5 X 6 screws.
- Put the last power cord buckle (the small one) onto the upper telescoping tube. Attach the heating element onto the upper telescoping tube. Secure it by tightening the fixing knob. Adjust the angle vertically from 0-45°(approximately) as you need.

OPERATION OF THE HEATER
The appliance is switched on by means of a pull switch. After switching on, you may note a slight vibration. It will stop after a few seconds
You can set the power steps by pulling the pull switch:
- Position 0 Off
- Position 1 650W (low power)
- Position 2 1300W (intermediate power)
- Position 3 2000W (full power)
This appliance is equipped with a safeguard device, which turns the heater off if it is knocked over.
CLEANING AND MAINTENANCE
- Before cleaning the appliance, switch it off, remove the plug from the power outlet and let it cool down completely.
- Protect the radiant part from dust to preserve its reflectivity.
- To clean the base, use a slightly damp, soft cloth; do not use scouring pads or abrasive products.
- To clean the radiant part, use a slightly damp, soft cloth; do not use metal scouring pads or abrasive products, water or other liquids; do not immerse in water or other liquids.
- When not used, cover the appliance and put it in a dry place; you may also pack it into the original packaging to protect it from dust and humidity.
TECHNICAL DATA:
- Operating voltage: 220-240V ~ 50/60Hz
- Power consumption: 2000W IP34
GUARANTEE AND CUSTOMER SERVICE
Before delivery our devices are subjected to rigorous quality control. If, despite all care, damage has occurred during production or transportation, please return the device to your dealer. In addition to statutory legal rights, the purchaser has an option to claim under the terms of the following guarantee:
For the purchased device we provide 2 years guarantee, commencing from the day of sale. If you have a defective product, you can directly go back to the point of purchase.
Defects which arise due to improper handling of the device and malfunctions due to interventions and repairs by third parties or the fitting of non-original parts are not covered by this guarantee. Always keep your receipt, without the receipt you can’t claim any form of warranty. Damage caused by not following the instruction manual, will lead to a void of warranty, if this results in consequential damages then we will not be liable.
Neither can we hold responsible for material damage or personal injury caused by improper use if the instruction manual is not properly executed. Damage to accessories does not mean free replacement of the whole appliance. In such case please contact our service department. Broken glass or breakage of plastic parts is always subject to a charge. Defects to consumables or parts subjected to wearing, as well as cleaning, maintenance, replacement of said parts or shipping and transportation costs to and from any place of repair are not covered by the warranty and are to be paid.
ENVIRONMENT FRIENDLY DISPOSAL
Recycling – European Directive 2012/19/EU
This marking indicates that this product should not be disposed with other household wastes. To prevent possible harm to the environment or human health from uncontrolled waste disposal, recycle it responsibly to promote the sustainable reuse of material resources. To return your used device, please use the return and collection systems or contact the retailer where the product was purchased. They can take this product for environmentally safe recycling
























