Hiland HLDS01-CGTHG Commercial Flame Patio Heater

PACKAGE CONTENTS
For replacement parts, call our customer service department at 1-888-775-1330, 8 a.m. – 4 p.m., MST, Monday – Friday.

| PART | DESCRIPTION | QUANTITY |
| A | Reflector | 1 |
| B | Mesh | 1 |
| C | Glass Tube Fixer | 1 |
| D | Top Plate | 1 |
| E | Upper Support (Long) | 3 |
| F | Protective Guard | 3 |
| G | Glass Tube- 4″ x 49.5″ | 1 |
| H | Side Panel | 2 |
| I | Black Silicone Ring | 1 |
| J | Control Box Assembly | 1 |
| K | Lower Support (Short) | 3 |
| L | Block Belt | 1 |
| M | Gas Hose & Regulator | 1 |
| N | Wheel Assembly | 2 |
| O | Bottom plate | 1 |
| P | Front Panel | 1 |
| Q | Ceramic Fiber | 1 |
HARDWARE CONTENTS (Shown actual size)

SAFETY INFORMATION
This manual contains important information about the assembly, operation and maintenance of this patio heater. General safety information is presented in these first few pages and is also located throughout the manual. Keep this manual for future reference and to educate new users of this product. This manual should be read in conjunction with the labeling on the product. Safety precautions are essential when any mechanical or propane fueled equipment is involved. These precautions are necessary when using, storing, and servicing this patio heater. Using this equipment with the respect and caution demanded will reduce the possibilities of personal injury or property damage. The following symbols shown below are used extensively throughout this manual. Always follow these precautions, as they are essential when using any mechanical or fueled equipment.
DANGER
DANGER indicates an imminently hazardous situation which, if not avoided, will result in death or serious injury.
Failure to comply with the precautions and instructions provided with this heater can result in death, serious bodily injury and property loss or damage from hazards of fire, explosion, burn, asphyxiation, and/or carbon monoxide poisoning. Only persons who can understand and follow the instructions should use or service this heater.
CARBON MONOXIDE HAZARD This appliance produces carbon monoxide which has no odor. Using it in an enclosed space can kill you. Never use this appliance in an enclosed space such as a camper, tent, car or home.
PREPARATION
Before beginning assembly of product, make sure all parts are present. Compare parts with package contents list and hardware contents above. If any part is missing or damaged, do not attempt to assemble the product. Contact customer service for replacement parts.
Estimated Assembly Time: 90 minutes
Tools Required for Assembly (not included): Phillips screwdriver w/ medium blade. Leak Detection Solution.
ASSEMBLY INSTRUCTIONS
- Unscrew the switch button, load AAA battery, tighten the switch button.
Insert the hoods of bottom plate (O) to the lower holes of the three lower supports (K) Insert the hoods of control box assembly (J) to the upper holes of the three lower support (K).
Note: Make sure align the side of bottom plate (O) with the holes with the side of control box assembly (J) with the magnet.
- Insert three upper supports (E) to the three lower supports (K).

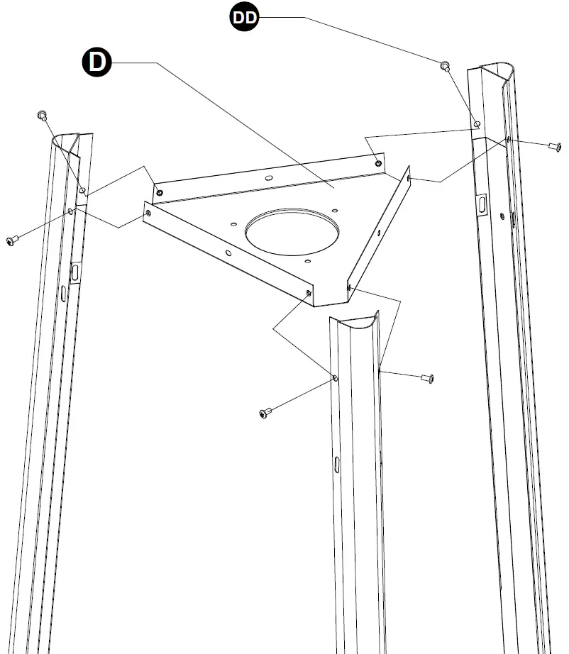
- Use Phillips screwdriver (LL) to fasten the control box assembly (J) and the bottom plate (O) with M5 x 12 mm screws (DD).

- Use Phillips screwdriver (LL) to secure the top plate (D) to the upper supports (E) with M5 x 12 mm screws (DD).

- Using wrench (KK) to assemble the wheel assembly (N) to the bottom plate (O) with M6 x 12 mm bolts (EE).

- Use Phillips screwdriver (LL) to secure the block belt (L) to the lower supports (K) with M5 x 12 mm screws (DD).

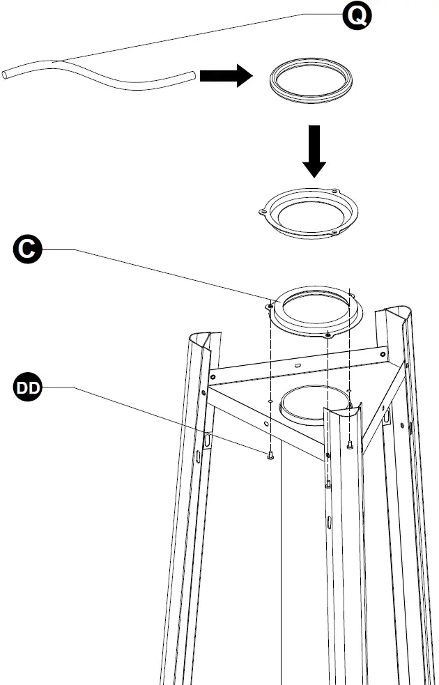
- Carefully install the glass tube (4″ x 49.5″)(G) between the center of top plate (D) and control box assembly (J). Make sure the end of the glass tube (G) is inserted securely into the three clips of the control box assembly (J).
To aid in installation place black silicone ring on the middle plate and then install glass tube. Ensure the rim of the glass tube sits firmly in the black silicone ring.
- Assembly the glass tube fixer (C).
Insert the ceramic fiber (Q) to the quartz tube fixer. Press the glass tube fixer to the glass tube. Make sure the ceramic fiber is outside of glass tube.
Use Phillips screwdriver (LL) to secure the glass tube fixer (C) to the top plate (D) with M5 x 12 mm screws (DD).
- Assembly the protective guard and mesh Insert the hooks of protective guard (F) to the holes of upper supports (E).
Put the mesh (B) on the top plate (D). Make sure the screw holes align the holes of top plate (D). Use Phillips screwdriver (LL) to secure the mesh (B) and protective guard (F) to the top plate (D) with M5 x 12 mm screws (DD) and fixing bracket (FF).
- Use Phillips screwdriver (LL) to install side panels (H) to bottom of assembly with M5 x 12 mm screws (DD).
Note: Do not cover the panel where the magnet is.
- Install the knob (GG) to M4x6 screw (HH). Hang the chain (II) to the hole on the control box assembly (J) and put the pothook of front panel to the holes of bottom plate.

- Carefully lean the assembly and attach reflector (A) to mesh (B) with studs (CC), small flat washers (BB) on either side of reflector (A) and then wing nuts (AA). Gently return the assembly to the upright position.

- Screw gas hose and regulator to propane cylinder (not included). Do not cross-thread.
Every part of the heater shall be secure against displacement and shall be constructed to maintain a fixed relationship between essential parts under normal and reasonable conditions of handling and usage. Parts not permanently secured shall be designed so they cannot be incorrectly assembled and cannot be improperly located or misaligned in removing or replacing during cleaning or other servicing.
Use a standard 20 lb. propane cylinder only. (approximately 12.2 in. / 31cm. in diameter and 17.9 in. / 45.5cm high).
Use this heater only with a propane vapor withdrawal supply system. See chapter 5 of the standard for storage and handling of liquefied petroleum gas, ANS/NFPA 58. Your local library or fire department should have this book. Storage of an appliance indoors is permissible only if the cylinder is disconnected and removed from the appliance. A cylinder must be stored outdoors in a well-ventilated area out of the reach of children. A disconnected cylinder must have dust caps tightly installed and must not be stored in a building, garage or any other enclosed area. The maximum inlet gas supply pressure: 250 psi /1750 kPa. The minimum inlet gas supply pressure: 25 psi /175 kPa. Manifold pressure with regulator provided: 11 inch W.C/ 2.74 kPa. The pressure regulator and hose assembly supplied with the appliance must be used. The installation must conform with local codes, or in the absence of local codes, with national fuel gas code, ANS Z223.1/NFPA54, natural gas and propane Installation Code, CSA B149.1, or propane storage and handling code, B149.2.
A dented, rusted or damaged propane cylinder may be hazardous and should be checked by your cylinder supplier. Never use a propane cylinder with a damaged valve connection.
The propane cylinder must be constructed and marked in accordance with the specifications for LP gas cylinders of the U.S. Department of Transportation (DOT) or the standard for cylinders, spheres and tubes for transportation of dangerous goods and commission, CAN/CSA-B339.
The cylinder must have a listed overfilling prevention device. The cylinder must have a connection device compatible with the connection for the appliance. The cylinder used must include a collar to protect the cylinder valve. Never connect an unregulated propane cylinder to the heater.

The knob on the LP tank must be closed. Make sure that the knob is turned clockwise to a full stop. The cylinder supply system must be arranged for vapor withdrawal. Check that the control knob on the control unit is turned off. Hold the regulator in one hand and insert the nipple into the valve outlet. Be sure the nipple is centered in the valve outlet. The coupling nut connects to the large outside threads on the valve outlet.
Hand-tighten the coupling nut clockwise until it comes to a full stop. Firmly tighten by hand only.
To Disconnect: Fully close the tank valve by turning clockwise. Turn the coupling nut counterclockwise until the regulator assembly detaches.

- Do not store a spare LP-gas cylinder under or near this appliance;
- Never fill the cylinder beyond 80 percent full;
- Place the dust cap on the cylinder valve outlet whenever the cylinder is not in use. Only install the type of dust cap on the cylinder valve that is provided with the cylinder valve. Other type of caps or plugs may result in leakage of propane.
OPERATION INSTRUCTIONS
Leak Check
WARNING
- Perform all leak tests outdoors.
- Extinguish all open flames.
- NEVER smoke while carrying out the leak test.
- Do not use the heater until all connections have been leak tested and do not leak.

- Make 2-3 oz. of leak check solution (one part liquid dish washing detergent and three parts water).
- Apply several drops of solution where hose attaches to regulator.
- Apply several drops of solution where regulator connects to cylinder, apply the soapy solution to all hose & valve connections.
- Make sure all patio heater and light valves are OFF.
- Turn cylinder valve ON.
If bubbles appear at any connection, there is a leak.
- Turn cylinder valve OFF.
- If leak is at hose/regulator connection: Add Teflon tape and re-attach the regulator to the hose with wrenches. If bubbles continue appearing, the hose should be returned to the place of purchase.
- If leak is at regulator/cylinder valve connection: disconnect, reconnect, and perform another leak check. Apply the soapy solution to all hose & valve connections. If you continue to see bubbles after several attempts, cylinder valve is defective and should be returned to cylinder’s place of purchase. If NO bubbles appear at any connection, the connections are secure.
NOTE: Whenever gas connections are loosened or removed, you must perform a complete leak test.
DANGER
- CARBON MONOXIDE HAZARD
- For outdoor use only. Never use inside house, or other unventilated or enclosed areas. This heater consumes air (oxygen). Do not use in unventilated or enclosed areas to avoid endangering your life.
Caution: Do not attempt to operate until you have read and understand all General Safety Information in this manual and all assembly is complete and leak checks have been performed.
This appliance shall be used only in a well-ventilated space and shall not be used in a building, garage or any other enclosed area.
An appliance may be installed with shelter no more inclusive than:
- With walls on all sides, but with no overhead cover.
- Within a partial enclosure which includes an overhead cover and no more than two side walls. These side walls may be parallel, as in a breezeway, or at right angles to each other.
- Within a partial enclosure which includes an overhead cover and three side walls, as long as 30 percent or more of the horizontal periphery of the enclosure is permanently open.
Before Turning Gas Supply ON:
- Your heater was designed and approved for outdoor use only. Do NOT use it inside a building, garage, or any other enclosed area.
- Make sure surrounding areas are free of combustible materials, gasoline, and other flammable vapors or liquids.
- Make sure that there is no obstruction to air ventilation. Be sure all gas connections are tight and there are no leaks.
- Be sure the cylinder cover is clear of debris. Be sure any component removed during assembly or servicing is replaced and fastened prior to starting.
Before Lighting:
- Heater should be thoroughly inspected before each use, and by a qualified service person at least annually. If relighting a hot heater, always wait at least 5 minutes.
- Inspect the hose assembly for evidence of excessive abrasion, cuts, or wear. Suspected areas should be leak tested. If the hose leaks, it must be replaced prior to operation. Only use the replacement hose assembly specified by manufacturer.
- The pressure regulator and hose assembly supplied with the appliance must be used. Replacement pressure regulators and hose assemblies must be those specified by the appliance manufacturer.
Lighting:
Note: This heater is equipped wit h a pilot light that allows for safer startups and shutdowns. Pilot must be lit before main burner can be started.
- Turn the control knob to the “OFF” position.
- Fully open LP cylinder valve.
- Push control knob in and rotate to pilot position or until knob stops.
Note: For initial start or after any cylinder change, hold control knob in for 2 minutes to purge air from gas lines before proceeding.
- Push and release the igniter button until pilot flame is visible through the glass tube.
- Once the pilot is lit, continue to depress the control knob for 60 seconds.
- If the pilot does not stay lit, repeat steps 4 to 6.

- If after repeating steps 4 to 6 unit does not light, then Push in control knob and turn counterclockwise to “PILOT” or until knob stops. As you are depressing the control knob, place long stem lighter through the glass tube to light the pilot.

- Push in and turn the control knob to the “HIGH”, then release control knob. If you want a lower temperature, push in the control knob and turn counterclockwise to the “LOW” position.
Note: Improper operation, can cause injury or property damage. If pilot fails to remain lit, all valves should be closed and a waiting period of at least 5 minutes should pass before attempting to light. WARNING: If you attempt to relight the pilot without waiting, you will get a flash that could cause bodily harm and property damage.
Caution: Avoid inhaling fumes emitted from the heater’s first use. Smoke and odors from the burning of oils used in manufacturing will appear. Both smoke and odor will dissipate after approximately 30 minutes. The heater should NOT produce thick black smoke.
Note: The burner may be noisy when initially turned on. To eliminate excessive noise from the burner, turn the control knob to the PILOT position. Then, turn the knob to the level of heat desired.

WARNING
FOR YOUR SAFETY
Be careful when attempting to manually ignite this heater. Holding in the control knob for more than 20 seconds before igniting the gas will cause a ball of flame upon ignition.
When heater is ON:
The pilot light should be blue. Once the burner is lit, the flame in the glass tube will be yellow in color. If excessive yellow flame or soot is detected, turn off heater and consult “Troubleshooting”.
Re-lighting:
Note: For your safety, control knob cannot be turned OFF without first depressing control knob in PILOT position and then rotating it to OFF.
- Turn control knob to OFF.
- Wait at least 5 minutes, to let gas dissipate, before attempting to relight pilot light. Failure to follow this warning could cause a flash ignition or explosion.
- Repeat the “Lighting” steps on prior page.
WARNING
FOR YOUR SAFETY
Heater will be hot after use. Do not touch or move the heater until it is completely cooled (approx. 45 minutes).
Shut Down:
- Turn control knob clockwise to PILOT. (Normally, burner will make a slight popping sound when extinguished.) Burner will extinguish but PILOT will remain ON.
- To extinguish PILOT, depress control knob and continue to turn it clockwise to OFF.
- Turn cylinder valve clockwise to OFF and disconnect regulator when heater is not in use.
Note: After use, some discoloration of the emitter screen is normal.
Operation Checklist
For a safe and pleasurable heating experience, perform this check before each use.
Before Operating:
- User is familiar with entire owner’s manual and understand all precautions noted.
- All components are properly assembled, intact and operable.
- No alterations have been made.
- All gas connections are secure and do not leak.
- Outside temperature is adequate. Please note that wind velocity is below 10 mph.
- Unit will operate at reduced efficiency below 40°F.
- Heater is outdoors (outside any enclosure).
- There is adequate fresh air ventilation.
- Heater is away from gasoline or other flammable liquids or vapors.
- Heater is away from windows, air intake openings, sprinklers and other water sources.
- Heater is located at least 24″ (top) / 36″ (sides) from combustible materials.
- Heater is on a hard and level surface.
- There are no signs of spider or insect nests.
- All burner passages are clear.
- All air circulation passages are clear.
- Children and adults should be alerted to the hazards of high surface temperatures and should stay away to avoid burns or clothing ignition.
- Young children should be carefully supervised when they are in the area of the heater.
- Clothing or other protective material should not be hung from the heater, or placed on or n ear the heater.
- Any guard or other protective device removed for servicing the heater must be replaced prior to operating the heater.
- Any repair of this heater should be done by a qualified service person. The heater should be inspected before use and at least annually by a qualified service person.
- More frequent cleaning may be required as necessary. It is imperative that control compartment, burner and circulating air passageways of the heater be kept clean.
After Operation
- Gas control is in OFF position.
- Gas tank valve is OFF.
- Disconnect propane gas cylinder.
CARE AND MAINTENANCE
To enjoy years of outstanding performance from your heater, make sure you perform the following maintenance activities on a regular basis:
- Keep exterior surfaces clean. Use warm soapy water for cleaning. Never use flammable or corrosive cleaning agents. While cleaning your unit, be sure to keep the area around the burner and pilot assembly dry at all times. Do not submerge the control valve assembly. If the gas control is submerged in water, do NOT use it. It must be replaced.
- Keep the appliance area clear and free from combustible materials, gasoline and other flammable vapors and liquids.
- Do not obstruct the flow of combustion and ventilation air.
- Keep the ventilation opening(s) of the cylinder enclosure free and clear from debris.
- Air flow must be unobstructed. Keep controls, burner, and circulating air passageways clean.
TROUBLESHOOTING
| PROBLEM | POSSIBLE CAUSE | CORRECTIVE ACTION |
| Pilot won’t light
Note: Heater operates at reduced efficiency below 40°F (5°C) | Cylinder valve is closed | Open valve |
| Blockage in orifice or pilot tube | Clean or replace orifice or pilot tube | |
| Air in gas line | Open gas line and bleed it (pressing control knob in) for no more than 1 – 2 minutes or until you smell gas | |
| Low gas pressure with cylinder valve fully open | Turn cylinder valve OFF and replace cylinder | |
| Igniter fails | Use match to light pilot; obtain new igniter and replace | |
| Pilot won’t stay lit | Dirt built up around pilot | Clean dirt from around pilot |
| Connection between gas valve and pilot assembly is loose | Tighten connection and perform leak check | |
| Thermocouple is not operating correctly | Replace thermocouple | |
| Anti tilt switch could be faulty, or wires not connected properly | Replace anti tilt switch/Connect wire properly | |
| Burner won’t light | Propane cylinder is frosted over | Wait until the propane cylinder warms up and becomes unfrosted |
| Blockage in orifice | Clear blockage | |
| Control knob is not in ON position | Turn control knob to ON | |
| Burner flame is low | Gas pressure is low | Turn cylinder valve OFF and replace cylinder |
| Outdoor temperature is less than 40ºF and tank is less than 1/4 full | Use a full cylinder | |
| Control knob fully ON | Check burner and orifices for blockage | |
| Carbon build-up Thick black smoke | Dirt or film on reflector and burner screen | Clean reflector and burner screen |
| Blockage in burner | Remove blockage and clean burner inside and outside | |
| Gas odor with extreme yellow tipping of flame. | Burner title | Adjust the position of control box assembly |
| Spiders and insects | Clean burner and orifices | |
| Heater glow is excessively uneven. | Bad regulator | Change the regulator |
| Spiders and insects | Clean burner and orifices | |
| Heater makes popping noises. | Blockage in orifice | Clean burner and orifices |
| Spiders and insects |
CARE AND MAINTENANCE
Visually checking portions of the hose assembly located within the confines of the heater post. Inspect the entire hose assembly at least annually, disassembling the reflector and burner. Inspect the hose assembly for evidence of excessive abrasion, cuts, or wear. Suspected areas should be leak tested. Then assembling the reflector and burner again following with step 11 and 12:
- Spiders and insects can nest in burner or orifices. This dangerous condition can damage heater and render it unsafe for use. Clean burner holes by using a heavy-duty pipe cleaner. Compressed air may help clear away smaller particles.
- Carbon deposits may create a fire hazard. Disassemble the reflector, unscrew the reflector spacer, take off the screen, take down one side of protective guards. Then take the glass tube from the heater and wash and clear. After that assemble the glass tube and the rest of parts.
Note: In a salt-air environment (such as near an ocean), corrosion occurs more quickly than normal. Frequently check for corroded areas and repair them promptly.
TIP:
Use high-quality automobile wax to help maintain the appearance of your heater. Apply to exterior surfaces from upper support (long) down. Do not apply to emitter screen or domes.
Storage
Between uses:
- Turn control knob OFF.
- Disconnect LP cylinder.
- Store heater upright in an area sheltered from direct contact with inclement weather (such as rain, sleet, hail, snow, dust and debris).
- If desired, cover heater to protect exterior surfaces and to help prevent build-up in air passages.
Note: Wait until heater is completely cooled off before covering.
During periods of extended inactivity or when transporting:
- Turn control knob OFF.
- Disconnect LP cylinder and move to a secure, well-ventilated location outdoors.
- Store heater upright in an area sheltered from direct contact with inclement weather (such as rain, sleet, hail, snow, dust and debris).
- If desired, cover heater to protect exterior surfaces and to help prevent build-up in air passages.
Never leave LP cylinder exposed to direct sunlight or excessive heat.
Note: Wait until heater is cool before covering.
Service
Only a qualified service person should repair gas passages and associated components.
Caution: Always allow heater to cool before attempting service.
ONE-YEAR LIMITED WARRANTY
CUSTOMERS IN USA
For small parts please call 1-888-775-1330 for assistance. For damaged product, you may have to return to the retailer.
CUSTOMERS IN CANADA
Only return this product to the store if it was purchased within 90 days. If you have problems after 90 days of purchase, please CALL 1-888-775-1330. DATED PROOF OF PURCHASE REQUIRED FOR WARRANTY SERVICE.
AZ Patio Heater, LLC (“Vendor”) warrants to the original retail purchaser of this heater to no other person, that if this heater is assembled and operated in accordance with the printed instructions accompanying it, then for a period of one year from the date of purchase, all parts in such heater shall be free from defects in manufacturing and workmanship. Vendor may require reasonable proof of your date of purchase from an authorized retailer or distributor. Therefore, you should retain your sales slip or invoice. This limited Warranty shall be limited to the repair or replacement of parts, which prove defective under normal use and service and which the vendor shall determine in its reasonable discretion upon examination to be defective. Before returning any parts, you should contact Vendors customer service department using the contact information listed below. If Vendor confirms, after examination a defect covered by this limited warranty in any returned part, and if Vendor approves the claim, Vendor will replace such defective part without charge. If you return defective parts, Transportation charges must be prepaid by you. Vendor will return replacement parts to the original retail purchaser, Freight or postage prepaid.
The limited Warranty does not cover any failures or operating difficulties due to accident, abuse, misuse, alteration, misapplication, improper installation or improper maintenance or service by you or third party. The failure to perform normal and routine maintenance on the product, shipping, damage, abnormal adjustment to the burner, damage or repairs related to insects, birds, or animals of any kind, and damage due to weather conditions as set out in this owner’s manual. In addition, the Limited Warranty does not cover damage to the finish such as scratches, dents, discoloration, rust or weather damage, after purchase. Please protect your investment.
The limited Warranty is in lieu of all other warranties offered by any retail company. Vendor disclaims all warranties for products that are purchased from sellers other than authorized retailers or distributors. AFTER THE PERIOD OF THE 1 YEAR WARRANTY, VENDOR DISCLAIMS ANY AND IMPLIED WARRANTIES, INCLUDING WITHOUT LIMITATION THE IMPLIED WARRANTIES OF MERCHANTABILITY AND FITNESS FOR A PARTICULAR PURPOSE. FURTHER, VENDOR SHALL HAVE NO LIABILITY WHATSOEVER TO PURCHASER OR ANY THIRD PARYY FOR ANY SPECIAL, INDIRECT, PUNITIVE, INCIDENTAL, OR CONSEQUENTAL DAMAGES. Vendor assumes no responsibility for any defects caused by third parties. This limited warranty gives the purchaser specific legal rights; a purchaser may have other rights depending upon where he or she lives. Some jurisdictions do not allow the exclusion or limitation of special, incidental or consequential damages, or limitations on how long a warranty lasts, so the above exclusion and limitations may not apply to you.
Vendor does not authorize any person or company to assume for it any other obligation or liability in connection with the sale, installation, use, removal, return, or replacement of its equipment, and no such representations are binding on vendor.
For warranty service, please contact [email protected] or call us toll free at 888-775-1330.
REPLACEMENT PARTS LIST
For replacement parts, call our customer service department at 1-888-775-1330, 8 a.m. – 4 p.m., MST, Monday – Friday.

| PART | DESCRIPTION | QUANTITY |
| A | Reflector | 1 |
| B | Mesh | 1 |
| C | Glass Tube Fixer | 1 |
| D | Top Plate | 1 |
| E | Upper Support (Long) | 3 |
| F | Protective Guard | 3 |
| G | Glass Tube- 4″ x 49.5″ | 1 |
| H | Side Panel | 2 |
| I | Black Silicone Ring | 1 |
| J | Control Box Assembly | 1 |
| K | Lower Support (Short) | 3 |
| L | Block Belt | 1 |
| M | Gas Hose & Regulator | 1 |
| N | Wheel Assembly | 2 |
| O | Bottom plate | 1 |
| P | Front Panel | 1 |
| Q | Ceramic Fiber | 1 |




































