Hiland NG-HB Tall Natural G Patio Heater
DANGER
If you smell gas:
- Shut off gas to the
- Extinguish any open
If odor continues, keep away from the appliance and immediately call your gas supplier or fire department
WARNING
Do not store or use gasoline or other flammable vapors and liquids in the vicinity of this or any other appliance. An LP-cylinder not connected for use shall not be stored in the vicinity of this or any other appliance.
WARNING: For Outdoor Use Only
CARBON MONOXIDE HAZARD
This appliance can produce carbon monoxide which has no odor.
Using it in an enclosed space can kill you.
Never use this appliance in an enclosed space such as a camper, tent, car or home.
WARNING
Improper installation, adjustment, alteration, service or maintenance can cause property damage, injury or death. Read the installation, operation and maintenance instructions thoroughly before installing or servicing this equipment.
Precaution!
The Powder Coating paint process has become the most common widely used application in the outdoor furniture category. Unfortunately powder coating is extremely sensitive to Humidity and Moisture. A simple process to protect your furniture, especially flat surfaces is to apply a simple coat of good quality car wax prior to using. If this process is done every few months it will protect your furniture for years to come.
INSTALLER/ASSEMBLER: Leave this manual with consumer. CONSUMER: Keep this manual for future reference.
Distributor: AZ PATIO HEATERS LLC
8601 W. Jefferson St Suite 200, Tolleson, AZ 85353
ANS Z83.26-2014 • CSA 2.37-2014 Gas-Fired Outdoor Infrared Patio Heater ATTACH YOUR RECEIPT HERE
Serial Number
Purchase Date
Questions, problems, missing parts? For small parts please call 1-888-775-1330 for assistance, 8 a.m. – 4 p.m., MST, Monday – Friday. For damaged product, you may have to return to the retailer.
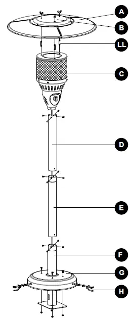
PACKAGE CONTENTS
| PART DESCRIPTION QUANTITY | ||
| A | Reflector Panel | 3 |
| B | Reflector Plate | 1 |
| LL | Reflector Stud | 3 |
| C | Heater Burner Screen | 1 |
| D | Upper Post | 1 |
| E | Middle Post | 1 |
| F | Lower Post | 1 |
| G | Base | 1 |
| H | Ground Fixer | 3 |

HARDWARE CONTENTS (shown actual size)

SAFETY INFORMATION
Please read and understand this entire manual before attempting to assemble, operate or install the product. If you have any questions regarding the product, please call customer service at
1-888-775-1330, 8 a.m. – 4 p.m., MST, Monday – Friday.
This manual contains important information about the assembly, operation and maintenance of this patio heater. General safety information is presented in these first few pages and is also located throughout the manual. Keep this manual for future reference and to educate new users of this product. This manual should be read in conjunction with the labeling on the product. Safety precautions are essential when any mechanical or propane fueled equipment is involved. These precautions are necessary when using, storing, and servicing.
Using this equipment with the respect and caution demanded will reduce the possibilities of personal injury or property damage. The following symbols shown below are used extensively throughout this manual. Always heed these precautions, as they are essential when using any mechanical or fueled equipment.
DANGER
DANGER indicates an imminently hazardous situation which, if not avoided, will result in death or serious injury.
DANGER
Failure to comply with the precautions and instructions provided with this heater can result in death, serious bodily injury and property loss or damage from hazards of fire, explosion, burn, asphyxiation, and/or carbon monoxide poisoning. Only persons who can understand and follow the instructions should use or service this heater.
DANGER
FOR YOUR SAFETY
If you smell gas:
- Shut off gas to the
- Extinguish any open flame.
- If odor continues, keep away from the appliance and immediately call your gas supplier or fire
DANGER
- EXPLOSION – FIRE HAZARD
- Keep solid combustibles, such as building materials, paper or cardboard, a safe distance away from the heater as recommended by the
- Provide adequate clearances around air openings into the combustion
- Never use the heater in spaces which do or may contain volatile or airborne combustibles, or products such as gasoline, solvents, paint thinner, dust particles or unknown chemicals.
- During operation, this product can be a source of ignition. Keep heater area clear and free from combustible materials, gasoline, paint thinner, cleaning solvents and other flammable vapors and liquids. Do not use heater in areas with high dust content. Minimum heater clearances from combustible materials: three (3) feet from the sides & three (3) feet from the top
DANGER
- EXPLOSION – FIRE HAZARD
- Never store propane near high heat, open flames, pilot lights, direct sunlight, other ignition sources or where temperatures exceed 120 degrees F (49°C).
- Propane vapors are heavier than air and can accumulate in low places. If you smell gas, leave the area
- Never install or remove propane cylinder while heater is lighted, near flame, pilot lights, other ignition sources or while heater is hot to
- This heater is red hot during use and can ignite flammables too close to the burner. Keep flammables at least 3 feet from sides & 3 feet from Keep gasoline and other flammable liquids and vapors well away from heater.
- Store the propane cylinder outdoors in a well ventilated space out of reach of children. Never store the propane cylinder in an enclosed area (house, garage, ). If heater is to be stored indoors, disconnect the propane cylinder for outdoor storage.
WARNING
We cannot foresee every use which may be made of our heaters.
Check with your local fire safety authority if you have questions about heater use.
Other standards govern the use of fuel gases and heat producing products for specific uses. Your local authorities can advise you about these.
If no local codes exist, follow National Fuel Gas Code, ANS Z223.1. In Canada, installation must conform to local codes. If no local codes exist, follow the current National standards of CANADA CAN/CGA-B 149.2.
DANGER
- CARBON MONOXIDE HAZARD
- This heater is a combustion appliance. All combustion appliances produce carbon monoxide (CO) during the combustion process. This product is designed to produce extremely minute, non-hazardous amounts of CO if used and maintained in accordance with all warnings and instructions. Do not block air flow into or out of the heater.
- Carbon Monoxide (CO) poisoning produces flu-like symptoms, watery eyes, headaches, dizziness, fatigue and possibly death. You can’t see it and you can’t smell it. It’s an invisible killer. If these symptoms are present during operation of this product get fresh air immediately!
- For outdoor use
- Never use inside house, or other unventilated or enclosed
- This heater consumes air (oxygen). Do not use in unventilated or enclosed areas to avoid endangering your life
WARNING
WARNING indicates an imminently hazardous situation which, if not avoided, will result in death or serious injury.
WARNING
Do not store or use gasoline or other flammable vapors and liquids in the vicinity of this or any other appliance. An LP-cylinder not connected for use shall not be stored in the vicinity of this or any other appliance.
WARNING: For Outdoor Use Only
CARBON MONOXIDE HAZARD This appliance can produce carbon monoxide which has
no odor. Using it in an enclosed space can kill you. Never use this appliance in an enclosed space such as a camper, tent, car or home.
WARNING
Improper installation, adjustment, alteration, service or maintenance can cause property damage, injury or death. Read the installation, operation and maintenance instructions thoroughly before installing or servicing this equipment.
WARNING
California Proposition 65
Combustion by-products produced when using this product contain chemicals known to the State of California to cause cancer, birth defects, and other reproductive harm.
WARNING
BURN HAZARD
- Never leave heater unattended when hot or in use.
- Keep out of reach of children.
WARNING
Certain materials or items, when stored under the heater, will be subjected to radiant heat and could be seriously damaged.
CAUTION
SERVICE SAFETY
- Keep all connections and fittings clean. Make sure propane cylinder valve outlet is clean.
- During set up, check all connections and fittings for leaks using soapy water. Never use a flame.
- Use as a heating appliance only. Never alter in any way or use with any device.
CAUTION
CAUTION indicates an imminently hazardous situation which, if not avoided, may result in minor or moderate personal injury, or property damage.
WARNING
- This product is fueled by propane gas. Propane gas is invisible, odorless, and flammable. An odorant is normally added to help detect leaks and can be described as a “rotten egg” smell. The odorant can fade over time so leaking gas is not always detectable by smell
- Propane gas is heavier than air and leaking propane will sink to the lowest level possible. It can ignite by ignition sources including matches, lighters, sparks or open flames of any kind many feet away from the original leak. Use only propane gas set up for vapor
- Store or use propane gas in compliance with local ordinances and codes or with ANS/NFPA 58. Turn off propane when not in use
WARNING
- Alert children and adults to the hazards of high surface temperatures. Stay away from these surfaces to avoid burning skin or igniting clothing.
- Carefully supervise young children when in the vicinity of the
- Do not hang clothing or any other flammable materials from the heater, or place on or near the
- Replace any guard or protective device removed for servicing the appliance prior to placing back in service.
- Installation and repair should be done by a qualified service person. The heater should be inspected before use and annually by a qualified service More frequent cleaning may be required as necessary. It is imperative that the control compartment, burners, and circulating air passageway of the appliance be kept clean.
PREPARATION
Before beginning assembly of product, make sure all parts are present. Compare parts with package contents list and hardware contents above. If any part is missing or damaged, do not attempt to assemble the product. Contact customer service for replacement parts.
Estimated Assembly Time: 60 minutes
Tools Required for Assembly (not included): Leak detection solution
ASSEMBLY INSTRUCTIONS
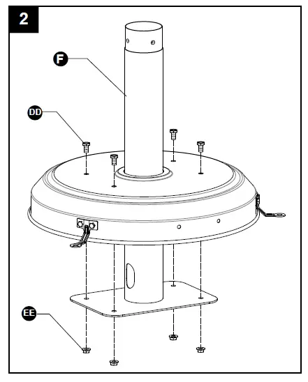
To protect heater from strong wind, anchor the base securely to the ground with screws. Reverse the base, fix the ground fixer to the base with bolts and washers like picture shows. Firm the ground fixer with nuts.
Fix another two ground fixer with bolts and nuts,and reverse the base.
Hardware Used

Put lower post through the hole on the top of base, attach lowerpost to base using four large bolts. Fully tighten all of the screws.
Hardware Used 
Attach lower post and upper post to the each end of middle post. Using 8 screws to fasten them.
Hardware Used 
Attach Head Assembly to Post
- Screw off 4 small bolts.
- Load Head Assembly by inserting hose into post.
- Insert Head Assembly into post.
- Control knob should be above decal on post. Attach Head Assembly to post, and loosely install four small bolts.
- Tighten bolts securely.
- Hose is not included in the product. Need Purchase Separately.

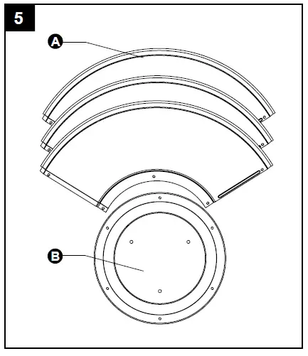
Remove protective cover from reflector panel and reflector plate.
Note: In order to achieve proper alignment of reflector sections, it may be necessary to loosen the preassembled bolts prior to assembly and retighten once complete.
Attach reflector panels together using Small Screw and Small Flat Washer . Secure loosely with cap nuts .
Hardware Used 
Attach reflector plate to reflector panels using Small Screw and Small Flat Washer. Secure loosely with cap nuts . Once properly aligned, tighten all screws and the preassembled bolts.
Hardware Used
Insert 3 Reflector Studs & 3 Flat Washers. Tighten studs securely.
Support Heater.
Slide 3 Large Flat Washers over threaded end of Studs.
Locate Reflector Assembly on 3 studs. Install large flat washers on studs & securely tighten wing nuts but do not over-tighten!
Hardware Used 
Connect Hose
- You must provide natural gas.
- Use this heater only with a natural gas vapor withdrawal supply system.
- A minimum supply pressure of 0.12 p.s.i. is required for the purpose of input adjustment for natural gas.ANS Z223.1/NFPA54, Natural Gas and Propane
- Installation Code, CSA B149.1, or Propane Storage and Handling Code, B149.2.
- The installation must conform with local codes, or in the absence of local codes,with National Fuel Gas Code, ANS Z223.1/NFPA54, Natural Gas and
- Propane Installation Code, CSA B149.1, or Propane Storage and Handling Code, B149.2.
- A dented, rusted or damaged propane cylinder may be hazardous and should be checked by your cylinder supplier. Never use a propane cylinder with a damaged valve connection.
- Screw regulator onto gas hose. Do not cross-thread.
- Tighten securely.
- Attach regulator to hose.
- Complete attachment.
OPERATION INSTRUCTIONS
To check for a leak:
- Make 2-3 oz. of leak check solution (one part liquid dishwashing detergent and three parts water).
- Apply several drops of solution where hose attaches to regulator.
- Apply several drops of solution where regulator connects to Natural gas Valve.
- Make sure all Patio Heater & Light valves are OFF.
- Turn Natural gas Valve ON.
If bubbles appear at any connection, there is a leak.
- Turn Natural gas Valve OFF.
- If leak is at Hose/Regulator connection: tighten connection and perform another leak test. If bubbles continue appearing should be returned to Hose’s place of purchase.
- If leak is at Regulator/Natural gas Valve connection: disconnect, reconnect, and perform another leak check. If you continue to see bubbles after several attempts, Natural gas Valve is defective and should be returned to cylinder’s place of purchase.
If NO bubbles appear at any connection, the connections are secure.
Turn Natural gas Valve OFF.
NOTE: Whenever gas connections are loosened or removed, you must perform a complete leak test. Complete installation.
WARNING
- Perform all leak tests outdoors.
- Extinguish all open flames.
- NEVER leak test when smoking.
- Do not use the heater until all connections have been leak tested and do not leak.
DANGER
- CARBON MONOXIDE HAZARD
- For outdoor use only. Never use inside house, or other unventilated or enclosed areas. This heater consumes air (oxygen). Do not use in unventilated or enclosed areas to avoid endangering your life.
The appliance must be isolated from the gas supply piping system by closing its individual manual shout off valve during any pressure testing of the gas supply piping system at test pressures equal to or less than 1/2 psig (3.5kPa).
Caution: Do not attempt to operate until you have read & understand all General Safety Information in this manual and all assembly is complete & leak checks have been performed.
This appliance shall be used only in a well-ventilated space and shall not be used in a building, garage or any other enclosed area.
An appliance may be installed with shelter no more inclusive than:
- With walls on all sides, but with no overhead cover.
- Within a partial enclosure which includes an overhead cover and no more than two side walls. These side walls may be parallel, as in a breezeway, or at right angles to each other.
- Within a partial enclosure which includes an overhead cover and three side walls, as long as 30 percent or more of the horizontal periphery of the enclosure is permanently open.
Before Turning Gas Supply ON:
- Your heater was designed and approved for outdoor use only. Do NOT use it inside a building, garage, or any other enclosed area.
- Make sure surrounding areas are free of combustible materials, gasoline, and other flammable vapors or liquids.
- Ensure that there is no obstruction to air ventilation. Be sure all gas connections are tight and there are no leaks.
- Be sure the cylinder cover is clear of debris. Be sure any component removed during assembly or servicing is replaced and fastened prior to starting.
Before Lighting:
- Heater should be thoroughly inspected before each use, and by a qualified service person at least annually. If relighting a hot heater, always wait at least 5 minutes.
- Inspect the hose assembly for evidence of excessive abrasion, cuts, or wear. Suspected areas should be leak tested. If the hose leaks, it must be replaced prior to operation. Only use the replacement hose assembly specified by manufacturer. Pressure regulator and hose assembly supplier with the appliance must be used, and a statement that replacement pressure regulators and hose assemblies must be those specified by the appliance manufacturer.
Lighting:
Note: This heater is equipped with a pilot light that allows for safer startups and shutdowns.
Pilot must be lit before main burner can be started.
- Turn the control knob to the “OFF” position.
- Fully open Natural gas Valve.
Note: For initial start or after any cylinder change, hold control knob in for 2 minutes to purge air from gas lines before proceeding.
- Push in gas Control Knob and turn counterclockwise to
“IGNITER” then to “PILOT” (Figure b) to light the pilot. If needed, keep depressing and turning Control Knob counterclockwise until the pilot lights (You should heater 2 clicking sounds). - Once the pilot is lit, continue to depress the control Knob for 30 seconds.
- If the pilot dose not stay lit, repeat steps 3 and 4.
- If after repeating steps 3 & 4 unit does not light, then
– Push in Control Knob and turn counterclockwise to “PILOT”.
– As you are depressing the Control Knob, place long stem lighter into the ignition hole (Figure c) on the Emitter Screen to light the pilot.
– Repeat step 4.
Push in and turn the Control Knob to the “LOW” position, then release Control Knob. If you want a higher temperature, push in the Control Knob and turn counterclockwise to the “HIGH” position.
After First Lighting
-The burner may be noisy when initially turned on, To eliminate excessive noise form the burner, set the Control Knob to “LOW”, then turn the Control Knob to heat level desired.
White smoke may appear around the Emitter Screen during the first few minutes of initial lighting. This is the heater burning up the oil used in manufacturing. Both smoke and odor will dissipate after approximately 30 minutes.
Note:
Improper operation, can cause injury or property damage. If pilot fails to remain lit, all valves should be closed and a waiting period of at least 5 minutes should pass before attempting to light.
If you experience any ignition problem please consult “Troubleshooting” ” on page 17.
Caution: Avoid inhaling fumes emitted from the heater’s first use. Smoke and odor from the burning of oils used in manufacturing will ap pear. Both smoke and odor will dissipate after approximately 30 minutes. The heater should NOT produce thick black smoke.
Note: The burner may be noisy when initially turned on. To eliminate excessive noise from the burner, turn the Control Knob to the Pilot position. Then, turn the knob to the level of heat desired.
WARNING
FOR YOUR SAFETY
Be careful when attempting to manually ignite this heater. Holding in the control knob for more than 10 seconds before igniting the gas will cause a ball of flame upon ignition.
When Heater is ON:
Emitter screen will become bright red due to intense heat. The color is more visible at night. Burner will display tongues of blue and yellow flame. These flames should not be yellow or produce thick black smoke, indicating an obstruction of airflow through the burners. The flame should be blue with straight yellow tops. If excessive yellow flame is detected, turn off heater and consult
“Troubleshooting” on page 17.
Re-lighting:
Note: For your safety, control knob cannot be turned OFF without first depressing control knob in PILOT position and then rotating it to OFF.
- Turn control knob to OFF.
- Wait at least 5 minutes, to let gas dissipate, before attempting to relight pilot.
- Repeat the “Lighting” steps on prior page.
WARNING
FOR YOUR SAFETY
Heater will be hot after use. Handle with extreme care.
Shut Down:
- Turn control knob clockwise to PILOT. (Normally, burner will make a slight popping sound when extinguished.) Burner will extinguish but PILOT will remain ON.
- To extinguish PILOT, depress control knob and continue to turn it clockwise to OFF.
- Turn natural gas Valve clockwise to OFF and disconnect Regulator when heater is not in use.
Note: After use, some discoloration of the emitter screen is normal.
OPERATION CHECKLIST
For a safe and pleasurable heating experience, perform this check before each use.
Before Operating:
- I am familiar with entire owner’s manual and understand all precautions noted. All components are properly assembled, intact and operable.
- No alterations have been made.
- All gas connections are secure and do not leak.
- Wind velocity is below 10 mph.
- Unit will operate at reduced efficiency below 40°F.
- Heater is outdoors (outside any enclosure).
- There is adequate fresh air ventilation.
- Heater is away from gasoline or other flammable liquids or vapors.
- Heater is away from windows, air intake openings, sprinklers and other water sources.
- Heater is at least 36″ on top and at least 36″ on sides from combustible materials.
- Heater is on a hard and level surface.
- There are no signs of spider or insect nests.
- All burner passages are clear.
- All air circulation passages are clear.
- Children and adults should be alerted to the hazards of high surface temperatures and should stay away to avoid burns or clothing ignition.
- Young children should be carefully supervised when they are in the area of the heater. Clothing or other protective material should not be hung from the heater, or placed on or near the heater.
- Any guard or other protective device removed for servicing the heater must be replaced prior to operating the heater.
- Installation and repair should be done by a qualified service person. The heater should be inspected before use and ate least annually by a qualified service person.
- More frequent cleaning may be required as necessary. It is imperative that control compartment, burner and circulating air passageways of the heater be kept clean.
After Operation
- Gas control is in OFF position.
- Gas Hose valve is OFF.
- Disconnect Gas line.
CARE AND MAINTENANCE
WARNING
FOR YOUR SAFETY:
- Do NOT touch or move heater for at least 45 minutes after use.
- Reflector is hot to the touch.
- Allow reflector to cool before touching.
To enjoy years of outstanding performance from your heater, make sure you perform the following maintenance activities half a year:
- Keep exterior surfaces clean.
Use warm soapy water for cleaning. Never use flammable or corrosive cleaning agents. - While cleaning your unit, be sure to keep the area around the burner and pilot assembly dry at all times. Do not submerge the control valve assembly. If the gas control is submerged in water, do NOT use it. It must be replaced.
- Keeping the appliance area clear and free from combustible materials , gasoline and other flammable vapors and liquids.
- Not obstructing the flow of combustion and ventilation air.
- KeeKeeping the ventilation opening(s) of the cylinder enclosure free and clear from debris.
- Air flow must be unobstructed. Keep controls, burner, and circulating air passageways clean. Signs of possible blockage include:
Visually checking portions of the hose assembly located within the confines of the heater post. Inspect the entire hose assembly at least annually, disassembling the reflector and burner. Inspect the hose assembly for evidence of excessive abrasion, cuts, or wear. Suspected areas should be leak tested. Then assembling the reflector and burner again following with step 4 and 8.
- Gas odor with extreme yellow tipping of flame.
- Heater does NOT reach the desired temperature.
- Heater glow is excessively uneven.
- Heater makes popping noises.
- Spiders and insects can nest in burner or orifices. This dangerous condition can damage heater and render it unsafe for use. Clean burner holes by using a heavy-duty pipe cleaner. Compressed air may help clear away smaller particles.
- Carbon deposits may create a fire hazard. Clean dome and burner screen with warm soapy water if any carbon deposits develop.
Note: In a salt-air environment (such as near an ocean), corrosion occurs more quickly than normal. Frequently check for corroded areas and repair them promptly.
TIP:
Use high-quality automobile wax to help maintain the appearance of your heater. Apply to exterior surfaces from the pole down. Do not apply to emitter screen or domes.
Storage
Between uses:
- Turn Control Knob OFF.
- Disconnect LP source.
- Store heater upright in an area sheltered from direct contact with inclement weather (such as rain, sleet, hail, snow, dust and debris).
- If desired, cover heater to protect exterior surfaces and to help prevent build-up in air passages.
Note: Wait until heater is cool before covering.
During periods of extended inactivity or when transporting:
- Turn Control Knob OFF.
- Disconnect natural gas source and move to a secure, well-ventilated location outdoors.
- Store heater upright in an area sheltered from direct contact with inclement weather (such as rain, sleet, hail, snow, dust and debris).
- If desired, cover heater to protect exterior surfaces and to help prevent build-up in air passages.
Note: Wait until heater is cool before covering.
Service
Repair to gas passages and associated components should be done only by a qualified service person.
Caution: Always allow heater to cool before attempting service.
TROUBLESHOOTING
| PROBLEM | POSSIBLE CAUSE | CORRECTIVE ACTION |
|
Pilot won’t light | 1. Natural gas valve is close | 1. Open valve |
| 2. Blockage in orifice or pilot tube | 2. Clean or replace orifice or pilot | |
| 3. Air in gas line | tube 3. Open gas line and bleed it | |
| (pressing control knob in) for not | ||
| more than 1 – 2 minutes or until | ||
| you smell gas | ||
| Note: Heater operates at reduced efficiency | 4. Low gas pressure with natural gas valve fully open | 4. Turn natural gas valve OFF and replace gas valve |
| below 40ºF(5ºC) | 5. Igniter fails | 5 .Use match to light pilot; obtain new igniter and replace |
|
Pilot won’t stay lit | 1. Dirt built up around pilot
2. Connection between gas valve and pilot assembly is loose 3. Thermocouple is not operating correctly | 1. Clean dirt from around pilot 2. Tighten connection and perform leak check
3. Replace thermocouple |
|
Burner won’t light | 1. Gas pressure is low
2. Blockage in orifice
3. Control knob is not in ON position | 1. Turn natural gas valve OFF and replace gas valve 2. Clear blockage
3. Turn control knob to ON |
|
Burner flame is low | 1. Gas pressure is low 2. Outdoor temperature is less than 40ºF and is less than 1/4 full 3.Spiders and insects nest in burner or orifices. 4. Control knob fully ON | 1. Turn natural gas valve OFF and replacegas valve 2. Use a full natural gas valve 3. Clean burner and orifices 4. Check burner and orifices for blockage |
| Carbon build-up | 1.Dirt or film on reflector and burner screen | 1.Clean reflector and burner screen |
| Thick black smoke | 1. Blockage in burner | 1. Remove blockage and clean burner inside and outside |
ONE-YEAR LIMITED WARRANTY
CUSTOMERS IN USA
For small parts please call 1-888-775-1330 for assistance. For damaged product, you may have to return to the retailer.
CUSTOMERS IN CANADA
Only return this product to the store if it was purchased within 90 days. If you have problems after 90 days of purchase, please CALL 1-888-775-1330. DATED PROOF OF PURCHASE REQUIRED FOR WARRANTY SERVICE.
AZ Patio Heater, LLC (“Vendor”) warrants to the original retail purchaser of this heater to no other person, that if this heater is assembled and operated in accordance with the printed instructions accompanying it, then for a period of one year from the date of purchase, all parts in such heater shall be free from defects in manufacturing and workmanship. Vendor may require reasonable proof of your date of purchase from an authorized retailer or distributor. Therefore, you should retain your sales slip or invoice.
This limited Warranty shall be limited to the repair or replacement of parts, which prove defective under normal use and service and which the vendor shall determine in its reasonable discretion upon examination to be defective. Before returning any parts, you should contact Vendors customer service department using the contact information listed below.
If Vendor confirms, after examination a defect covered by this limited warranty in any returned part, and if Vendor approves the claim, Vendor will replace such defective part without charge. If you return defective parts, Transportation charges must be prepaid by you. Vendor will return replacement parts to the original retail purchaser, Freight or postage prepaid.
The limited Warranty does not cover any failures or operating difficulties due to accident, abuse, misuse, alteration, misapplication, improper installation or improper maintenance or service by you or third party. The failure to perform normal and routine maintenance on the product, shipping, damage, abnormal adjustment to the burner, damage or repairs related to insects, birds, or animals of any kind, and damage due to weather conditions as set out in this owner’s manual.
In addition, the Limited Warranty does not cover damage to the finish such as scratches, dents, discoloration, rust or weather damage, after purchase. Please protect your investment.
The limited Warranty is in lieu of all other warranties offered by any retail company. Vendor disclaims all warranties for products that are purchased from sellers other than authorized retailers or distributors.
AFTER THE PERIOD OF THE 1 YEAR WARRANTY, VENDOR DISCLAIMS ANY AND IMPLIED WARRANTIES, INCLUDING WITHOUT LIMITATION THE IMPLIED WARRANTIES OF MERCHANTABILITY AND FITNESS FOR A PARTICULAR PURPOSE. FURTHER, VENDOR SHALL HAVE NO LIABILITY WHATSOEVER TO PURCHASER OR ANY THIRD PARYY FOR ANY SPECIAL,
INDIRECT, PUNITIVE, INCIDENTAL, OR CONSEQUENTAL DAMAGES.
Vendor assumes no responsibility for any defects caused by third parties. This limited warranty gives the purchaser specific legal rights; a
purchaser may have other rights depending upon where he or she lives. Some jurisdictions do not allow the exclusion or limitation of special, incidental or consequential damages, or limitations on how long a warranty lasts, so the above exclusion and limitations may not apply to you.
Vendor does not authorize any person or company to assume for it any other obligation or liability in connection with the sale, installation, use, removal, return, or replacement of its equipment, and no such representations are binding on vendor.
For warranty service, please contact [email protected] or call us toll free at
888-775-1330.
Distributed by:
AZ Patio Heaters, LLC
Toll Free Number 1-888-775-1330 Sales Service and Repair
www.azpatioheaters.com
REPLACEMENT PARTS LIST
| PART DESCRIPTION QUANTITY | ||
| A | Reflector Panel | 3 |
| B | Reflector Plate | 1 |
| LL | Reflector Stud | 3 |
| C | Heater Burner Screen | 1 |
| D | Upper Post | 1 |
| E | Middle Post | 1 |
| F | Lower Post | 1 |
| G | Base | 1 |
| H | Ground Fixer | 3 |




Push in and turn the Control Knob to the “LOW” position, then release Control Knob. If you want a higher temperature, push in the Control Knob and turn counterclockwise to the “HIGH” position.


















