Contents hide
Blue Flame EWB-10 Fully Automatic Water Boiler

Specification

Structure
The structure of Fully Automatic Water Boiler includes:
Stainless steel finishing, stainless steel water tank, thermostat, water level indicator, stainless steel ball valve, branded heater and water faucet.
Accessories
Installation Procedure
- A) Positioning
The water boiler must be placed on a flat and even surface. An uneven surface can affect the water leveling and in turns, the performance of boiler. Wall- mounted unit is available in EWB-10, and must be affixed to a brick or concert wall. All other models must be sitting on a solid surface. Water boiler stands with or without towel warmer are optional. - B) Wall Mounted Method
Using the sis bracket provided, mark the necessary drilling holes on the wall. After drilling, affix the 6mm anchor bolts to the wall and affix the provided bracket. Hang up the boiler by using the equipped hanger and affixed bracket. Make sure that the anchor bolts are securely fastened to the brick wall. - C) Water Supply Connection
A water connection of 013mm(B.S.) in thread is provided at both sides of the water boiler. Standard accessories are affixed on the left hand side of the unit when ex-factory. For your own convenience and site situation, you may relocate the complete set of the floating valve from left to right. Remember to install water boiler with a water supply valve and access connector.- For easy repairing and cleaning, do not weld or solder the water supply pipe to the unit.
- In area of hard water supply, it is highly recommended to connect to the water soften line.

- D) Electrical Connection
A three cord PVC cable is provided. You may connect the socket according to local electrical requirements. Make sure that the earth wire must be connected.
Start-up Procedure
- Open the water supply valve and fill up the water boiler. Once the water boiler is fully filled, the valve with close automatically.
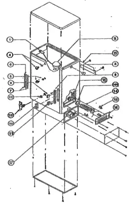
- Check the water level indicator (Maintenance Diagram – Symbol 6) and see if it is about 25mm from the top of glass tube. This should be the factory pre-adjusted water level.
- Check and see if electrical supply is properly connected. You may now switch the water boiler on.
- The red light is on and start heating. A rise in temperature as indicated by the thermometer (Maintenance Diagram – Symbol 10).
- Once the water temperature reaches 94°C-98°C, the green light will lite-up, then the water can be served.
Operation Guidelines and Maintenance
- The water boiler may over-flow if the float valve is mal-functioning or when the water level needs adjustment.
- Check the float ball. It may have cracked or filled with water. In this case, change the float ball.
- Check the rubber stopper of the stop valve. If there is wear and tear sign, replace a new one.
- Water level may be adjusted by bending the float ball spindle slightly, as indicated in the drawing below.

- If the red light is on, but there is no increase in temperature within fifteen minutes interval, check whether the electrical wiring or the heating element has burnt out or not.
- To replace heating element: Turn off the unit first and unscrew the Cover at the right hand side of the unit. Inspection
REMEMBER TO TURN OFF THE POWER SUPPLY AND DRAIN ALL WATER FROM THE UNIT BEFORE UNSCREWING THE HEATER CLAMP.
Excess water can be removed by tilting the water boiler slightly.
- To replace heating element: Turn off the unit first and unscrew the Cover at the right hand side of the unit. Inspection
- Before you replacing the Heating Element, make sure that the O-ring (Maintenance Diagram – Symbol 14A) is in good condition.
Tighten all clamps before refiling with water. unit on. - Make sure that there are no signs of leakage before switching the unit on.
MAINTENANCE
- Clean the water container once every month.
- Check the water level once every month.
- Replace float valve rubber stopper once every year.
- Check the thermostat and heater once six months.
- Replace thermostat once every two years.
- Repairs and maintenance should only be done by qualified electricians.
Maintenance Diagram and Spare Parts List
Spare parts list

Circuit Diagram
All rights reserved. All trademarks are the property of their respective owners. Reproduction in whole or in part without written permission is prohibited.
Installation Procedure






















