JOCEL JAG007353 Blue Flame Gas Heater Instruction Manual
Safety Instructions
- Before carrying out any operation, read carefully the following instructions.
KEEP THIS BOOKLET IN A SAFE PLACE SO THAT YOU MAY CONSULT IT LATER - After removing the packaging, make sure that the appliance is in good condition. If you have doubts, do not use the appliance and return to your retailer.
- The packaging materials contain plastic, screws, etc, which may be hazardous and therefore should not be left within the reach of children. This appliance is a LPG ( Liquefied Petroleum Gas ) heater and must not run continuously (maximum 2hrs) This appliance must be installed in accordance with the rules in force in the country of destination.
- This appliance must be installed by a competent person.
- This heater should be installed in a ventilated room for proper operation, resulting in poor combustion if this is not the case.
- Use only in a ventilated area.
- The room where the appliance is installed must have sufficient air circulation for proper ventilation and combustion. There must be a ventilation of at least 100 cm2 to renew the air.
- This appliance must be used for the heating of living areas only.
- This appliance must not be used in cellars, as caravans
- Do not install the appliance in basements, bathrooms, or in enclosed rooms.
- Do not place flammable objects (fabrics, curtains etc.) on or against the appliance.
- Do not store chemicals or flammable materials or aerosols near this unit.
- Do not operate this appliance in a flammable area such as in areas where gasoline or other flammable liquids or vapors are stored.
- Heating must not be near heat sources, flammable or explosive products (at least 2 meters away).
- The appliance must be 1m from the walls.
- The appliance requires a valid LPG hose (label on the hose) and a butane regulator suitable for the type ofgas. If accessories are not supplied with the unit, consult your local gas supplier.
- It is recommended not to use the appliance in rooms with a volume of less than 15m3 or 7 to 8m 2 of surface.
- Place the heater so that the heat is directed towards the center of the room. The front (radiation) of the appliance must be at least 2 meters from curtains, sofa, furniture or other objects that can ignite.
- Place the gas cylinder (LPG) in the compartment provided, pay attention to the hose: it must not be twisted, smothered or in contact with a hot part.
- Do not operate the appliance if the gas cylinder is not placed in its compartment.
- No part of the heater should be removed.
- Do not cover the heater with anything.
- Do not move the heater while it is in operation.
- Never leave the appliance unattended.
- The protective grill on this appliance is designed to prevent the risk of fire or injury from burning and no part must be disassembled permanently.
IT DOES NOT PROTECT TOTALLY YOUNG CHILDREN AND PEOPLE WITH REDUCED PHYSICAL, SENSOR AND MENTAL CAPABILITIES Keep these people away from the device when it is operating. - In the event of a gas leak, the auxiliary heater must be switched off and the gas cylinder valve closed by means of a wet mop / cloth.
- Never use a flame to check for gas leakage.
- Even if your gas cylinder appears to be empty, gas may remain. Transport and store the cylinder properly.
- The appliance must not be located immediately below a socket outlet.
- Do not use the heater in the immediate surroundings of a bath, a shower or a swimming pool.
- Do not use this heater with a programmer, timer or any other device that switches the heater on automatically, since a fire risk exists if the heater is covered or positioned incorrectly.
- This appliance should not be used by children younger than 8 years of age and by people with reduced physical, sensor and mental capabilities, as well as by people with insufficient experience and knowledge provided they are supervised or instructed in safe operation of the appliance and understand the related risk.
- Children should not be allowed to play with the appliance.
- Cleaning and user maintenance operations must not be carried out by children without supervision.
Warning: DO NOT COVER
This symbol on the top part of the heater warns the user that in order to avoid overheating and a fire hazard, DO NOT COVER the heater.
CAUTION: HOT SURFACE ! DO NOT TOUCH!
This symbol on the device warns the user that in order to avoid burning or scalding to the user this part of the heater must NOT be touched when it is in operation.
HEATER SET-UP:
- After the heater has been removed from its package, remove the back panel from inside the back cavity.
- Place the filled gas cylinder into the back of the heater with the valve outlet facing outwards.
- Screw the correct regulator onto the outlet of the gas cylinder valve clockwise. Turn by hand only. Do not use a spanner. Screw on until the nut is fully home.
- IMPORTANT TEST for leaks:
This must be carried out in a well-ventilated area, free from any open flames or other sources of ignition. With the regulator connected to the cylinder, turn on the gas cylinder valve 1 and 1/2 turns anti-clockwise. Brush all hose connections, pipe connections to the gas valve, regulator connection to the cylinder and gas cylinder valve with a 50:50 solution of detergent and water. A stream of bubbles forming is an indication of a leak. If a leak is found, turn off the cylinder valve (clockwise), disconnect the regulator from the gas cylinder and remove the gas cylinder to a cool, outdoor well-ventilated area. Contact your dealer or gas supplier for assistance.
DO NOT USE THE HEATER IF A LEAK IS FOUND.
DO NOT USE A NAKED FLAME FOR LEAK TESTING.
DO NOT OPERATE ANY ELECTRICAL EQUIPMENT IN THE PRESENCE OF A GAS LEAK. - After leak-testing is satisfactorily carried out, fit the rear panel onto the heater. It may be necessary to twist the cylinder slightly to allow the regulator and hose to fit inside the back panel without kinking the hose.
Note: The heater incorporates several safety devices that will shut down the heater in unsafe conditions. In case of accidental flame failure, the gas heater will shut down automatically. These device will turn off the heater if it is tipped over, if this activated. Set the heater upright, check for obvious damage and again wait 5-10 minutes before attempting to re-light the heater. This device may also operate if the heater is knocked against or bumped hard.
IN CASE OF GAS LEAK:
- Immediately close the cylinder valve if gas odor is detected.
- Extinguish any naked flame.
- Do not try again to turn on the unit.
- Do not touch any electrical switch.
- Do not use a telephone in your apartment / house.
- Contact the gas supplier or our after-sales service or our dealer and follow their instructions.
TECHNICAL SPECIFICATIONS:
Brand: JOCEL
Model: JAG007353
Gas: LPG (Liquid Petroleum Gas G 30
Gas pressure: 28 to 30 mbar
Category: 13 +
Nominal flow (Max): 3,5 kW- 255g/h
Minimum flow rate: 1,75 kW- 127g/h
2 injectors with a diameter of 0.66 mm
Ignition: piezo – electric
Safety device (ODS): 1112A
Gas Cylinder: 15 kg (Max)
INSTRUCTIONS FOR INSTALLATION:
- Remove the appliance from its packaging.
- Mount the different parts of the appliance according to the illustrations in the appendix.
- Assemble the individual panels with the supplied screws.
- Set the control knob to the (
) or OFF position. - Fit the gas hose with the appliance connection and tighten with a clamp.
- Use a regulator with a fixed setting of 28 to 30 mbar and a flow rate of 1000 to 1500 g / h.
- Fit the other end of the special gas hose to the regulator outlet and tighten with a collar. The hose must have a length of 0.50 to 1.00 mtr.
- Fit the regulator on the gas cylinder (15 kg) and tighten it properly.
- Open the cylinder valve and check the seal with soapy water.
Heater Operating instructions:
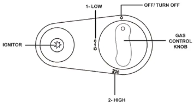
- The heater can be regulated to two different settings: 1-LOW and 2-I-HGH. Ignition mode: piezo ignition.
- Open the valve on the heater cylinder 1 and 1/2 turns.
- Press down and turn the control knob to 1-LOW position and hold for 10 seconds.
- While still pressing down the pilot light, press once or twice on the ignition button until the pilot light (at the bottom of the burner) ignites. Continue to hold the control knob down for 10-15 seconds more. Release the button, and if the pilot flame goes out, repeat the above operation.

Note: when lighting a new heater for the first time, it might be necessary to hold the control knob down for longer time in order to allow gas to flow to the pilot. Once the heater in on at the 1-LOW setting, turning the control knob to 2- HIGH position.
To turn off the heater, turn back the control knob to the OFF position and close the cylinder valve fully (clockwise). The heater can only be turned off by closing the cylinder valve. It can not be turned off by the control knob.
REPLACING THE GAS CYLINDER:
Turn off the cylinder valve fully (clockwise) and allow the heater to fully cool before removing and replacing the cylinder. Do not attempt to remove the regulator while the heater is still running.
PLACE OF GAS HEATING:
- This heater is designed to be placed on the floor and away from the walls. When using the heater, always point it in the direction of the center of the room. Clear all combustible materials from the vicinity of the heater.
- The appliance must be 0.5 meters away from the walls.
- The front of the unit must be clear of a minimum of 2 meters.

REPLACING THE GAS CYLINDER:
- Replacing the gas cylinder must be done in a non-flammable, well-ventilated room. The appliance is stopped.
- Close the cylinder valve.
- Disconnect and remove the regulator from the cylinder.
- Replace the empty cylinder with a full gas cylinder, checking that the seal is in good condition and that the hose is in good condition and is not bent or crushed or in contact with the hot surfaces of the unit.
- Gently open the cylinder valve and check for leaks (no leakage) with soapy water.
- In the event of leakage (bubbles) close the cylinder valve and eliminate leaks; If not call a qualified technician.
VENTILATION:
Your gas heater consumes oxygen when in operation. For this reason, adequate ventilation must be provided in the room where it is used. This ensures the elimination of the products of combustion and allows a renewal of the air. Proper ventilation should greatly reduce the risk of condensation. The table below shows you the proper ventilation so that the air is renewed properly.
IN THE CASE OF PROBLEMS:
The 3 most common problems associated with any gas heaters are gas leaks, gas pressure, as well as dirt.
- Check for leaks: The origin of the leakage may originate from transport or installation. A solution of soap and water buffered on the fittings will cause bubbles if gas leaks are present.
- Poor gas pressure: Too much gas pressure can seriously damage your appliance. Little pressure does not allow your device to function properly. If the installer cannot verify the gas pressure, consult your gas dealer.
- Dust and dirt: This heating requires a little maintenance. If the spark does not stay on or if one part is not as bright as the other, your heater probably needs a good cleaning. Disassembly of the thermocouple or pilot is prohibited. If necessary, please contact our after-sales service.
TECHNICAL ASSISTANCE BEFORE CALLING FOR FURTHER HELP
The heater doesn’t light:
- Check the gas cylinder to make sure that it is full.
- Check the regulator to make sure that it is properly attached and the cylinder valve is turned on.
- Check that the instructions have been followed correctly.
If this happens after the cylinder has been changed it would be due to:
- Air in the cylinder. Hold the control knob down for a longer period of time until the pilot and main burner light. Switch to the 2-HIGH setting.
- The cylinder may have been excessively cold. Allow the cylinder to reach room temperature before attempting to start the heater.
The heater turns off by itself:
- If the heater goes out on continuous working, repeat the operation, following the instructions faithfully.
- If it goes out soon after 30 minutes or so, it means that it is been used in a badly ventilated area. Open a window or a door to ventilate the area and reignite.
- Avoid bumping the heater in operation. Don’t move the heater while is been used. The tip-over switch may be activated and turn the heater off.
MAINTENANCE AND CLEANING:
- Before maintenance and cleaning, gas heater supply must be turned off, the heater should be cold. Don’t attempt to clean the heater while it is in use.
- The heater should be checked annually by a qualified technician for safe operation and in order to detect any faults.
- In case any faults are detected while in use, stop using the heater and contact your dealer for advice.
- Periodically clean the exterior and storage area of your heater to remove dust and fuzz build upon the surfaces of the ceramic components.
- Do not use abrasive products to clean the heater.
- Check the pilot light while it is operating. It should burn steadily. If it flickers or there is a yellow flame, the heater should be checked to make sure it is properly functioning.
- In case any parts need replacement, they must be replaced only with parts from the original manufacturer. The use of incorrect or substitute parts might be dangerous and will void any warranty.
When the heater is not in use, we recommend that it is covered, or kept in its carton to minimize the accumulation of dirt that may occur.
STORAGE:
If you decide not to use the heater for an extended period of time please follow the instructions below:
- Close the cylinder valve and turn off the regulator from the cylinder.
- Store the cylinder in a well-ventilated room away from flammable or explosive materials and preferably outside your home. Never store cylinders in a cellar or attic.
- The heater must be stored in a dry place and protected from dust (even better, store it in its original packaging).
ASSEMBLY DIAGRAMS:
- REMOVE THE HEATER FROM THE PACKAGE, PICK UP THE TOOL BOX AND BACK PANEL,

- LEFT SIDE AND RIGHT SIDE PANEL TURN OUTSIDE, AT A 10 DEGREE ANGLE, BOTTOM TURN INSIDE.


- LEFT SIDE, RIGHT SIDE PANEL AND BOTTOM AT A 90 DEGREE ANGLE

- MATCH THE POSITION, FASTEN THE LEFT SIDE PANEL, RIGHT SIDE PANEL AND BOTTOM PANEL.

- PUT THE UPPER PANEL ON TOP OF THE HEATER, MATCH THE POSITION.

- PUSH THE UPPER PANEL, FASTEN THE LEFT, RIGHT SIDE PANEL AND FRONT PANEL.

- PICK UP THE SCREWS FROM THE TOOL BOX, FASTEN THE SCREWS(TOTAL 10PCS) FOLLOWING THE PICTURE. AND THE INSTALL THE BACK PANEL.
SCREW POSITION
- PICK UP THE CASTOR FROM THE TOOL BOX, FASTEN THE CASTOR (TOTAL 5PCS) FOLLOWING THE PICTURE
CASTOR POSITION
| Information requirements for gaseous/liquid fuel local space heaters | |||
| Model identifier(s): JAG007353 | |||
| Indirect heating functionality: NO | |||
| Direct heat output: 3.5 (kW) | |||
| Indirect heat output: NA | |||
| Fuel | Space heating emissions (*) | ||
| NOx | |||
| 13+(28-30/37) | gaseous | 28-30/37 mbar | (mg/kWh input) (GCV) |
| item | Symbol | Value | Unit | item | Symbol | Value | Unit | |
| Heat output | Useful efficiency | |||||||
| Nominal heat output | el max | 3,5 | kW | Useful efficiency at nominal heat output | η (nom) | 100 | % | |
| Minimum heat output | el min | NA | kW | Useful efficiency at minimum heat output | η (min) | N/A | % | |
| el SB | ||||||||
| Auxiliary electricity consumption | Type of heat output/room temperature control | |||||||
| at nominal heat output | el max | 0 | kW | single stage heat output, no room temperature control | NO | |||
| at minimum heat output | el min | 0 | kW | two or more manual stages, no room temperature control | YES | |||
| In standby mode | el SB | 0 | kW | with mechanic thermostat room temperature control | NO | |||
| with electronic room temperature control plus day timer | NO | |||||||
| with electronic room temperature control plus week timer | NO | |||||||
| Other control options (multiple selections possible) | ||||||||
| room temperature control, with presence detection | NO | |||||||
| room temperature control, with open window detection | NO | |||||||
| with distance control option | NO | |||||||
| Permanent pilot flame power requirement | ||||||||
| Pilot flame power requirement (if applicable) | P pilot | 0,17 | kW | |||||
| CONTACT DETAILS | Rua dos 5 Caminhos, n°516 14780.382 Argemil Santo Tirso | Porto, Portuga | Tel:252910350 | |||||||
(*)NOx= Nitrogen Oxides
GENERAL WARRANTY TERMS
- The warranty is valid only on presentation of invoice of purchase.
- This WARRANTY is limited exclusively to parts substitution ineffective due to faulty manufacture, made in our workshops.
- The elimination of several faults of the scope of the guarantee is made for repair or replacement of defective parts, according to the discretion of our technical services. Defective parts are our property.
- Are not covered under warranty damage caused by transportation, neglect or poor use, improper assembly or installation, as well as external influences such as: lightning strikes or power, flooding, humidity, etc.
- Lose warranty, all appliances that are not being used according to the instructions, or connected to FEEDING NETWORKS not guarantee a constant voltage of 220/240V.
- The warranty does not cover damages for personal injury or damage caused directly or indirectly in any capacity whatsoever.
- This warranty terminates when it is found to have been undergoing repairs, alterations or interventions by any person not authorized by Jocel.
THE WARRANTY EXPIRES
- If the appliance has not been installed by an Accredited Technician.
- Exceeded the period of 2 years for home appliances and 06 months for industrial appliances, warranty expires and assistance will be made by charging the costs of manpower, according to current fees
- With the modification or disappearance of the nameplate of the appliance.
TECHNICAL ASSISTANCE
For technical assistance request, our services are available through the following contacts:
Telef. 00 351 252 910351
Fax: 00 351 252 910367
E-mail: [email protected]
http://www.jocel.pt
SEDE:
Rua Dos 5 Caminhos, n°516
4780 – 382 Argemil. Santo Tirso
Porto. Portugal
Telef: 252 910 350
email: [email protected]
http://wwwjocel.pt
DECLARATION OF CONFORMITY

We declare on our own responsibility that the machine indicated below:
Product BLUE FLAME GAS HEATER
Brand JOCEL
Model JAG007353
Complies with the following European directive and standards implementation:
Gas Heaters
2016/426 UE
2011/65 UE
2015/1188 UE
2015/1186 UE
EN 449:20002 + A1:2007
EN 62321.1:2013






























