Gasmate FH209ODS Deluxe Stainless Steel Flame Heater Instruction Manual
FOR YOUR SAFETY
If you smell gas:
- Shut off the gas to the appliance.
- Extinguish any open flame.
- If odour continues, immediately call your gas supplier
Do not store or use gasoline or other flammable vapour and liquids in the vicinity of this or any other appliance
WARNING
Improper installation, adjustment, alteration, service or maintenance can cause injury or property damage. Read the instructions thoroughly before installing or servicing this equipment.
FOR OUTDOOR USE ONLY
PROPANE GAS
- The ideal solution for extending the season of outdoor entertaining
- Push button electronic ignition
- Includes a safety ‘tip-over’ switch that halts supply of gas to the unit should it be accidentally knocked over
- Oxygen depletion system for enhanced safety
- Complete with hose and POL regulator
- Efficient and powerful 33MJ/h output
- Adjustable heat output
- Operates for approximately 14 hours on a properly filled 9Kg Propane cylinder
- For outdoor use only
- Gas certified to Australian standards
Important: Retain these instructions for future use
INSTALLATION, OPERATION & MAINTENANCE INSTRUCTIONS
IMPORTANT SAFETY RULES
This appliance must only be used in a well ventilated area
- This appliance shall not be installed or used indoors, in buildings, garages or any other enclosed area.
- DO NOT place articles on or against this appliance.
- DO NOT use or store flammable materials near this appliance.
- Children and adults should be alerted to the hazards of high surface temperatures, burns and clothing ignition.
- Children should be carefully supervised when they are in the area of the appliance.
- NEVER hang anything including clothes or other flammable items on the appliance.
- DO NOT operate this appliance unless it is fully assembled with burner guard in place.
- DO NOT SPRAY AEROSOLS IN THE VICINITY OF THIS APPLIANCE WHILE IT IS IN OPERATION.
- Installation and repair should be done by a qualified service person. The appliance must be inspected before use and at least annually by a qualified service person. More frequent cleaning may be required as necessary. It is imperative that control compartment, burners and circulating air passages of the heater and light be kept clean.
Prior to assembling your appliance, the following must be reviewed. Compliance with the following should result in satisfactory heater operation. This instruction manual should be retained for future reference. The installation must conform with local codes or authority having jurisdiction
- The appliance is intended for heating residential and non-residential outdoor spaces. The installation must conform with local codes or, in the absence of local codes, with the Australian Standard AS 5601.
- Adequate clearance around air openings into the combustion chamber, clearances from combustible materials, provisions for accessibility and for combustion and ventilating air supply must be maintained at all times when the appliance is operating.
- Proper clearance from combustible materials must be maintained at all times. The minimum clearances are as follows.
Minimum Clearance from Combustibles
Side 650 mm
Rear 650 mm
Ceiling 800 mm
Combustible materials are considered to be wood, compressed paper, plant fibres, plastic, plexiglas or other materials capable of being ignited and burned.
Such materials shall be considered combustible even though flame proofed, fire-retardant treated or plastered. Additional clearance may be required for glass, painted surfaces and other materials which may be damaged by radiant or convection heat - Heaters must be placed on a level and adequate footing and be readily accessible.
- The gas manifold supply pressure must be regulated at 2.75 kPa utilizing an AGA approved regulator (supplied with heater).
- The appliance must be inspected before each use, and at least annually by a qualified service person.
a. The appliance area must be kept clear and free of combustible materials, gasoline and other flammable vapours and liquids.
b. Gas orifices and burner must be kept clear of dirt and cobwebs. Flow of combustion and ventilation air through the perforated portions of the heater must not be obstructed. Cleaning with a soft brush before use and at least every six months is recommended.
c. After assembly and before use all gas connections should be checked for leaks utilizing a soap solution. NEVER use a flame for this purpose. The flame should be visually checked whenever heater is operated. If flames extend beyond surface of the chimney or black spot is accumulating on the burner or glass, the heater should be turned off immediately. The heater should not be operated again until the unit is serviced and or repaired.
e. Any cleaning agent used on the appliance should be of a non-combustible and non-corrosive nature. - The hose assembly should be properly located out of pathways where people may trip over it. The hose must be protected from contact with hot or sharp surfaces both during use and while in storage. The hose assembly should be visually inspected prior to each use of the heater. If excessive abrasion or wear is evident, or the hose is cut, it must be replaced prior to operating the heater. The replacement hose assembly may be obtained from the manufacturer.
- DO NOT use any pressure regulator or hose assembly other than those supplied with the appliance. Replacement pressure regulator and hose assembly must be those specified. Replacement parts may be obtained from the manufacturer or your local sales representative.
- Installation and use of this appliance must conform with local codes or, in the absence of local codes, with the Standards of Storage and Handling of Liquefied Petroleum Gases.
- This appliance is designed to operate with a standard 9Kg propane cylinder with Approved Cylinder Connection.
- The valve outlet must be maintained in good condition. When the cylinder is not in use, be sure to cover it with a dust cap. A leak test should be performed with soapy water whenever connecting a new cylinder. NEVER use a match to test for leaks.
- The propane cylinder must be turned off whenever the heater is not in use. When the heater is to be stored indoors, the propane cylinder and the heater must be disconnected and the cylinder stored in accordance with the Standard for Storage and Handling of Liquefied Gases. (i.e.: Not indoors, but in a dry and well ventilated area.)
- The heater has been designed with several safety features which include a tip over switch.
Any modification to the heater not described in the installation instructions may compromise the safety of this appliance. Special concern is as follows:
DO NOT bypass thermocouple safety;
Clothing or other flammable materials should not be hung from the heater, or placed on or near the heater. The area above may be extremely hot. Direct contact with these metal surfaces should be avoided in order to prevent burns or clothing ignition.
POL CYLINDER CONNECTION DEVICE

Screw the coupling nut of regulator into the cylinder valve outlet.
- Type of Gas: Propane
- Consumption: 33 MJ/h
- Operating Pressure: 2.75 kPa
- Injector Size: 1.6 mm
Heater specifications can be found on the data label.
PARTS LIST


ASSEMBLY INSTRUCTIONS
Note: Remove any transit protection material. Tools required: Phillips head screw driver and 2 adjustable spanners.
STEP 1
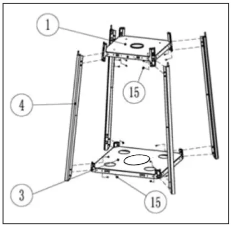
The lower support leg has a rubber foot at the bottom. Remove the five screws from each leg, using them to attach the bottom panel and middle plate from the inside.
Ensure the magnets on the side of the middle plate are aligned with the ‘T’ shaped holes on the side of the bottom panel.

STEP 2
Remove the screws from each of the upper support posts, using them to attach to the middle plate from the inside.
Remove the screws from the radiant head, using them to attach it to the upper posts from the outside.

STEP 3
Attach the control box to the underside of the middle plate with the controls facing the magnets, using 4 screws from underneath.
Unscrew and remove the igniter cap, insert a ‘AA’ battery with the + facing outwards, then re-attach the cap

STEP 4
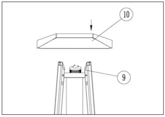
Ensure direction of middle fitted o ring on glass tube is as per image.
Push glass tube into top radiant head. Fit bottom o ring to glass tube.
Lower glass tube with bottom o ring into burner box. Slide middle fitted o ring down to gap between glass tube and middle plate as per image.


STEP 5
Attach the reflector to the studs on the radiant head using the washers and wing nuts supplied.

STEP 6
Attach the side and back panels using the 4 screws supplied per panel.

STEP 7
Attach the guards by aligning the hooks with the slots in the upper support posts and secure at the top with the bracket and screw supplied.

STEP 8
Attach the knob to the outside top of the door panel with the chain on the inside. The bent tabs at the bottom are positioned into the ‘T’ shaped holes in the bottom panel and held at the top with magnets.

OUTDOOR FLAME HEATER – FOR OUTDOOR USE ONLY
Minimum Clearance from Combustible Surfaces*:

Combustible materials are considered to be wood, compressed paper, plant fibres, plastic or other materials that are capable of being ignited and burned.
OPERATION
Connect hose POL to cylinder and leak test before use


LIGHTING INSTRUCTIONS
STEP 1
Ensure that the control knob is OFF. Slowly open the gas cylinder valve.
STEP 2
Press and turn the control knob to LIGHT position, push the igniter to generate spark while keeping control knob pressed in.
STEP 3
Check for the pilot flame through glass tube. If pilot does not light, turn control knob to OFF position, wait two minutes minimum and try again. Several attempts may be necessary.
STEP 4
If the pilots alight, keep the control knob pressed for 15 seconds then turn the control knob to LOW.
STEP 5
For maximum heat turn control knob to HIGH.
STEP 6
To turn heater off, turn the control knob to OFF.
STEP 7
Close the valve of the gas cylinder clockwise to OFF after use.

WARNING
- Never use the heater while it is raining, the glass tube will break.
- The glass tube will be extremely hot when operating, never try to touch it and keep children away from the heater.
- Always ensure the heater is seated firmly, the glass tube may break if the heater falls.
- Never use the heater if the glass tube has any crack or damage.
- THE GUARD IS FITTED TO THIS APPLIANCE TO REDUCE THE RISK OF FIRE OR INJURY FROM BURNS AND NO PART OF IT SHOULD BE REMOVED.
- ANY GUARD OR OTHER PROTECTIVE DEVICE REMOVED FOR SERVICING THE APPLIANCE MUST BE REPLACED PRIOR TO OPERATING THE APPLIANCE.
TROUBLE SHOOTING
| Problem | Possible Causes | Solution |
| Main burner will not light | Gas valve may be OFF | Turn the gas valve ON |
| LPG cylinder empty | Refill LPG cylinder | |
| Orifice blocked | Clean or replace orifice | |
| Air in supply system | Purge air from lines | |
| Loose connection | Check all fittings | |
| Pilot will not stay on | Debris around pilot | Clean dirty area |
| Loose connection | Check all fittings | |
| Thermocouple faulty | Replace thermocouple | |
| Gas leak in line | Check connections | |
| Lack of gas pressure | LPG cylinder Is near empty | |
| Gas pressure is low | LPG cylinder Is near empty | |
| Orifice blocked | Remove, clean and replace | |
| Control knob not ON | Turn knob to ON | |
| Thermocouple faulty | Replace thermocouple | |
| Pilot light assembly bent or not in correct location | Place pilot light in correct position and retry |
Note: Any repairs to the heater must be carried out by a qualified person or service agent.
SAFE APPLIANCE LOCATIONS
This appliance shall only be used in an above ground open-air situation with natural ventilation, without stagnant areas, where gas leakage and products of combustion are rapidly dispersed by wind and natural convection.
Any enclosure in which the appliance is used shall comply with one of the following:
An enclosure with walls on all sides, but at least one permanent opening at ground level and no overhead cover (see Example 1). Within a partial enclosure that includes an overhead cover and no more than two walls (see Example 2 & 3).
Within a partial enclosure that includes an overhead cover and more than two walls, the following will apply:
At least 25% of the total wall area is completely open, and
At least 30% of the remaining wall area is open and unrestricted (see Example 4 & 5).
In the case of balconies, at least 20% of the total wall area shall be and remain open and unrestricted.
The following figures are diagrammatical representations of outdoor areas. Rectangular areas have been used in these figures – the same principles apply to any other shaped area.

Outdoor Area- Example 1

Outdoor Area- Example 2

Outdoor Area- Example 3

Outdoor Area- Example 4

Outdoor Area- Example 5
Customer Support
For any queries or assistance call
Customer Service
Australia Only
1300 174 876
Hours of operation: Monday to Friday 8am – 5pm EST
Do not return to place of purchase.



















