SD50F SlideDriver II

SLIDEDRIVER II SNOW BRUSH AND SCRAPER
The Slidedriver II snow brush and scraper kits are designed to minimize ice and snow buildup along the drive rail of the gate operator. The kits can be ordered together or separately and come with all the necessary hardware and tools for installation.
Parts Included:
- Snow brushes and/or snow scrapers
Hardware Included:
- 1/4-20 x 3/4 hex head cap screw
- 1/4 in flat washer
- 1/4-20 lock nut
- 8-32 x 1/2 self-tapping screw
Tools Required:
- Phillips-head screwdriver
- Wrench
Installation Instructions: Snow Brushes
- Loosen the screws that secure the cover to the SlideDriver II chassis and remove the cover.
- Set the power switch to OFF.
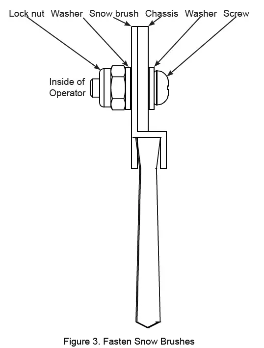
- Slide the snow brushes into place and secure them using the provided fasteners. The aluminum flange should be inside the operator.
- Set the power switch to ON.
- Test the gate operator.
- Carefully replace the cover and secure it to the chassis.
Installation Instructions: Snow Scrapers
- Follow steps 1 through 3 of the snow brush installation instructions.
- Take note of the orientation of the right and left snow scrapers. Slide the brackets into place and adjust them so the scraper rests about 1/8 in above the drive rail. Secure the bracket using the provided fasteners.
- Install the snow scraper blades on top of the snow scraper brackets with the self-tapping screws.
- Follow steps 4 through 6 of the snow brush installation instructions.
The snow brush and snow scraper kits help keep ice and snow buildup at a minimum along the drive rail of the SlideDriver II gate operators.
Note: The snow brush and snow scraper kits can be ordered together or separately. These instructions explain the installation process for both.
PARTS
- Snow brushes and/or snow scrapers
HARDWARE
- 1/4-20 x 3/4 hex head cap screw
- 1/4 in flat washer
- 1/4-20 lock nut
- 8-32 x 1/2 self-tapping screw
TOOLS
- Phillips-head screwdriver
- Wrench

INSTALL THE SNOW BRUSHES
- Loosen the screws that secure the cover to the SlideDriver II chassis and remove the cover.
- Set the power switch to OFF.
- Slide the snow brushes into place and secure them using the fasteners provided. The aluminum flange should be inside the operator (Figure 3 and Figure 6).
- Set the power switch to ON.
- Test the gate operator.
Carefully replace the cover and secure it to the chassis.


INSTALL THE SNOW SCRAPERS
- Follow steps 1 through 3 of Install the Snow Brushes.
- Take note of the orientation of the right and left snow scrapers. Slide the brackets into place and adjust them so the scraper rests about 1/8 in above the drive rail. Secure the bracket using the fasteners provided (Figure 4 and Figure 6).
- Install the snow scraper blades on top of the snow scraper brackets with the self-tapping screws (Figure 5).
- Follow steps 4 through 6 of Install the Snow Brushes.




















