HAMPTON BAY KADRTA21 Pull Out Drawer Installation Guide
TOOLS REQUIRED

- TOOLS NOT INCLUDED
PARTS LIST

OUTSIDE VIEW VISTA EXTERIOR
OUTSIDE VIEW VISTA EXTERIOR
INSIDE VIEW VISTA INTERIOR
DRAWER GLIDE CASE MEMBERS (CM)
INSIDE VIEW VISTA INTERIOR
DRAWER BOTTOM (DB)
In this step you will need the (DSR), 2x (DE), 4x (WD) and 2x (S7) wood screws. Insert one (WD) into the lower holes on both ends of each (DE). Make sure the (DE) groove is on the inside, insert the (WD) dowel into the lower hole on the (DSR) and firmly press together, then insert the (S7) screw into the top hole of the (DSR) and screw in the (S7) screw. Repeat this for both (DE).
DO NOT OVERTIGHTEN SCREWS
NO APRETAR DEMASIADO LOS TORNILLOS
Insert Drawer Bottom wood grain side up.
Take (DSL) and align inside dowel holes with the (DE) dowels and firmly press together while making sure the (DB) is inserted into the lower groove. Use the two (S7) screws and screw them into the top holes on both ends of the (DSL).
DO NOT OVERTIGHTEN SCREWS
NO APRETAR DEMASIADO LOS TORNILLOS
The fully assembled drawer should look like this.
HOLE LOCATION AND DRILLING GUIDE
Use the template to mark all of the desired locations for holes, then drill with a 10mm bit (preferred) or 3/8” drill bit to drill your holes.
TOOLS REQUIRED HERRAMIENTAS NECESARIAS
Align with back and bottom edge of cabinet Alina con la parte posterior y bored inferior del cabinet
Base Cabinet Cabinet de base
Pantry
Mark holes as you go
Drill holes after marking using the preferred bit size
Choose the upper or lower position of the pull-out drawer. Remove the plastic dowel and screw from each glide with pliers and screwdriver, and discard.
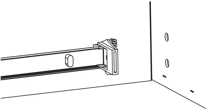
Insert the glides into the holes on the cabinet back pane
Place the front of the glides and spacers against the cabinet face frame. Ensure the glides are level and drill 1/8” diameter pilot holes into the face frame.
![]()
Attach the glides to the face frame with the spacers and screws provided.
DO NOT OVERTIGHTEN SCREWS
Prepare the cabinet glides by moving the ball bearing cages to the front and pushing the rear of the glides towards the center of the cabinet.
Insert the drawer box. Ensure that the drawer box glide members slide through the plastic guide at the front of the cabinet member on each side.
NOTE: Drawer should install smoothly but there may be minor resistance when the drawer is approximately half to two-thirds installed. This is normal, and the drawer should push through this smoothly to seat properly.
DRAWER REMOVAL
Press release levers in opposite directions while pulling drawer out of the cabinet.
Important health notice: Some of the building materials used in this home (or these building materials) emit formaldehyde. Eye, nose, and throat irritation, headache, nausea and a variety of asthma like symptoms, including shortness of breath, have been reported as a result of formaldehyde exposure. Elderly persons and young children, as well as anyone with a history of asthma, allergies, or lung problems, may be at greater risk. Research is continuing on the possible long-term effects of exposure to formaldehyde. Reduced ventilation may allow formaldehyde and other contaminants to accumulate in the indoor air. High indoor temperatures and humidity raise formaldehyde levels. When a home is to be located in areas subject to extreme summer temperatures, an air-conditioning system can be used to control indoor temperature levels. Other means of controlled mechanical ventilation can be used to reduce levels of formaldehyde and other indoor air contaminants. If you have any questions regarding the health effects of formaldehyde, consult your doctor or local health department.
WARNING: This product can expose you to chemicals including formaldehyde which is known to the State of California to cause cancer,
The fastening solutions described here are recommendations only, and are based on commonly
used installations. Each installer must evaluate the specific characteristics of the particular wall on which the cabinets are to be installed to ensure the proper fastening solution is used and the product is fastened safely and securely. This may require hardware or fastening methods which are different from, or additional to, what is described here. AWC DOES NOT WARRANT THE INSTALLATION OF THIS PRODUCT.
Do you have a question about this product? Do you have damaged or missing parts or need installation advice? DO NOT RETURN the
product to the store. We’re here to help.
![]() | Do you have a question about this product? Do you have damaged or missing parts or need installation advice? DO NOT RETURN the product to the store. We’re here to help. |
| Call us at/Llamenos al: 1-888-578-4009 Email us at/Envíanos un email a: [email protected] from Mon-Fri EST/de Lunes a Viernes Hora del Este: 8AM-7PM EST | Reviews are important to us. If you are happy with this product, please leave us a 5-star review. |
Reviews are important to us. If you are happy with this product, please leave us a 5-star review.
AMERICAN WOODMARK CORPORATION LIMITED WARRANTY
This warranty covers defects in materials and workmanship in your American Wood mark Kitchen cabinets under normal home use. This warranty is offered only to the original residential consumer purchaser (“the Consumer”) and may not be transferred.
What This Warranty Covers: American Woodmark Corporation (“AWC”), the manufacturer of this kitchen cabinetry, warrants its parts and products to be free of defects in materials and workmanship from the original date of purchase under normal home use. This warranty is offered to the original residential consumer purchaser only and may not be transferred.
How Long The Warranty Lasts: The coverage of this warranty lasts for the lifetime of the original purchaser, so long as he or she owns the home in which the product was first installed. Coverage for unfinished kitchen cabinets lasts 1 year.
Warrantor: American Woodmark Corporation, 561 Shady Elm Road, Winchester, VA 22602 (800) 230-5661
What American Woodmark Will Do Under The Warranty: During the warranty period, AWC, at its option, will repair or replace any part or product that proves to have substantial defects in materials or workmanship, or AWC will provide an equivalent replacement product, at no cost to the Consumer. AWC reserves the right to change specifications in design and materials without notice and with no obligation to retrofit products we previously manufactured.
Duties of the Consumer: If you purchased American Woodmark cabinetry and need a replacement part or would like to file a warranty claim, IMMEDIATELY NOTIFY AWC BY E-MAIL ([email protected] ) OR TELEPHONE (888-578-2009) OF THE ISSUE. You must provide a copy of the original sales receipt from your purchase.
Hand Carving, Wood, Aging And Printing Limitations: Because of the varying natural characteristics of wood and the effects of aging, product shown in displays and/or printed materials will not be an exact match to new cabinetry you will receive. Depending on the wood characteristics, the age of a sample and the environment of the showroom, samples will show some degree of variation from new product. In addition, you should not expect all doors, drawer fronts, trim or molding to match exactly in either finish or grain. Variation in wood is normal and unavoidable. In addition, it is not possible to match our colors exactly in printed materials. Therefore, you should view the actual samples when making your color selection. Slight variation in size and design is also characteristic of individually hand-carved items. This variation can occur from carving to carving, which only adds to their uniqueness and beauty.
Limitations and Exclusions: This warranty does not cover defects or damage which result from commercial use, improper transportation, improper installation, use of unauthorized parts, mishandling, misuse, abuse, neglect, abnormal use, improper maintenance, non-AWC repairs, accidents, impact, or acts of God, such as hurricanes, fire, earthquakes or floods, normal wear and tear, alterations, environmental conditions, humidity absorption, or mold. This warranty, and any applicable implied warranties, does not cover incidental or consequential damages arising from any defects in the product, such as labor charges for installation or removal of the product or any associated products. In addition, variations in hand carved items, wood grain, finish color, aging or other natural wood and stain characteristics are not considered defects and are not covered by this warranty.
Disclaimers and Rights: AWC disclaims any implied warranty of
merchantability, and there are no express warranties other than those
set forth herein. ANY WARRANTY IMPLIED BY STATE LAW (WHETHER OF MERCHANTABILITY OR FITNESS FOR A PARTICULAR USE OR OTHERWISE) SHALL BE EFFECTIVE FOR ANY PRODUCT ONLY FOR THE DURATION OF THE APPLICABLE LIMITED WARRANTY PERIOD LISTED ABOVE. SOME STATES DO NOT ALLOW THE EXCLUSION OR LIMITATION OF INCIDENTAL OR CONSEQUENTIAL DAMAGES, SO THE ABOVE LIMITATION OR EXCLUSION MAY NOT APPLY TO YOU.
THIS WARRANTY GIVES YOU SPECIFIC LEGAL RIGHTS, AND YOU MAY ALSO HAVE OTHER RIGHTS THAT VARY FROM STATE TO STATE.
How to Obtain Warranty Service: If you need replacement parts or
would like to make a warranty claim, please contact our Customer Care
We have partnered with BILT™ to provide 3D interactive instructions for this product. Download the free BILT™ app to a mobile device and search “Wood mark”

EMAIL: [email protected]
TELEPHONE:U.S. Call (888) 578-4009
WEBSITE: www.AmericanWoodmark.com





















