HAMPTON BAY BTR18FH Pull-Out Trash Can Base Cabinet 
THANK YOU
We appreciate the trust and confidence you have placed in Hampton Bay through the purchase of this base cabinet. We strive to continually create quality products designed to enhance your home. Visit us online to see our full line of products available for your home improvement needs. Thank you for choosing Hampton Bay!
Safety Information
Please read and understand these instructions before you begin this assembly.
CALIFORNIA RESIDENTS
WARNING: This product can expose you to chemicals including Formaldehyde (GAS), which is [are] known to the State of California to cause cancer. For more information go to WWW.P65Warnings.ca.gov/products.
MINNESOTA RESIDENTS
IMPORTANT HEALTH NOTICE
SOME OF THE BUILDING MATERIALS USED IN THIS HOME (OR THESE BUILDING MATERIALS) EMIT FORMALDEHYDE. EYE, NOSE, AND THROAT IRRITATION, HEADACHE, NAUSEA AND A VARIETY OF ASTHMA-LIKE SYMPTOMS, INCLUDING SHORTNESS OF BREATH, HAVE BEEN REPORTED AS A RESULT OF FORMALDEHYDE EXPOSURE. ELDERLY PERSONS AND YOUNG CHILDREN, AS WELL AS ANYONE WITH A HISTORY OF ASTHMA, ALLERGIES, OR LUNG PROBLEMS, MAY BE AT GREATER RISK. RESEARCH IS CONTINUING ON THE POSSIBLE LONG-TERM EFFECTS OF EXPOSURE TO FORMALDEHYDE.
REDUCED VENTILATION MAY ALLOW FORMALDEHYDE AND OTHER CONTAMINANTS TO ACCUMULATE IN THE INDOOR AIR. HIGH INDOOR TEMPERATURES AND HUMIDITY RAISE FORMALDEHYDE LEVELS. WHEN A HOME IS TO BE LOCATED IN AREAS SUBJECT TO EXTREME SUMMER TEMPERATURES, AN AIR-CONDITIONING SYSTEM CAN BE USED TO CONTROL INDOOR TEMPERATURE LEVELS. OTHER MEANS OF CONTROLLED MECHANICAL VENTILATION CAN BE USED TO REDUCE LEVELS OF FORMALDEHYDE AND OTHER INDOOR AIR CONTAMINANTS.
IF YOU HAVE ANY QUESTIONS REGARDING THE HEALTH EFFECTS OF FORMALDEHYDE, CONSULT YOUR DOCTOR OR LOCAL HEALTH DEPARTMENT.
Warranty
Contact the Customer Service Team at 1-855-HD-HAMPTON or visit www.HAMPTONBAY.com.
Pre-Assembly
BEFORE YOU BEGIN
Compare all parts with the Hardware Included and Package Contents sections. If any part is missing or damaged, do not assemble this product. Contact Customer Service.
Assemble the cabinet on a soft surface such as carpet or the cardboard container of this product.
TOOLS REQUIRED
HARDWARE INCLUDED
NOTE: Hardware not shown to actual size.
| Blister Pack | |||
| Part | Description | Total Quantity | Extras |
| AA | Posts | 17 | 1 |
| BB | #8 x 1 in. Screws (yellow) | 40 | 7 |
| CC | Corner Locks | 8 | 0 |
| DD | Silicone Pads | 14 | 12 |
| Drawer Glide Hardware | |||
| Part | Description | Total Quantity | Extras |
| EE | Drawer Glide Attachment | 2 | 0 |
| FF | Drawer Glides | 2 | 0 |
| GG | M4 x 15 mm Screws (silver) | 12 | 2 |
| HH | Drawer Glide Holders | 2 | 0 |
PACKAGE CONTENTS
| Part | Description | Quantity |
| A | Back Panel | 1 |
| B | Side Panels | 2 |
| C | Face Frame | 1 |
| D | Bottom Panel | 1 |
| E | Toe Kick | 1 |
| F | Drawer Front | 1 |
| G | Drawer Sides | 2 |
| H | Drawer Bottom | 1 |
| I | Drawer Back | 1 |
| J | Bin Holder | 1 |
Cabinet Assembly
Attaching the posts to the panels
- Align four posts (AA) with pre-drilled holes on each of the panels and frame (A – C) and secure with four screws (BB) on each panel and frame (A – C).

Installing the drawer glide holders to the back panel
- Install drawer glide holders (HH) to the back panel (A) by inserting the holders (HH) into holes in the back panel (A).
- Secure with two small screws (GG).

Attaching the side panels into the face frame
- Start by placing the face frame (C) flat on a smooth surface that will not scratch or damage the face of the cabinet, such as a towel or piece of cardboard (1) from the packaging with the door facing down. Slide the two side panels (B) into the mating grooves on the face frame (C).

Attaching the bottom panel
- Slide the bottom panel (D) into grooves in the sides.
- Snap four corner locks (CC) over the knobs to secure the face frame (C) and side panels (B) as shown. At the top of the cabinet, the smooth face of each corner lock (CC) should be facing out.
NOTE: If installing a laminate countertop, the smooth face of each corner lock (CC) should be facing the inside of the cabinet.
Attaching the back panel
- Assemble the back panel (A) and the four remaining corner locks (CC).

NOTE: If installing on a laminate countertop, orient the smooth face of each top corner lock (CC) in the opposite direction. Bottom corner lock assembly will be the same for all countertop types.
- If installing a laminate countertop, the top four corner locks (CC) should be oriented as shown below. From inside of the cabinet, screw through the corner locks (CC) into the bottom of the countertop to secure into place.

- For all other countertop types, the top four corner locks (CC) should look like this.

Securing the bottom corner locks
- Insert a screw (BB) through each hole in the bottom four corner locks (CC), and screw into the bottom panels.

Attaching the toe kick
- Slide the toe kick (E) into the grooves of the side panels (B) so that it sits flush with the bottom of the cabinet.
- Insert two screws (BB) into the pocket holes to secure the toe kick (E) to the sides.

Securing the back and side panels
- Insert screws (BB) into countersunk holes in the back (A) and side panels (B).
- Proceed to the Drawer Box Assembly section.

Drawer Box Assembly
Attaching the drawer sides
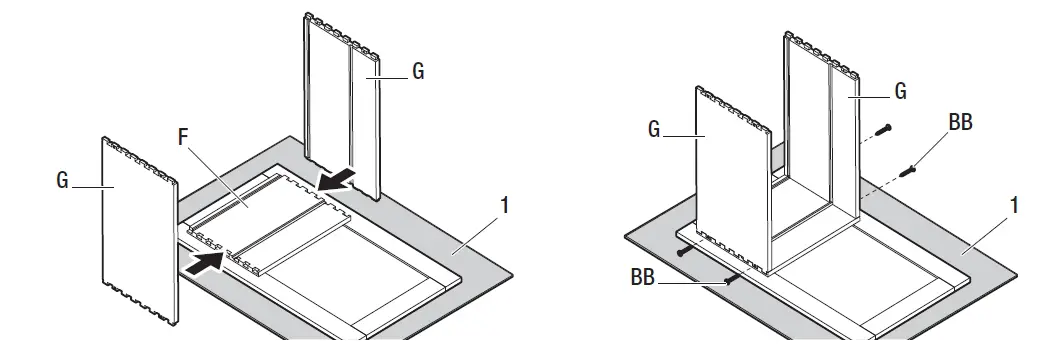
- Place the drawer front (F) face down on a smooth surface that will not scratch or damage the face of the drawer, such as a towel or piece of cardboard (1) from the packaging.
- Use a rubber mallet to tap the drawer sides (G) into place on the drawer front (F).
- Insert two screws (BB) into the countersunk holes on each side, and partially tighten.
NOTE: It is important that you only partially tighten the screws in order to avoid cracking.
Attaching the drawer bottom and bin holder
- Slide the drawer bottom (H) into the grooves on the sides of the drawer assembly.
- Slide the bin holder (J) into the upper grooves on the sides of the drawer assembly.

Attaching the drawer back
- Use a rubber mallet to tap the drawer back (I) into place. To fit the drawer back on, drawer sides will have to flex outwards slightly.
- Insert four more screws (BB) into the countersunk holes on each side. Fully tighten all eight screws.

Attaching the drawer glide attachments
- Install two drawer glide attachments (EE) to the drawer. Secure each attachment in place with the screws (GG) packaged with the drawer glide attachments (EE). Make sure each glide attachment (EE) is secured fully underneath each corner.

Attaching the drawer glides
- Install the drawer glides (FF) by sliding them into the drawer glide holders (HH). Pull the drawer glides (FF) out until the front reaches the face frame and secure with a screw (GG) though the pilot holes in the frace frame.
NOTE: Ensure the glides are screwed into the face frame using the pilot holes to ensure proper alignment.
Installing the drawer
- Ensure the drawer glides are pulled out/fully extended.
- Align the drawer with the glides and then click and slide into place. Additionally, the holes in the back of the drawer need to align with the metal prong, as shown.

(OPTIONAL) Adjusting the drawer front
- Drawer fronts can be adjusted by turning the knobs on drawer glide attachments. Drawer fronts can be moved left, right, up, and down on each side until they are level.
NOTE: Do not complete this step until the cabinet is fully installed.
Attaching silicone pads
- Peel and stick two silicone pads (DD) onto the top inside corners of the drawer. Do not place additional pads on the bottom portion.

Care and Cleaning
- For normal spills, a damp cloth is sufficient. Dry the surface immediately.
- Doors can be cleaned with most general-purpose household cleaners.
- Do not use caustic agents and/or abrasive scrubbers, or oven cleaners.
- Cabinets can be cleaned with a damp sponge or cloth using soapy water, or most general-purpose household cleaners. Do not use any abrasive cleaner or scrubbers.
- Do not allow liquids to remain on the surfaces for long periods of time.
Questions, problems, missing parts? Before returning to the store, call Hampton Bay Customer Service
8 a.m. – 7 p.m., EST, Monday – Friday, 9 a.m. – 6 p.m., EST, Saturday
1-855-HD-HAMPTON
HAMPTONBAY.COM
Retain this manual for future use.


































