HALCYON S215 10w Three Circuit Dimmable Track Spot Installation Guide
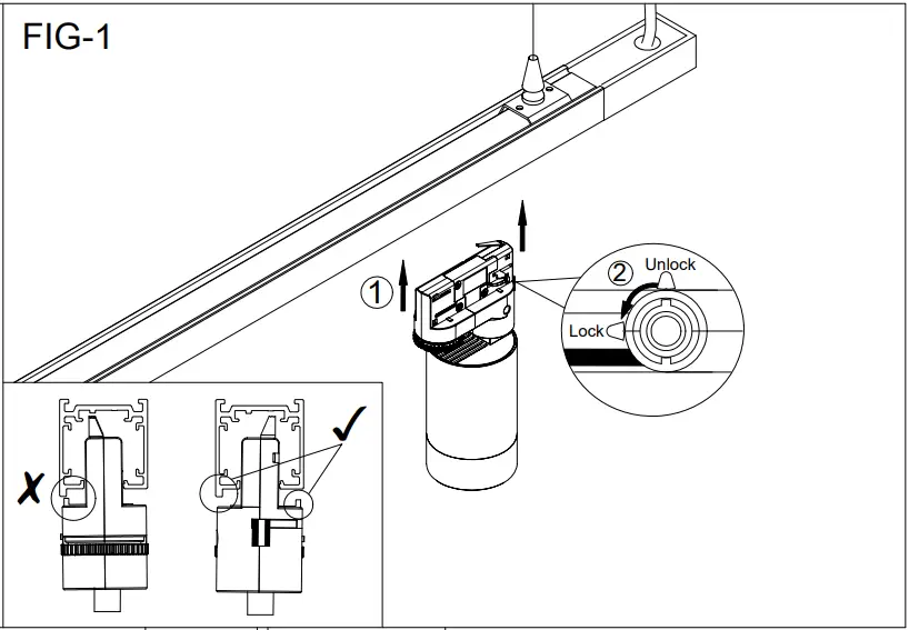
For indoor use only. Suitable for Halcyon 3 Circuit track. Testing is recommended to ensure compatibility prior to installation if retrofitting alternative manufacturer track. Take care track adaptor is orientated correctly when installing in track to avoid damage The raised linear lug on the plastic spot track adaptor should fit on the opposite side of the 3 circuit track raised linear guide to ensure the luminaire sits flat and connects to correct polarity and circuit. This luminaire must be installed by a qualified Registered Electrician to prevent damage to the luminaire and maintain electrical safety.
INSTALLATION INSTRUCTION



Removing Luminaires



















