
www.libec.co.jp
www.libec-global.com
Focus Demand for Canon/Fujinon Portable Lenses
FD-1
HEIWA SEIKI KOGYO CO., LTD.
Instruction Manual
FD-1 Focus Demand for Canon Fujinon Portable Lenses
Thank you for purchasing FD-1.
※ This product does not include cables for lenses.
Please purchase either DC-F20 or DC-F12, depending on the lens you use.
WARNING
This equipment is a precision product. It must be operated with great care and requires some basic mechanical knowledge/experience.
- FD-1 is not waterproof. Avoid having any contact with liquid or cleaner when using this product. Instead, use a soft dry cloth to clean the equipment.
- Do not use incompatible components. Please use this product as intended.
Caution
This operating manual may assist a user’s safety, legal rights, and responsibilities.
If not used in accordance with this manual, this equipment may cause harm to people.
- Operating procedures and cautions are written to prevent accidents.
For your safety, read and follow these instructions.
Please retain this manual for future references.
This product is designed with safety in mind. However, improper operations may cause injuries and/or damage to equipment. - Please read all the cautions and procedures before use.
- Please follow all the written cautions and instructions.
- The following cautions and procedures comply with laws, regulations, and industrial standards at the time this manual was made. Content may be updated to current laws, regulations, and industrial standards.
- When using this product, take precautions to avoid personal injury or damage to product. Users are fully responsible for all actions taken.
- Libec accepts no liability for any damage, injuries or legal responsibilities incurred directly or indirectly when using this product.
- Please follow manual instructions when inserting the connectors.
- Incorrectly attaching the connectors may cause a malfunction.
- Firmly tighten the lock knob clamp
If the lock is loose, the clamp might come off and cause damage to the FD-1 itself. - Do not pull out the cable forcefully
Pulling out the cable forcefully from the lens or the connector may cause damage to the lens and/or malfunction to the FD-1 itself. - Do not push or pull out each operation part excessively
Excessively pushing or pulling the zoom lever, buttons, switches may cause damage to the lens and/or malfunction to the FD-1 itself.


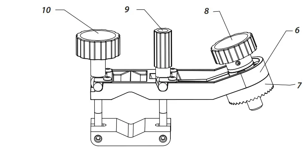
Names of Parts
| 1. Main Body 2. Focus Ring 3. Rod 4. Focus Ring Direction Switch 5. Lens Connector (6pin) | 6. Demand Holder 7. Serration 8. Knob 9. Clamp Small 10. Clamp Large |

How to Attach the Rod to the Focus Ring
- Firmly screw the rod into the holes of the focus ring.

How to Attach the Demand Holder
- Loosen the clamps (small and large).
- Attach the demand holder to the pan handle.
Then firmly tighten both the clamps to secure.

How to Attach the FD-1
- Fit the serration of the FD-1 to the serration of the demand holder. Then firmly tighten the knob to secure.

Connect the Cable
※ This product does not include cables for lenses.
Please purchase either DC-F20 or DC-F12, depending on the lens you use.
- For Canon lenses
Connect the DC-F20 cable (sold separately) to the FD-1 lens connector (6pin). - For Fujinon lenses
Connect the DC-F12 cable (sold separately) to the FD-1 lens connector (6pin).

How to Operate
Turn the focus ring for adjusting focus.
- Turn the focus ring clockwise for focusing on closer objects.
- Turn the focus ring counterclockwise for focusing on faraway objects.
- Focus Ring Direction Switch
To switch the focus direction, change the focus ring direction switch located at the back of the FD-1 - REVERSE)
Counterclockwise (Closer) – Clockwise (Farther) - NORMAL)
Counterclockwise (Farther) – Clockwise (Closer)

















