TYLO 2900 SENSE ELITE Electric Sauna Heater

GENERAL INFORMATION
Congratulations on your new sauna heater! Follow this user guide to get the most from your purchase. Wet and dry saunas are forms of bathing that originate way back in history. A hot sauna is best enjoyed at temperatures between 70-90°C.
PRIOR TO USE
The first time you use the heater
Fill the stone compartment
NB:
Always use dolerite stones (Tylö Sauna Stones)! “Ordinary” stones may damage the heater.
Do not use ceramic stones. Ceramic stones may damage the heater. The heater guarantee does not cover damage caused by ceramic stones.
Fill the stone compartment around the heating elements from the bottom to the top, to approx. 50 mm above the top front edge. Do not press the stones into place. Capacity: Approx. 20 kg of stones. Place the stones loosely to allow optimum air circulation. The tubular heating elements must not be squeezed together or against the side.
Sauna stones must:
- tolerate extreme heat and fluctuations caused by water being poured on them.
- be cleaned before use.
- must have an uneven surface, so that the water “clings” to the stone surface and evaporates efficiently.
- be between 30-60 mm in size to allow air circulation in the stone compartment. This will increase the life of the tubular elements.
NB:
Never place stones on top of the side air chambers. This way will obstruct air circulation, causing the unit to overheat and the cut-out switch to activate.
Filling the stone compartment
- Stone compartment
- Side chambers
Switch on the heater to remove any new paint odours
To remove “new paint odor” from the heater:
Heat the sauna up to approximately 90°C for about one hour. A little smoke may appear.
Default settings
Using the control panel for the first time:
See the instructions supplied with the control panel.
Prior to each use
Check the following Check that:
- there are no foreign objects in the sauna cabin, on or in the heater.
- the door and any windows to the sauna cabin are closed.
- that the sauna door opens outwards with a little pressure.
NB:
- DANGER! Anyone with a mental or physical disability or little experience or knowledge of how to use the equipment (e.g. children) must be instructed or supervised by someone responsible for their safety.
- DANGER! Touching the upper parts of the heater may cause burn injuries. Tylö recommends always using the heater screen.
- DANGER! Never allow children to play near the heater!
- DANGER! Saunas are not recommended for people in poor health. Please consult a doctor.
- DANGER! Fragrant essences and similar products may ignite if poured directly onto the stones.
- DANGER! Covering the heater may cause a fi re.
- CAUTION! Never use a hose in the sauna.
- NOTE! Do not use the sauna cabin for any purpose other than taking saunas.
Turn on the main power switch
The main power switch is at the bottom of the heater. Switch it on, if it is not already switched on (see Figure 2).
Positioning of the main power switch
Main power switch
WARNING!
- The sauna room or cabin is to be inspected before either restarting the timer or switching on the appliance by a separate remote-control system
- The sauna room or cabin is to be inspected before setting the appliance to standby mode for a delayed start
- The door of the sauna room or cabin is fitted with an interlock such that the standby mode setting for remote operation is disabled if the sauna door or cabin door is opened when the standby mode setting for remote operation is set
USE
Functions
Fragrance holder
DANGER!
Fragrant essences etc. may ignite if poured directly onto the stones.
To create a pleasant fragrance in the sauna, pour a few drops of Tylö Sauna Fragrance into the water in the fragrance holder. You can also mix a few drops of the sauna fragrance with water in a sauna bucket and pour the water on fully heated stones. Use a sauna ladle for pouring water on the hot stones.
Tylö Sauna Fragrance comes in diff erent variants and fragrances. Go to www.tylohelo.com to see the full range.
- Fragrance holder
- Air humidifier
Air humidifier
DANGER!
Do not pour water into the fragrance holder once it has been heated up, as this can cause boiling water to splash on the sauna occupants. Do not stand or sit in front of the heater while water is being poured into the fragrance holder, as hot water can spray out suddenly.
To maintain a comfortable basic level of humidity in the sauna, fi ll the built-in air humidifi er (see Fig. 3) with water before switching on the sauna.
AFTER USE
Switch off the main power switch.
The main power switch is at the bottom of the heater. Switch off here when the heater is not to be used for an extended period (e.g. several weeks).
Note:
Do not turn off the main switch while the sauna heater is in operation and heating, except if the shutdown is required due to a fault or emergency.
Location of the main power switch
MAINTENANCE
Cleaning the fragrance holder and air humidifier
Clean the fragrance holder and air humidifi er as required.
To clean the fragrance holder and air humidifier:
Remove the fragrance holder/air humidifi er and rinse them under running water.
Cleaning the fragrance holder and air humidifier
Check the stone compartment
Check the stone compartment at least once annually or as many times per year as the heater is used per week.
Example: If the unit is used 3 times a week, check the stone compartment 3 times per year.
WARNING!
If the stone compartment fills up with gravel and small stones, the tubular element can be damaged as a result of overheating, as air fl ow will be insufficient.
How to check the stone compartment:
- Remove all stones from the compartment.
- Remove any small stones, gravel, and limescale from the compartment.
- Put whole, undamaged stones back. Replace damaged stones with new ones as required.
TROUBLESHOOTING
The temperature cut-out
The heater’s temperature protection devices:
- PCB – The temperature cut-out on the PCB in the heater is designed to prevent components from being damaged by overheating. If the cut-out activates, an error code shows on the control panel display.
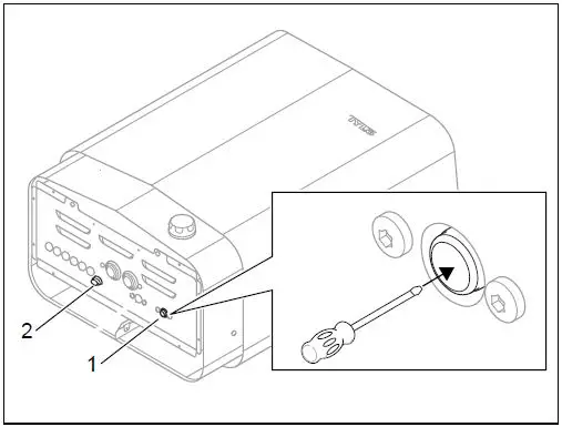
If the overheating cut-out has activated, the heater cannot be started again until the temperature has dropped down 20 degrees (ºC) on the PCB. - Heater – The temperature cut-out in the heater is there to protect the components, pipe elements, and woodwork in the sauna from overheating. There is a red reset button under the heater which must be pressed in (see Fig. 6). If the cut-out has been activated, the button will feel stiff and will ‘click’ when reset. If the cut-out has not been activated and after resetting, the button will feel springy.
Information!
When the overheating cut-out activates, always check the cause of the problem. The service life of the tubular elements and PCB can be adversely effected by each overheating. Recurring overheating can be an indication of the following: Ventilation defi cient? Room volume? Internal heater fault?
NOTE!
When the temperature cut-out (in the heater) is triggered due to excessively high operating temperature it can only be reset once the cut-out temperature has decreased by approximately 20°C. If the temperature cut-out instead is triggered due to the operating temperature being too low (ambient temperature below -10°C), the cut-out temperature must be increased before it can be reset.
Resetting the temperature cut-out
- Temperature cut-out sauna heater
- Glass fuse 10 Ampere
Troubleshooting the control panel
See the instructions supplied with the control panel.
Troubleshooting the sauna heater
Information!
Contact the dealer during the guarantee period in the event of faults.
See the instructions for the control panel for details of faults not covered in this user guide.
Troubleshooting the sauna heater
| Symptom | Possible cause | Remedy |
| The heater element in heater stone the compartment does not warm up. | 1. Temperature settings on the control panel do not correspond to the operating status. 2. Some of the heater fuses on the main switchboard can have tripped out. 3. Resistor coil in the heater element faulty? 4. Internal heater PCB fault? | 1. Set the temperature to correspond to the heater element operation in the stone compartment. 2. Check and replace/reset the fuses in the main switchboard. 3. An authorised electrician is required to find the fault. 4. An authorised electrician is required to find the fault. |
| Lights in the sauna do not come on when switched on at the control panel. | 1. Internal glass fuse in the heater faulty? 2. Is the lighting connected via the heater? 3. Internal heater PCB fault? | 1. Switch off at the main power switch on the heater and replace the glass fuse. See fig 6. 2. Verify with authorised electrician who performed the installation of the heater/lighting. 3. An authorised electrician is required to find the fault. |
| The heater does not work, the control panel does not light up. | 1. The main power switch is off? 2. Or all heater fuses on the main switchboard can have tripped out? 3. Loose contact in the cabling between the heater and control panel? 4. The specific 12VDC output on one of the PCB’s RS485 modular jack to the control panel is faulty due to short-circuit? 5. Transformer on PCB in the heater faulty? 6. Control panel faulty? 7. Internal temperature cut-out triggered? For more information, see the Temperature cut-out section. | 1. Turn the heater’s main power switch. 2. Check and replace/reset the fuses in the main switchboard. |
| The heater fuses/ ground fault inter- rupt device on the main switchboard trip as soon as the heater is turned on. | 1. There is a short circuit at the heater GND. Can be due to a faulty heater element? 2. Is Lighting connected to and controlled via the heater faulty? 3. The heater has not been used for a long period, causing an insulation fault in the heater element? 4. Heater had too much water poured on it? 5. another internal heater fault? | 1,2,3,4,5. Do not use the heater, switch off at the main heater main switchboard trip and disconnect heater fuses on the main switchboard. An authorised electrician is required to find the fault. |
SPARE PARTS LIST

- 9600 0243 / 6 kW, 9600 0242 / 8 kW, 9600 0288 / 10.5 kW Tubular element
- 9600 0729 Stone compartment
- 9600 0068 Circuit board
- 9600 0723 Terminal block
- 9600 0001 Temperature cut-out heater 6kW
- 9600 0008 Temperature cut-out heater 8kW
- 9600 0010 Temperature cut-out heater 10.5kW
- 9600 0554 Strain relief connector
- 9600 0040 Switch, Gottak
- 9600 0132 On/off dial
- 9600 0219 Temp. sensor
- 9600 0725 Grille
ROHS (RESTRICTION OF HAZARDOUS SUBSTANCES)
Instructions for environmental protection:
Do not dispose of this product with the domestic refuse when no longer in use. Take it to a recycling station for electrical and electronic equipment instead.
For further information, see the symbol on the product, manual or packaging.
The different materials can be recycled as specifi ed by their labeling. You can help protect the environment by recycling or reusing the spent appliances or the materials in them. Take the product to a recycling center without the sauna stones or the soapstone jacket (if fitted). Contact your local authorities for details of your nearest recycling center.
TIP!
If the sauna has a window in the door or wall, treat the whole lower molding with spar varnish and seal the joint between the glass and molding with wet room silicone to prevent any condensation on the glass surfaces from leaking into the joint. Varnish the threshold (if there is one) and door handles with two coats of spar varnish to maintain the wood’s finish and make it much easier to clean the sauna. Sauna benches, decorative screens, and backrests should be oiled on both sides with Tylö sauna oil.
NB: All other wood in the sauna should be untreated.
Please keep these instructions!
In the event of problems, please contact the retailer where you purchased the equipment.
© This publication may not be reproduced, in part or in whole, without the written permission of Tylö. Tylö reserves the right to make changes to materials, construction, and design.


















