TYLO 61001180 Sense Combi Pure Elite Electric Sauna Heater

Wet and dry saunas are forms of bathing which originate way back in history. A hot sauna is best enjoyed at temperatures between 70-90°C.
PRIOR TO USE
The first time you use the heater
Fill the stone compartment. Always use dolerite stones Ordinary stones may damage the heater. Do not use ceramic stones. Ceramic stones may damage the heater. The heater guarantee does not cover damage caused by ceramic stones. Fill the stone compartment around the heating elements from the bottom to the top, to approx. 50 mm above the top front edge. Do not press the stones into place. Capacity: Approx. 20 kg of stones. Place the stones loosely to allow optimum air circulation. The tu-bular heating elements must not be squeezed together or against the side. Sauna stones must tolerate extreme heat and fl uctuations caused by water being poured on them be cleaned before use must have an uneven surface, so that the water clings to the stone surface and evaporates efficiently be between 30-60 mm in size to allow air circulation in the stone compartment. This will increase the life of the tubular elements. Never place stones on top of the side air chambers. This way will obstruct air circulation, causing the unit to overheat and the cut out switch to activate.

Filling the stone compartment
- Stone compartment.
- Side chambers.
Switch on the heater to remove any new paint odours. To remove new paint odor from the heater: Heat the sauna up to approximately 90°C for about one hour. The water reservoir does not need to be working. A little smoke may appear.
Default settings
Using the control panel for the first time
Prior to each use
Check the following Check that there are no foreign objects in the sauna cabin, on or in the heater the door and any windows to the sauna cabin are closed that the sauna door opens outwards with a little pressure.
DANGER
Anyone with a mental or physical disabi-lity or little experience or knowledge of how to use the equipment e.g. children must be instructed or supervised by someone responsible for their safety. Touching the upper parts of the heater may cause burn injuries. Tylo recommends always using the heater screen. Never allow children to play near the heater. Saunas are not recommended for pe-ople in poor health. Please consult a doctor. Fragrant essences and similar pro-ducts may ignite, if poured directly onto the stones. Covering the heater may cause a fire.
CAUTION
Never use a hose in the sauna.
NOTE
Do not use the sauna cabin for any purpose other than taking saunas.
Turn on the main power switch
The main power switch is at the bottom of heatrer Switch it on, if it is not already switched on .

Positioning of the main power switch
The sauna room or cabin is to be inspected before either restarting the timer or by switching on the appliance by a separate remote control system. The sauna room or cabin is to be inspected before setting the appliance to a standby mode for a delayed start. The door of the sauna room or cabin is fitted with an interlock such that the stand-by mode setting for re-mote operation is disabled if the sauna door or cabin door is opened when the stand-by mode setting for remote operation is set.
USE
The control panel in general
Water reservoir
The sauna heater works with and without water in the tank. When the water reservoir is in use, max. two out of three heater elements in the stone compartment will be working. The heater switches automatically between the reservoir and stone compart-ment, depending on which setting/prioritisation has been set on the control panel.
Filling the water reservoir
Before starting the heater, fi ll the water reservoir by carefully pouring tap water through the herb grill.
Never use salt water can damage the heater element in the reservoir. It can also cause a build up of foam which causes the level sensor to detect a higher water level than actual, and the heater ele-ments can break. When filling without the herb grille, you risk overfi l-ling the tank due the electronics response time.
- An empty reservoir is shown by two empty drop symbols on the Elite control panel display. Pure control panel shows a flashing drop symbol when the heater is operating). If the reservoir is empty when activating the main switch, three pulsing audio signals will sound.
- When the water level reaches the level sensor Mid, a fi lled drop symbols will shown on the Elite control panel display. Pure control panel shows an unlit drop symbol). The heater element in the reservoir can be started.
- When the water level reaches the upper level sensor, two filled-in drop symbols will show on the Elite control panel display (Pure control panel shows unlit water drop. A continuous audio signal will also sound for approx.: 2 secs, indicating that the water level in the tank is full in case you do not check the control panel display during filling.
- Do not add more water after the audio signal to avoid the water boiling over and out of the reservoir.
Water reservoir in operation
- When in use and if the water level drops below the upper level sensor, it will continue to operate as normal but a single filled in drop symbol will show on the Elite control panel display.
- Pure control panel shows unlit water drop). Water can be added, and a steady audio signal will sound when the water level reaches full.
- When in use and if the water level drops below the level sensor Mid, three pulsing audio signals will sound and two empty drop symbols will show on the Elite control panel display.
- Pure control panel shows a flashing water drop when the heater is operating. This indicates that there is insufficient water in the reservoir, and the heater element will automatically switch off.
Other functions
Fragrance holder
DANGER
Never put fragrances in the herb bowl or water reservoir. Fragrant essences etc. may ignite if poured directly onto the stones.
To create a pleasant fragrance in the sauna, pour a few drops of Tylo Sauna Fragrance into the water in the fragrance holder. You can also mix a few drops of the sauna fragrance with water in a sauna bucket and pour the water on fully heated stones. Use a sauna ladle for pouring water on the hot stones. Pour max. 1-2 ladles of water at a time, and then wait until the stones have regained sufficient heat before pouring fresh water on the stones again. Tylo Sauna Fragrance comes in diff erent variants and fragrances. Go to www.tylohelo.com to see the full range.

- Herb bowl
- Air humidifier
- Fragrance holder
Herb bowl
A fragrant, refreshing herbal sauna can be created with fresh or dried herbs or spices. Enjoy pleasant herbal fragrances in a steamy tropical climate. To create a fragrant sauna using fresh or dried herbs, put the herbs in the herb bowl.
TIP
Try different combinations, such as birch, lavender, mint, spices, tea bags and other exciting fragrances.
Air humidifier
WARNING
Do not confuse the instructions for the air humidifi er with those for the water reservoir.
DANGER
Do not pour water into the fragrance holder once it has been heated up, as this can cause boiling water to splash on the sauna occupants. Do not stand or sit in front of the heater while water is being poured into the fragrance holder, as hot water can spray out suddenly. To maintain a comfortable basic level of humidity in the sauna, fill the built in air humidifi er with water before switching on the sauna.
AFTER USE
Empty the reservoir
DANGER
Hot water.Wait until the water has cooled before completing this step.
To prevent the build up of limescale and higher salt/mineral levels, empty the reservoir after each bath. If this is not done and water is added each time you take a sauna, foam build up can occur which can cause the level sensor to detect a higher water level than actual, with a risk that the heater element will break.
- Slacken the hose from the hose clip switch off the heater.
- Hold the hose up and remove the plug.
- Lower the hose into a suitable container and drain off the remaining water.
- Hang the hose on the hose clip.
Emptying the water reservoir switch off the heater
Switch off main power switch
The heater’s memory function will be cancelled if disconnected from the mains for more than 7 days. The date and time will have to be reprogrammed. The main power switch is at the bottom of the heater. Switch off here when the heater is not to be used for an extended period e.g. several weeks.
Note
Do not turn off the main switch while the sauna heater is in operation and heating, except if shutdown is required due to a fault or emergency.

MAINTENANCE
| After each use | As required | Once annually |
| Empty the water reservoir. | Descale the water reservoir. | Check the stone compartment. |
| Clean the herb bowl and fragrance holder. | ||
| Clean the electrodes using a cloth or similar. |

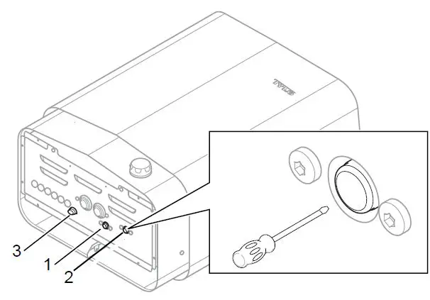
- A. White electrode: GND
- B. Red electrode: Water level sensor Mid
- C. Black electrode: Water level sensor High
Note
The electrode pins must not have fat deposits or other deposits on them. The electrode pins must not touch each other or touch the interior walls of the level pipe. This can cause an error code or im-pact the water level.
Descaling the water reservoir
Descale the water reservoir as required using Tylo Solvent desca-ling agent.
How to descale
- Remove the herb grille from the herb bowl.
- Start the steam function and run until the water boils.
- Switch off the heater, and wait for about 5 minutes.
- Mix 1 bag (80 g) Tylo Solvent descaling agent with 4 dl of water or use 1 dl Tylo Descaler Domestic/Pro and pour into the water inlet.
- Leave the descaling agent to work for 1 hour, empty the reservoir and rinse thoroughly.
- If necessary, repeat the procedure several times until all limescale has been removed.
Cleaning the fragrance holder/air humidifier and herb bowl
To clean the fragrance holder/air humidifi er and herb bowl: Lift out the fragrance holder/air humidifi er and herb bowl and rinse them under running water.

Check the stone compartment
Check the stone compartment at least once annually or as many times per year as the heater is used per week. Example: If the unit is used 3 times a week, check the stone compartment 3 times per year.
How to check the stone compartment
- Remove all stones from the compartment.
- Remove any small stones, gravel and limescale from the compartment.
- Put whole, undamaged stones back.
- Replace damaged sto-nes with new ones as required.
WARNING
If the stone compartment fills up with gravel and small stones, the tubular element can be damaged as a result of overheating, as air fl ow will be insufficient.
TROUBLESHOOTING
The temperature cut out
The heater’s temperature protection devices:
PCB
The temperature cut-out on the PCB in the heater is designed to prevent components being damaged by overheating. If the cut-out activates, an error code shows Combi Pure error code only on the control panel display. If the overheating cut-out has activated, the heater cannot be started again until the temperature has dropped down 20 degrees (ºC) on the PCB. Water reservoir. The temperature cut-out in the reservoir is designed to protect the heater element from boiling dry. There is a red reset button under the heater which must be pressed in. If the cut-out has activated, the button will feel stiff and will ‘click’ when reset. If the cut-out has not activated and after resetting, the button will feel springy.
Heater
The temperature cut-out in the heater is there to protect the components, pipe elements and woodwork in the sauna from overheating. There is a red reset button under the heater which must be pressed in. If the cut out has activated, the button will feel stiff and will click when reset. If the cut out has not activated and after resetting, the button will feel springy.
Information
When the overheating cut-out activates, always check the cause of the problem. The service life of the tubular elements and PCB can be adversely eff ected by each overheating. Recurring over-heating can be an indication of the following: Ventilation defi cient? Room volume? Internal heater fault? Water reservoir not properly cleaned? When the temperature cut out in the heater or water tank is triggered due to excessively high operating temperature it can only be reset once the cut-out temperature has decreased approximately 20°C. If the temperature cut-out instead is triggered due to the operating temperature being too low ambient temperature below -10°C the cut-out tempe-rature must be increased before it can be reset.

- Temperature cut-out water reservoir.
- Temperature cut out sauna heater.
- Glass fuse 1 Ampere.
Troubleshooting the sauna heater
Contact the dealer during the guarantee period in the event of faults.
| Symptom | Possible cause | Remedy |
| Heater is on but does not create steam. Water boils in reservoir. | Water level incorrect (minimum water level to the water level sensor Mid is required? Humidity settings on control panel do not corres- pond to operating status? Water reservoir temperature cut-out activated? Heater element in reservoir faulty? If the sauna structure has deficient ventilation in conjunction with dry sauna and high sauna tem- perature operating with no water in reservoir, the temperature cut-out can activate because of higher radiating temperature in the heater. | Fill up reservoir. Set humidity to correspond to reservoir operation – read control panel manual. Reset temperature cut-out. For more information, see the section on temperature cut-out. If the steam function does not work after reset, there is a risk of the reservoir being damaged. An authorised electrician is required to find the fault. Check for possible deficient ventilation. |
| Heater element in heater stone compartment does not warm up. | Temperature settings on control panel do not cor- respond to operating status? Water reservoir in operation? Only two of the three heater elements in the stone compart- ment can operate at the same time as the tank, otherwise excessive current is drawn from the electricity supply. This is not a fault outside nor- mal operation. Some of the heater fuses on the main switchbo- ard can have tripped out? Heater element faulty? Internal heater PCB fault? | Set temperature to correspond to heater element operation in stone compartment. Instructions supplied with the control panel. Check and replace/reset the fuses in the main switchboard. An authorised electrician is required to find the fault. An authorised electrician is required to find the fault. |
| Lights in the sauna do not come on when switched on at the control panel. | Internal glass fuse in heater faulty? Is lighting connected via the heater? Internal heater PCB fault? | Switch off at main power switch on heater and replace glass fuse. Verify with authorised electrician who performed installation of heater/lighting. An authorised electrician is required to find the fault. |
| Heater does not work, control panel does not light up. | The main power switch is off? Or all heater fuses on the main switchboard can have tripped out? Loose contact in cabling between heater and control panel? The specific 12VDC output on one of the PCB’s RS485 modular jack to the control panel is faulty due to short-circuit? Transformer on PCB in heater faulty? Control panel faulty Internal temperature cut-out triggered? For more information, see the Temperature cut out section. | Turn heater main power switch. Check and replace/reset the fuses in the main switchboard. Switch off heater main power switch and connect each/paired cable to the control panel. Switch on heater main power switch again. If this does not help, an authorised electrician is required to find the fault. Requires an authorised electrician to find the fault, faulty 12VDC output is indicated by LED out next to the RS485 output. NB: if the fault is in the RJ10 cable to the control panel, do not click into a working vacant RS485 outlet to avoid causing a fault in that outlet. RJ10 cable must be replaced/ contacts fitted in the event of a fault. An authorised electrician is required to find the fault. An authorised electrician is required to find the fault. Reset the heater temperature cut out. |
| The heater fuses/ ground fault interrupt device on the main switchboard trip as soon as the heater is turned on. | There is a short-circuit at the heater GND. Can be due to a faulty heater element? Lighting connected to and controlled via the heater faulty? The heater has not been used for a long period, causing an insulation fault in the heater element? Heater has had too much water poured on it? Other internal heater fault? | Do not use the heater, switch off at main heater main switchboard trip and disconnect heater fuses on the main switchboard. An authorised electrician is required to find the fault. |
SPARE PARTS LIST

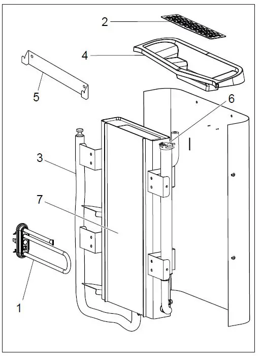
- 9600 0243 / 6 kW, 9600 0242 / 8 kW, 9600 0288 / 10.5 kW Tubular element
- 9600 0729 Stone compartment
- 9600 0068 Circuit board
- 9600 0723 Terminal block
- 9600 0002 Temperature cut out water tank (6/8/10.5kW)
- 9600 0001 Temperature cut out heater 6kW 9600 0008 Temperature cut-out heater 8kW 9600 0010 Temperature cut-out heater 10.5kW
- 9600 0554 Strain relief connector
- 9600 0040 Switch, Gottak
- 9600 0132 On/off dial
- 9600 0219 Temp.sensor Combi Pure
- 9600 0074 Humidity and temperature sensor Combi Elite
- 9600 0725 Grille
TIP
If the sauna has a window in the door or wall, treat the whole lower moulding with spar varnish and seal the joint between the glass and moulding with wet room silicone to prevent any condensation on the glass surfaces from leaking into the joint.Varnish the threshold if there is one and door handles with two coats of spar varnish to maintain the wood’s fi nish and make it much easier to clean the sauna. Sauna benches, decorative screens and back rests should be oiled on both sides with Tylö sauna oil. All other wood in the sauna should be untreated. Please keep these instructions. In the event of problems, please contact the retailer where you purchased the equipment. This publication many not be reproduced, in part or in whole, without the written permission of Tylo. Tylo reserves the right to make changes to materials, construction and design. In the event of problems, please contact the retailer where you purchased the equipment. This publication many not be reproduced, in part or in whole, without the written permission of Tylö. Tylo reserves the right to make changes to materials, construction and design.
- 9600 0223 / Pure, 9600 0286 / Elite Tubular element
- 9600 0730 Herb bowl
- 9600 0731 Hose with plug
- 9600 0732 Filler grille
- 9600 0733 Wall bracket
- 9600 0734 Electrodes
- 9600 0218 Water reservoir
ROHS RESTRICTION OF HAZARDOUS SUBSTANCES
Instructions for environmental protection
Do not dispose of this product with the domestic refuse when no longer in use. Take it to a recycling station for electrical and electronic equipment instead. The different materials can be recycled as specifi ed by their labelling. You can help protect the environment by recycling or reusing the spent appliances or the materials in them. Take the product to a recycling centre without the sauna stones or the soapstone jacket if fitted. Contact your local authorities for details of your nearest recycling centre.


















