User Manual
TOOLS LL1545 Log Lock
Due to continuing improvements, actual product may differ slightly from the product described herein.
About Your Product
Thank you for purchasing our Log Lock clamping fixture!
Lumberjack engineers, along with our craftsmen, have designed the safest, easiest to‐use clamping fixture on the market. By combining old‐ world skills with modern design and manufacturing techniques, we have greatly reduced issues with log slippage while cutting tenons.
Once properly secured and set up, the Log Lock will hold logs and other timbers in place with ease. The newly designed ladder feature and fast release allows the top securing plate to be quickly adjusted to different timber diameters. The fixture plates are laser cut from structural steel and folded in a press brake to ensure proper clamping in every use.

Our lifetime guarantee covers the fixture body. The nuts, bolts, washers and screw handle are covered for 90 days from the date of purchase for breakage under normal working conditions. Side loading the fixture could cause failure to occur in the bolts. Over tightening of the top plate may bend the bolts or top plate as a result. This is valid only to the original buyer, and not for the tools sold secondhand, used, or sold “as is” to a second party.
What Voids Warranty
In order to keep our lifetime and 90 day warranty you must AVOID the following actions:
- Side loading the fixture
- Over tightening the screw handle
- Altering or misusing the tool
- Unsupported log overhang of 24” or more
SAFETY
Before beginning any project, carefully read and follow ALL safety and operational instructions for any tools or devices you will be using. Failure to do so may cause physical harm to yourself or those around you. STOP immediately if you feel uncomfortable using power tools while using our clamp. Lumberjack Tools assumes no responsibility for injury caused to the operator, bystander, or tools used in conjunction with the use or misuse of our Log Lock fixture.
![]() | NEVER OPERATE POWER TOOLS UNDER THE INFLUENCE OF DRUGS, ALCOHOL OR ANY MEDICATIONS |
![]() | WEAR SAFETY GLASSES, DUST MASK, AND OTHER PERSONAL PROTECTION ITEMS AS REQUIRED |
![]() | DO NOT WEAR LOOSE ITEMS THAT COULD POTENTIALLY BE CAUGHT IN MOVING PARTS AND KEEP LONG HAIR AWAY FROM |
![]() | KEEP ALL THREADED AND MOVING PARTS CLEAN OF DUST AND DEBRIS |
![]() | DO NOT PLACE ANY BODY PARTS INSIDE OF THE DEVICE WHILE TIGHTENING |
![]() | NEVER USE FIXTURE WHEN NOT BOLTED TO A STABLE, SECURE SURFACE |
What’s Included

Required Tools
Note: Images not to scale
| Allen Wrench | Socket | Crescent Wrench |
| ● 1/16” | ● 7/16” ● 9/16” |
Assembly
Build your Log Lock from “the ground up”. DO NOT screw down the fixture base until all parts are assembled.
Parts Needed:
- Fixture Bottom
- Fixture Ladder
- 3/8” x 1” Bolts
- 3/8” Nuts
- 3/8” Washers
Tools Needed:
- Crescent Wrench
- 9/16” Socket

- Secure the ladder to base
– Use the 3/8” bolts, nuts, and washers

- Secure the top to ladder
– Use the 1/4” bolt, nut & washers
– DO NOT overtighten!
– Hand tighten, the loosen nut one full turn - Secure the #6 x 3/8” screws and nuts to the fixture top
Parts Needed:
- Fixture Top
- 1/4” x 3-¾” Bolt
- 1/4” Nut
- 1/4” Washers
- #6 x 3/8” Screws
- #6 x 3/8” Lock Nuts
Tools Needed:
- Crescent Wrench
- 1/16” Allen Wrench
- 7/16” Socket


Parts Needed:
- 1/2” x 6” Bolt
- 1/2” Jam Nut
- 1/2” Washers
- Spring
- Screw Handle
- Slide the 1/2” x 6” bolt through the slot in the bottom plate
– Slide a 1/2” washer down the bolt followed by the spring and 1/2” nut
– Tighten the nut until it begins to compress the spring
– DO NOT fully compress the spring (About 7 full turns of nut from first contact with spring)
– Add the second washer and screw handle to the top

Mount the fixture so that the stationary base is either flush with he workbench or 1” behind the edge of the workbench.
- Use four screws or nuts & bolts to secure the four holes to the workbench
- Make sure the workbench is flat and level
- Ensure the workbench is firmly secured and stable


*Some parts hidden for clarity
Parts Needed:
- Wood Screws not Included
Positioning a Log
How the log is placed in the clamp will determine how well the log will remain staitionary while cutting and drilling. The more surface area of the log that comes into contact with the clamp, the more likely the log will remain secured.
- Some logs will be twisted and knotty making them difficult to secure
- Clamp difficult logs in an area with the fewest bends or obstructions


- Other timbers will be relatively straight and free of knots making them easy to secure
Clamping Pressure
Proper clamping pressure is very important when doing any type of woodworking project. If the clamp is too tight, there is a risk of damaging the clamp and the wood. If the clamp is too loose, the wood will not be secure and will spin.
- When contact is first felt on the wood, tighten the handle with one complete turn. If the log can still be spun by hand, continue tightening the handle in half-turn increments until the wood is secured.
If you notice the log start to wobble or looks like it may spin loose stop your current actions.
- Make sure the fixture is tight on the log
- Reposition the log so that it is more stable
- Try readjusting the ladder to better fit the log
- Avoid clamping on knots and uneven points on log
Improper Clamping

- Never have the top plate positioned with the handle end lower than the ladder end
- The handle end of the clamp plate should always be higher than the ladder end of the clamp plate
Ladder Adjustment
- It is VERY IMPORTANT to always have the top plate securely locked into the ladder “rungs” on both sides (front and back)

- Never operate clamp when top plate is not located completely in ladder “rungs”

Ladder Settings
Correct (Maximum Capacity)
- 4 ½” is the largest sized log this clamp can handle
- Lock the top plate into the highest section of the ladder
- As the handle begins to feel snug complete one full turn

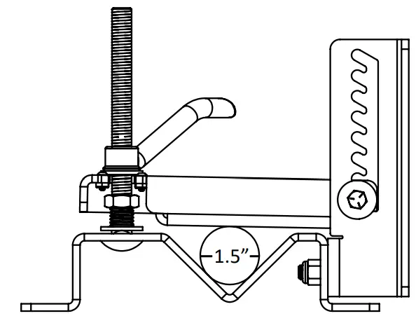
Correct (Minimum Capacity)
- 1 ½” is the smallest diameter that will fit securely
- Lock the top plate into the lowest section of the ladder
- As the handle begins to feel snug complete one full turn

Handle Slide

- The handle slide makes clamping and unclamping quick & easy
- Simply slide the handle in the slot to avoid fully unscrewing the handle to lift the top
Log Overhang

Rear Support
- When clamping logs over 24” long, we strongly recommend using a support to keep the back of the log level
- An unsupported log may damage the Log Lock and/or the surface the Log Lock is mounted on

Additional Tips
- It takes time to master using these tools
- Make a plan of what you want to build before you begin
- Have a list of all tools and materials you will need
- Do not over complicate your first few projects
- Practice reading the natural twists and defects in the wood
- Practice clamping different types of logs
Maintenance
Always clean your Log Lock after each use. If you are unable to clean your Log Lock after each use, clean the fixture on a monthly basis to maintain regular, safe function.
- Fixture
– Cleaning- Keep the fixture body clean of sap, sawdust and other debris
- Clean the fixture with a solvent (such as mineral spirits)
- Failure to clean could lead to log spin during next use
- Fasteners
– Inspection- Check for visible thread damage
- Do any of the bolts appear bent or deformed?
- Replace any damage nut, bolt or washer to reduce risk of damage- Oiling
- Apply oil to the hinge bolt & screw handle on a monthly basis
- Mounting
– Inspection- Make sure the screws securing the fixture to the workbench are still holding properly
- Remove any debris between the workbench and fixture
- Is the workbench still level and stable?
- Replace any broken screws
- Tighten any loose screws
| TASK | EACH USE | MONTHLY |
| Clean “V” trough | X | |
| Inspect bolts | X | |
| Inspect spring | X | |
| Inspect mounting lag screws | X | |
| Oil hinge & screw handle | X |
Troubleshooting
| PROBLEM | CAUSE | SOLUTION |
| Log or timber spins inside clamp | •Clamp is not applying enough pressure | •Tighten handle until log is secured |
| •Top not oriented properly over log properly fit | •Adjust top in ladder to •Re-orient the log if needed | |
| Wobbling or vibrating log in fixture | •Log sticking out too far from clamp | •Position log with no more than 7″ to 10″ of overhang |
| •Fixture loose on base | •Re-tighten screws securing base | |
| •Workbench not stable | •Move fixture to more stable workbench | |
| Thread damage on carriage bolt | •Over-tightening the fixture | •Replace the damaged bolt and do not over tighten |
| %” bolt bent | •Over-tightening the fixture •Uneven clamping (knots, etc.) | •Replace the damaged bolt and do not over tighten |
| •Top not staying locked into ladder | •Top not oriented over log properly | •Adjust top so that the handle end is higher than the ladder end |
| •Log orientation making it difficult to secure | •Re-orient the log and adjust the top as needed |
Unexpected Occurrences
Engineers and Quality Control staff at Lumberjack Tools have provided you with one of the easiest to use and safest timber clamping devices on the market. However, there is always the unexpected chance of failure.
- Please contact our customer support for a replacement if a failure ever occurs in the top plate, bottom plate, or ladder.
Thank you again for purchasing our tools!
3210 Hogarth St., Eau Claire, WI 54703 • 715-514-0319
www.lumberjacktools.com
Due to continuing improvements, actual product may differ slightly from the product described herein.

All Rights Reserved.
© 2022 Lumberjack Tools Inc.
3210 Hogarth Street, Eau Claire, WI 54703
www.lumberjacktools.com
Email: [email protected]
Phone: 715-514-0319
MODEL: LL1545
MODEL: LL1545HD




















