SINCE 1914
CB5002 Communication Board
SUPPLEMENTAL INSTRUCTIONS
CB5002 Installation
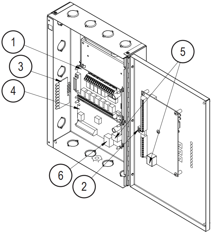
- Mount CB5002 communication board.
- Connect RJ ports with RJ cable (supplied).
- Connect Ethernet cable from CB5002 port to computer using Cat 5 or Cat 6 Ethernet cable (field supplied).
- Refer to MC4002/MV5000/DC3000 Installation Instructions for additional wiring instructions.
CB5000 Series communication boards use user name “Admin” and password “Bard” as the defaults. This default password can only be used to first establish communication with the controller. Upon using this password to login, the controller will navigate to users screen and prompt user to input new username and password. The password cannot be set to the default “Bard”.
MIS-2994A
- Alarm board location
- Plug for ribbon cable from alarm board
- Display card for alarm board location
- CB5002 communication board location
- RJ ports
- Cat 5 or Cat 6 Ethernet port
SINCE 1914
Climate Control Solutions
Bard Manufacturing Company, Inc.
Bryan, Ohio 43506
www.bardhvac.com
Manual: 7960-740C
Supersedes: 7960-740B
Date: 1-27-22


















