Bard CB5001 Communication Board Installation Instructions
CB5001 Installation
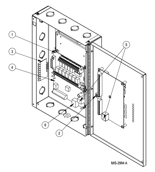
- Mount CB5001 communication board.
- Connect RJ ports with RJ cable (supplied).
- Connect Ethernet cable from CB5001 port to computer using Cat 5 or Cat 6 Ethernet cable (field supplied).
- Refer to MC4002/MV5000/DC3000 Installation Instructions for additional wiring instructions.


Bard Manufacturing Company, Inc.
Bryan, Ohio 43506
Manual: 7960-740A
Supersedes: 7960-740
Date: 4-1-21


















